Сергей и Виктор Гуляевы - Пятидневка. Календарь нового времени стр 4.

Книгу можно купить на ЛитРес.
Всего за 72 руб. Купить полную версию
Шрифт
Фон

Ежедневник нужен для работы с ресурсами.

Так как слово есть сплоченное составное действие, сжатое в форму и смысл слова. Работа со словами  это работа с действиями.


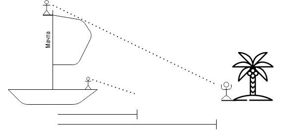
Образ будущего  Мечта,мачта, матица  основа видения нашего продвижения.



Мечта может определить наш курс за горизонт. Видеть в даль, нести в даль  вот задача мечты.

Объём дальнейших действий можно описать временем и пространством: «в пяти минутах», «в десяти километрах». Временная, пространственная и событийная удаленность.

Умение видеть в даль, прокладывать путь и достигать намеченного  вот задача для обмена ресурсами.


Умение вести течение своей жизни измеримо. В днях или площадях. Или в градусах обращения Земли вокруг Солнца.

1 день = 1 градусу (шагу) годового цикла


Умение менять курс (держать курс) вашего корабля так же измеряется в градусах (ступенях).

5 дней  5°
45 дней  45°
90 дней  90°

Чем объемнее сознание человека, тем большим охватом он действует во всех трех сферах:



Сознание  совместное (современное) знание.

Один не может находиться в со-знании сам по себе. Он может быть в со-знании с кем-то: с миром, с природой, с камнем, с деревом, с другим человеком, с тетеревом, с людьми и так далее.

Со-знание  это связь, образованная в поле внимания волевым усилием.

Чем сосредоточеннее внимание, тем сосредоточеннее сознание. Отъём внимания отнимает волю.

Запомните: работа с ресурсами требует воли.

Воля всегда за полем свободы. Она подготавливается на свободе, но проявляется за её границами. Упражнять волю можно за пределами свободных проявлений.

Заужение смыслов

Ваша оценка очень важна

0

Дальше читают

Шрифт
Фон

Помогите Вашим друзьям узнать о библиотеке

Скачать книгу

Если нет возможности читать онлайн, скачайте книгу файлом для электронной книжки и читайте офлайн.

fb2.zip txt txt.zip rtf.zip a4.pdf a6.pdf mobi.prc epub ios.epub fb3