Борис Колесников - «Плавающие» эластомерно-металлические уплотнения (для РК СШГЭС)

Шрифт
Фон

«Плавающие» эластомерно-металлические уплотнения (для РК СШГЭС)


Борис Колесников

© Борис Колесников, 2022



Борис Колесников


«Плавающие» эластомерно-металлические уплотнения

для рабочих колёс гидротурбин Саяно-Шушенской ГЭС


2022


Б. Колесников


БИОГРАФИЯ

СОСТАВИТЕЛЬ  Колесников Борис Иванович, гражданин Германии, родился 9 апреля 1938 года в г. Катта-Кургане Самаркандской области, Республика Узбекистан. Родители  Иван да Марья.

Образование- высшее: в 1964 г.. закончил Московский Энергетический институт им. Молотова, Энергомашиностроительный факультет по специальности «Гидравлические турбины и другие гидравлические машины»

Первая запись в трудовой книжке (1959 г.): слесарь по монтажу гидросилового оборудования; последняя (1997 г.)  директор ООО «Водмаш».

В 1970 г. награждён правительством Демократической республики Вьетнам медалью «Дружба» за участие в строительстве ГЭС Тхак-Ба.

Автор четырёх книг. Кроме того, в Интернете опубликовано несколько статей на общеполитические и технические темы (см. сайт «БИКОЛ В ИНТЕРНЕТЕ»). Имет около 50 изобретений в области гидромашиностроения.

«Отсидент»: отбыл два года ссылки (19831985 гг.) под надзором комендатуры г. Джизака (Узбекистан) по приговору суда за нарушение правил техники безопасности (несчастный случай со смертельным исходом). В 1985 г. преднамеренно ошибочный приговор суда был опротестован Генеральной Прокуратурой СССР протестом 12/422083 от 5.07.85. Кроме того, Узсовпроф своим письмом 02-11-06/1512 от 27.09. 85 сообщил, что «т. Колесниковым Б. И. не были допущены нарушения нормативных актов об охране труда».

В 1997 г. переехал из Узбекистана в Германию на постоянное место жительства.

C апреля 2018 года инвалид 2-й группы (после инсульта).


Ключевые слова и рисунки:

САЯНО-ШУШЕНСКАЯ ГЭС, ГИДРОАГРЕГАТ 2, АВАРИЯ, УПЛОТНЕНИЯ РАБОЧЕГО КОЛЕСА, ЗАКЛИНИВАНИЕ Р.К.



ВВЕДЕНИЕ


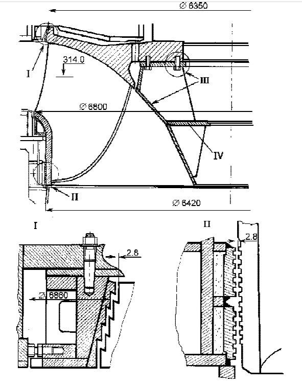
Из технической литературы [1] извкстно, что с целью обеспечения и поддержания в заданных пределах значений объёмного к. п. д., (путём минимизации непроизводительных протечек воды из спиральной камеры в полости низкого давления (над и под рабочим колесом) через зазоры между подвижными и неподвижными кольцевыми деталями гидротурбины) рабочие колёса гидротурбин Саяно-Шушенской ГЭС снабжены верхним и нижним лабиринтными уплотнениями, рис. 1.


Рис.1. I  верхнее лабиринтное уплотнение; II  нижнее лабиринтное уплотнение;


В доаварийных гидротурбинах СШГЭС неподвижное кольцо нижнего лабиринта выполнено несъёмным. Поэтому, в условиях электростанции восстановление подвижного и неподвижного колец до заводских размеров оказалось невыполнимым, в связи с чем ряд агрегатов работало с увеличенными зазорами в нижних лабиринтных уплотнениях» [1].



Во вновь поставляемых после аварии гидротурбинах неподвижное кольцо нижнего лабиринта также выполнено несъёмным, что не отвечает современным требованиям стандарта

Ваша оценка очень важна

0
Шрифт
Фон

Помогите Вашим друзьям узнать о библиотеке

Скачать книгу

Если нет возможности читать онлайн, скачайте книгу файлом для электронной книжки и читайте офлайн.

fb2.zip txt txt.zip rtf.zip a4.pdf a6.pdf mobi.prc epub ios.epub fb3