Всего за 79.9 руб. Купить полную версию
В зависимости от способа подвода масла в циркуляционных системах различают подачу смазки под давлением и путем разбрызгивания. В современных системах смазки двигателей используются оба варианта подвода масла, поэтому их называют комбинированными. Под давлением смазываются коренные и шатунные подшипники коленчатого вала, подшипники распределительного вала, вала турбокомпрессора, оси коромысел привода клапанов, сопряжения шатунов с поршневыми пальцами и др. В некоторых конструкциях для улучшения смазки организуется принудительный впрыск масла на зеркало цилиндра, а также на внутреннюю поверхность днища поршня с целью его охлаждения. Подвод масла под давлением организуется также в охлаждаемых циркулирующим маслом поршнях, к поршням с изменяемой степенью сжатия, гидравлическим толкателям клапанов, механизмам изменения фаз газораспределения и к другим исполнительным механизмам. Остальные подвижные детали двигателя смазываются путем разбрызгивания – каплями, образующимися при вытекании масла из подшипников коленчатого вала и других сопряжений. При этом распределение разбрызгиваемого масла в значительной степени связано с компоновкой двигателя.
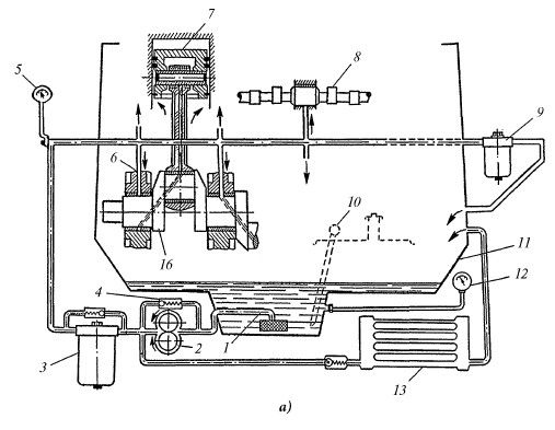
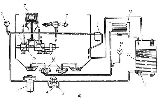
В зависимости от места размещения основного запаса масла различают системы смазки с мокрым (рис. 3.2.17, а) и сухим (рис. 3.2.17, б) картером.
В автомобильных двигателях наиболее распространены системы смазки с мокрым картером, которые имеют более простую конструкцию. В этом случае основной запас масла находится в поддоне картера и при работе двигателя масло подается к трущимся деталям масляным насосом.
В системах с сухим картером основной запас масла содержится в автономном масляном баке и масло подается к трущимся деталям нагнетающим масляным насосом. Стекающее в поддон масло полностью удаляется из него откачивающим насосом и вновь подается в масляный бак.
Система смазки с сухим картером обеспечивает длительную работу на крутых подъемах, спусках и при кренах без утечки масла через сальники коленчатого вала, а также дает возможность снизить высоту двигателя. Отсутствие запаса масла в зоне вращения коленчатого вала исключает возможность его забрасывания на стенки цилиндров, что положительно влияет на снижение эксплуатационного расхода смазки.
Кроме того, при сухом картере масло в меньшей степени нагревается от горячих деталей и подвергается воздействию картерных газов, благодаря чему сохраняет свои физико-химические свойства в течение более длительного времени, чем в системах с мокрым картером.
В основу большинства систем смазки положен один и тот же принцип. Масло из картера 11 (или бака 14) нагнетающим насосом 2 через полнопоточный фильтр 3 подается в масляную магистраль. Давление в ней контролируется манометром 5. Из масляной магистрали масло подается к шейкам коленчатого вала 16 (в некоторых вариантах к одной шейке, а к остальным по внутренним каналам коленвала), распределительного вала 8 и к другим парам трения. Слив избытка масла из магистрали осуществляется через фильтр 9. Контроль температуры масла осуществляется термометром 12 , охлаждение – с помощью радиатора 13. Уровень масла контролируется мерным щупом 10. Для откачки масла в системах с сухим картером используются насосы 75. В качестве насосов в системах смазки, как правило, используются шестеренчатые насосы (прямозубые или косозубые) с шестернями внешнего или внутреннего зацепления.


Рис. 3.2.17. Схемы систем смазки:
а – с мокрым картером; б – с сухим картером; 1 - маслоприемник,
2 – нагнетающий насос, 3, 9 - фильтры, 4 - редукционный клапан, 5 – манометр, 6 - подвод масла к коленчатому валу, 7 – поршень, 8 – распределительный вал, 10 – щуп, 11 – картер, 12 - указатель температуры, 13 - радиатор, 14 – бак, 15 - откачивающий насос, 16 – коленчатый вал
Производительность масляного насоса и создаваемое давление в значительной мере зависят от вязкости масла и частоты вращения вала двигателя, которая изменяется в широких пределах. Кроме того, в процессе эксплуатации сопряженные детали двигателя изнашиваются, что приводит к увеличению зазоров между ними и к повышению количества прокачиваемого масла. Чтобы обеспечить бесперебойную подачу масла ко всем трущимся деталям при неблагоприятном сочетании указанных факторов, расчетную производительность масляного насоса увеличивают, а для поддержания требуемого давления в магистрали вводят регулятор, называемый редукционным клапаном.
Редукционные клапаны могут устанавливаться в корпусе насоса на входе в главную масляную магистраль или в конце масляной магистрали. Установка редукционного клапана в корпусе насоса исключает возможность резкого повышения давления на входе в магистраль. Однако в этом случае давление в конце магистрали, под которым смазываются подшипники, может значительно колебаться при изменении гидравлического сопротивления системы и расхода масла. В связи с этим в некоторых системах устанавливают два редукционных клапана – в начале и в конце магистрали. Кроме редукционных в системах смазки могут устанавливаться нагнетательные, впускные, обратные и перепускные клапаны.
Давление масла в системах смазки ДВС различных типов и назначения находится в пределах от 0,2 до 1,5 мПа. Большие значения относятся к быстроходным форсированным двигателям.
Производительность используемого в системе смазки насоса должна обеспечивать расход масла 13–68 л/кВт-ч. Наибольшие значения используются для форсированных быстроходных двигателей с масляным охлаждением поршней.
Объем масла в системах смазки с мокрым картером для двигателей различных типов составляет 0,03-0,48 л/кВт.
Очистка масла от механических примесей в системах смазки осуществляется фильтрами. Наибольшее распространение в двигателях современных автомобилей получили бумажные полнопоточные поглощающие фильтры, улавливающие частицы размером до 0,5 мкм.
Для исключения перегрева масла и сохранения нормального теплового режима трущихся пар масло в системе смазки двигателя, особенно в летний период, нуждается в охлаждении. Чаще всего для этого используются воздушно-масляные радиаторы, устанавливаемые перед радиатором системы охлаждения двигателя.
С целью снижения вредного воздействия на масло прорывающихся из камеры сгорания газов (картерных газов), а также снижения давления в картере для предотвращения утечек масла из двигателя картер снабжают системой вентиляции. В настоящее время для минимизации вредных выбросов автомобильными двигателями в атмосферу используют закрытые системы вентиляции картера. Для отвода картерных газов в этих системах картер соединяется с впускным трубопроводом и (или) с воздушным фильтром.
3.3. Трансмиссия
Группа агрегатов, входящих в трансмиссию автомобиля, предназначена для передачи крутящего момента от двигателя к ведущим колесам, изменения его по величине и направлению и распределения между ведущими мостами и колесами.
В нашей стране, а также в ряде других государств предельная нагрузка на ось автомобиля ограничена, что необходимо для сохранности автомобильных дорог. В связи с этим автомобили большой грузоподъемности выпускаются многоосными.
Увеличение числа осей, а следовательно, и числа колес, уменьшает давление на полотно дороги и обусловливает меньший его износ. Увеличение числа ведущих осей улучшает проходимость автомобиля, для характеристики которой большое значение имеет так называемая колесная формула, состоящая из двух цифр: первая из них обозначает общее число колес, вторая – число ведущих колес, например 6x4 для трехосного автомобиля, имеющего всего 6 колес и из них 4 ведущих. Каждая пара ведущих колес имеет свой ведущий мост.
Схема трансмиссии определяется числом и расположением ведущих мостов автомобиля. В двухосном автомобиле с одним задним ведущим мостом в трансмиссию входят сцепление, коробка передач, карданная передача, главная передача с дифференциалом и полуоси. Если ведущими являются передний и задний мосты автомобиля ("Нива"), то в его трансмиссию входит еще раздаточная коробка. Раздаточная коробка позволяет распределить крутящий момент между ведущими мостами автомобиля.
3.3.1. Сцепление
Сцепление представляет собой фрикционную муфту, в которой передача крутящего момента происходит за счет силы трения. Оно позволяет отключить двигатель от коробки передач в момент переключения передач и для получения свободного хода.
По конструкции автомобильные сцепления делятся на одно– и двухдисковые. На большинстве автомобилей применяется однодисковое сухое сцепление.
Размеры сцепления определяются наружным диаметром ведомого диска, который выбирают, исходя из требований передачи максимального крутящего момента, развиваемого двигателем, и рассеивания тепла, появляющегося при буксовании сцепления в момент переключения передач.
На рис. 3.3.1 показано устройство однодискового сцепления с периферийными пружинами.