Всего за 79.9 руб. Купить полную версию
При включении стартера крутящий момент от втулки 7 передается роликами 10 на ступицу 77 шестерни. В этом случае ролики заклинены (рис. 3.2.14, б) между ступицей 77 шестерни и обоймой 8. Как только двигатель будет запущен, ступица 77 шестерни станет ведомой (ведущим будет зубчатый венец маховика), ролики 10 расклиниваются и муфта начинает пробуксовывать. На рис. 3.2.14, г показана конструкция бесплунжерной муфты свободного хода, применяемой на некоторых типах стартеров. Бесплунжерная конструкция обеспечивает более надежную работу муфты.
В стартерах большой мощности муфты свободного хода не применяют, так как в этих условиях они работают ненадежно.
На рис. 3.2.15 изображены механизмы привода стартеров дизельных двигателей.






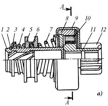
Рис. 3.2.14. Муфта свободного хода: а, г – конструкция муфты, б - ролик заклинен, муфта передает момент, в – ролик вращается, муфта пробуксовывает; 1 - втулка привода, 2, 6 – замочные кольца, 3 – опорное кольцо, 4 – пружина, 5 – поводковая муфта, 7 – буферная пружина, 8 – обойма, 9 – кожух, 10 – ролик, 11 - ступица, 12 – шестерня, 13 – плунжер, 14 - пружина плунжера, 15 - толкатель, 16 - пружина толкателя, 17 - держатель пружин
На стартере СТ-142 применен храповичный механизм привода (рис. 3.2.15, а). Детали привода расположены на направляющей втулке 1, имеющей прямые внутренние шлицы и многозаходную ленточную наружную резьбу. Втулка вместе с приводом может перемещаться по шлицам вала стартера. На наружной резьбе втулки 1 расположена ведущая полумуфта 8. Ведомая полумуфта 13 выполнена как одно целое с шестерней и может свободно вращаться на втулке 1 в бронзовых графитированных подшипниках. Торцы полумуфт снабжены зубцами и прижимаются один к другому пружиной 7. Ведомая полумуфта 13 заперта в корпусе 5 замковым кольцом 10. Замковое кольцо 2 удерживает корпус 5 от перемещения на втулке 1. Для амортизации ударов при включении стартера под пружиной 7 размещены стальная шайба 6 и кольцо 4.



Рис. 3.2.15. Типы приводов стартеров для дизельных двигателей:
а – разрез, б – общий вид привода с храповой муфтой стартера СТ-142, в – привод стартера СТ-103;
1 – направляющая втулка, 2, 10 - замковые кольца, 3 – втулка отводки (выполнена за одно целое с корпусом), 4 - резиновое кольцо,
5 – корпус, 6 - стальная шайба, 7 – пружина, 8 - ведущая полумуфта,
9 – конусное кольцо, 11 - штифт, 12 – сухарь, 13 - ведомая полумуфта, 14 - вал якоря, 15 – стакан, 16 - рычаг, 17 - буферная пружина,
18 – гайка, 19 - шестерня, 20 – упорное кольцо, 21 – спиральный паз
Для предотвращения износа зубьев храповой муфты и снижения шума в момент, когда двигатель пущен и стартер еще не выключен, предусмотрен механизм блокировки.
Внутри ведомой полумуфты 13 находятся три пластмассовых сухаря 12 с радиальными отверстиями, в которые входят направляющие штифты 77. Наружная поверхность сухарей имеет коническую фаску, прилегающую к выточке стального кольца 9 , установленного в ведущей полумуфте 8. Кольцо 9 прижимает сухари 12 к направляющей втулке 1. При передаче крутящего момента к венцу маховика двигателя возникает осевое усилие, прижимающее ведущую полумуфту к ведомой. Как только двигатель будет пущен, произойдет пробуксовка храповой муфты. Во время пробуксовки ведущая полумуфта 8 отодвигается от ведомой полумуфты 13, сжимая пружину 7. Вместе с ведущей полумуфтой 8 отодвигается кольцо 9, освобождая сухари 12 , которые под действием центробежных сил перемещаются вдоль штифтов 77 и блокируют муфту в расцепленном состоянии. После выключения стартера ведущая полумуфта 8 под действием пружины 7 прижмется к ведомой полумуфте 13 и кольцо 9 установит сухари 12 в исходное положение.
При упоре шестерни стартера в зубья венца маховика корпус 5 привода вместе с направляющей втулкой 7 продолжает перемещаться вдоль шлицев вала стартера, сжимая пружину 7. При этом ленточная резьба втулки 7 заставляет поворачиваться ведущую полумуфту 8 и шестерню стартера (до 30°), что обеспечивает ее зацепление с венцом маховика. Храповичный привод допускает до 5 % упоров шестерни стартера в венец маховика от общего числа включений.
Достоинством описанного привода является то, что при отдельных вспышках в цилиндрах двигателя муфта не выходит из зацепления, тем самым обеспечивая надежность пуска холодного двигателя.
Стартер СТ-103 для дизельных двигателей имеет конструкцию приводного механизма, изображенную на рис. 3.2.15, б. На спиральных шлицах вала 14 якоря стартера установлены гайка 18 и шестерня 19. Между гайкой и хвостовиком шестерни помещена пружина 7. На вал якоря свободно надет стакан, имеющий спиральный паз 21. На опорной втулке стакана размещены буферная пружина 7 7 и шайба 6.
Ход шестерни на валу ограничивает упорное кольцо 20. При включении стартера тяговое реле, действуя на рычаг, перемещает ведущую гайку 18 вместе с шестерней до упорного кольца 20. Если происходит упор зубьев шестерни в венец маховика, то ведущая гайка 18 сжимает пружину 7 и поворачивает шестерню 19, так как шлицевые пазы в шестерне шире шлицев вала.
В первый момент пуска двигателя стакан 75 повертывается благодаря трению и по спиральному пазу 21 отводится назад в исходное положение, освобождая место для отхода шестерни. Как только двигатель будет пущен, венец маховика начнет вращать шестерню стартера, и она по спиральным шлицам отойдет в первоначальное положение.
При наличии на стартере тягового реле он включается подключением обмоток тягового реле к аккумуляторной батарее. Это подключение на автомобилях с дизельными двигателями осуществляют с помощью выключателя стартера, контакты которого рассчитаны на ток, потребляемый тяговым реле. На автомобилях с карбюраторными двигателями, у которых мощность стартера значительно ниже, тяговое реле включается через выключатель зажигания. Однако контакты выключателя зажигания не рассчитаны на силу тока, потребляемую тяговым реле в момент включения (30–40 А), поэтому приходится ставить реле стартера, контакты которого включают обмотки тягового реле, а обмотки реле стартера включаются через выключатель зажигания.
В системах электрооборудования с генератором переменного тока блокировка стартера может быть осуществлена с помощью специального реле блокировки или применением сложной электронной схемы.
При повороте вправо ключа в выключателе зажигания появляется ток в обмотке реле стартера и замыкаются его контакты, включая ток в обмотки тягового реле. Сердечник тягового реле перемещается и замыкает его, главные контакты, включая стартер. Одновременно замыкаются дополнительные контакты тягового реле, шунтирующие добавочное сопротивление катушки зажигания.
Главные контакты тягового реле, замыкаясь, шунтируют втягивающую обмотку реле, чем значительно снижается ток, потребляемый тяговым реле, так как якорь реле удерживается только удерживающей обмоткой. Если в схеме с генератором переменного тока отсутствует блокировка стартера, необходимо сразу после запуска двигателя отпустить ключ выключателя зажигания, чтобы быстрее вывести шестерню стартера из зацепления с венцом маховика.
Автомобили, выпускаемые в настоящее время отечественными и зарубежными производителями, оснащены сложной современной системой электрооборудования, которая включает в себя источники электроэнергии, соединительные провода и коммутационную аппаратуру. Электрооборудование выполнено по однопроводной схеме, то есть отрицательные выводы источников и потребителей электрической энергии соединены с "массой" (кузовом автомобиля). "Масса" выполняет роль второго провода.