Всего за 79.9 руб. Купить полную версию
В двигателях автомобилей ВАЗ термостат выполнен двухклапанным и устанавливается перед водяным насосом. При холодном двигателе большая часть охлаждающей жидкости будет циркулировать по кругу: водяной насос – блок цилиндров – головка цилиндров – термостат – водяной насос. Параллельно жидкость циркулирует через рубашку впускного трубопровода и смесительной камеры карбюратора, а при открытом кране отопителя пассажирского помещения – через его радиатор.




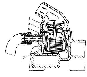
Рис. 3.2.12. Термостаты:
а - в закрытом положении, б – в открытом положении, с твердым наполнителем, в - в закрытом положении, г – в открытом положении;
1 – впускной трубопровод, 2 – перепускной шланг, 3 – патрубок,
4 - клапан термостата, 5 – шток, 6 – корпус термостата, 7 – баллон,
8 – церезин, 9 – диафрагма, 10 - направляющая втулка,
11 – возвратная пружина, 12 - буфер
Когда температура жидкости ниже 363 К (90 °C), оба клапана термостата частично открыты. Часть жидкости поступает к радиатору.
При полностью прогретом двигателе основной поток жидкости из головки цилиндров направляется в радиатор системы охлаждения.
На двигателях автомобилей "Москвич", как и на автомобилях ВАЗ, термостат расположен в нижней части системы охлаждения между радиатором и водяным насосом. Клапан термостата в данном случае более герметичен, радиатор при прогреве полностью отключается, двигатель прогревается быстрее.
Для контроля за температурой охлаждающей жидкости служат сигнальные лампы и указатели на щитке приборов. Датчики контрольно-измерительных приборов размещаются в головках цилиндров, верхнем бачке радиатора и рубашке охлаждения впускного трубопровода.
3.2.9. Система пуска
Система пуска состоит из стартера, аккумуляторной батареи, цепи стартера и средств облегчения пуска.
Особенностью системы пуска автомобильных двигателей является то, что мощности аккумуляторной батареи и стартера близки между собой. Поэтому при пуске двигателя напряжение аккумуляторной батареи значительно изменяется в зависимости от тока, потребляемого стартером. В таких условиях на пуск двигателя большое влияние оказывают состояние аккумуляторной батареи (ее температура, степень заряженности, износ) и состояние цепи стартера.
В качестве стартера применяют электродвигатели постоянного тока последовательного возбуждения. Реже применяют стартеры со смешанным возбуждением (для двигателей некоторых легковых автомобилей). Это делается с целью снизить частоту вращения якоря стартера на холостом ходу.
С ростом тока, потребляемого стартером, его крутящий момент растет, а частота вращения якоря уменьшается. Кривая мощности стартера имеет вид параболы. Максимум КПД стартера и максимум мощности не совпадают. Якорь стартера при холостом ходе будет иметь максимальную частоту вращения. Крутящий момент стартера в этот момент будет равен нулю. При снижении напряжения аккумуляторной батареи снижается частота вращения якоря стартера и его мощность.
Чтобы пустить двигатель, стартер должен преодолеть его момент сопротивления, который представляет собой сумму моментов: момента сил трения, момента от сжатия, момента для привода вспомогательных механизмов, установленных на двигателе (воздушный компрессор, масляный насос, топливный насос на дизелях и т. д.), а также момента на преодоление сил инерции вращающихся и поступательно движущихся масс двигателя.
Для всех двигателей характерно увеличение минимальной пусковой частоты вращения с понижением температуры пуска. Чем больше число цилиндров, тем ниже пусковая частота вращения двигателя. У дизельных двигателей пусковая частота вращения значительно выше, чем у карбюраторных двигателей.
Применение пусковых жидкостей (вводимых во всасывающий коллектор) значительно снижает минимальную пусковую частоту вращения и облегчает пуск холодных двигателей. Для пуска двигателя необходимо не только сообщить коленчатому валу скорость, превышающую минимальную пусковую, но и повернуть вал определенное число раз (2–3), чтобы в цилиндрах двигателя образовалась рабочая смесь, которую может воспламенить искра.
Если совместить механическую характеристику двигателя (зависимость момента сопротивления от частоты прокручивания) и механическую характеристику стартера, то точка их пересечения определит частоту, с которой будет прокручиваться вал двигателя при пуске. Чем ниже температура двигателя, тем больше момент сопротивления двигателя прокручиванию и хуже механическая характеристика стартера за счет снижения температуры аккумуляторной батареи, а следовательно, и меньше частота прокручивания вала двигателя при его пуске.
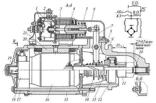
Стартер (рис. 3.2.13) состоит из корпуса 15, якоря 16, крышек 9 (со стороны привода) и 19 (со стороны коллектора), привода стартера, включающего муфту свободного хода 12, шестерню 77 и поводковую муфту 14. На корпусе стартера укреплено тяговое реле.
Корпус стартера изготовляют из стали. Он может быть сварным или выполненным из цельнотянутой трубы. Полюсы 21 получают горячей штамповкой из стали. Крышка 9 отливается из чугуна или алюминиевого сплава. Крышка 19 отливается из алюминиевого сплава. На задней крышке укреплены щеткодержатели 23 коробчатого типа. На стартерах большой мощности применяют щеткодержатели, в которых устанавливают по две щетки в один ряд.
Обмотка возбуждения 20 изготовляется из медной шины с небольшим числом витков. В небольших стартерах обмотки возбуждения включаются последовательно, в стартерах средней и большой мощности – параллельно-последовательно.



Рис. 3.2.13. Стартер и его электрическая схема: 1 – контакты тягового реле, 2 – контакт замыкания добавочного резистора катушки зажигания, 3 – обмотки тягового реле, 4 – якорь тягового реле, 5 – регулировочный винт-тяга, 6 – защитный кожух рычага, 7 – рычаг, 8 – винт регулировки хода шестерни, 9 – крышка стартера со стороны привода, 10 – упорное кольцо, 11 – шестерня привода, 12 – муфта свободного хода, 13 – пружина, 14 - поводковая муфта привода, 15 – корпус стартера, 16 – якорь стартера, 77– стяжная шпилька, 18 – коллектор, 19 - крышка стартера со стороны коллектора, 20 – обмотка возбуждения, 21 – полюс, 22 – щетки, 23 – щеткодержатель, 24 – пружина щеткодержателя, 25 – привод щетки; выводы тягового реле стартера: КЗ - к катушке зажигания, АБ - к аккумуляторной батарее, PC - к реле стартера
В этом случае сопротивление четырех катушек (на четырех полюсах) будет равно сопротивлению одной катушки. Якорь стартера набран из пластин электротехнической стали с целью снижения его нагрева вихревыми токами.
При пуске двигателя якорь 4 тягового реле, втягиваясь магнитным полем обмоток 3, перемещает рычаг 7 и связанную с ним муфту 14 привода. При этом шестерня 11 привода стартера входит в зацепление с венцом маховика двигателя. Подвижный контакт 2 тягового реле замыкает цепь аккумуляторная батарея – стартер, и якорь стартера начинает вращаться. Если шестерня 77 не вошла в зацепление с венцом маховика (так называемое "утыкание" шестерни стартера в зубцы венца маховика), то рычаг 7 все равно будет перемещаться, сжимая пружину 13. Как только якорь начнет вращаться, шестерня 77 повернется и под действием пружины 13 ее зубья войдут во впадины между зубьями венца.
В случае, если двигатель завелся, а шестерня привода не вышла из зацепления с венцом маховика, срабатывает муфта свободного хода 12, и вращение от маховика двигателя не передается на якорь, что предохраняет его от "разноса".
Муфта свободного хода (рис. 3.2.14, а) роликового типа может перемещаться по спиральным шлицам вала стартера. На втулке 7, имеющей внутренние шлицы, укреплена обойма 8. В ней имеются четыре клиновидных паза, в которых установлены ролики 10, ролики отжимаются в сторону узкой части паза плунжером 13 с пружиной 14. Шестерня 12 выполнена заодно со ступицей 77.