
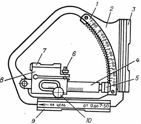
Рис. 12. Квадрант К-1:
1 - зубчатый сектор; 2 - рамка; 3 и 9 опорные площадки; 4 - направляющая дуга; 5 - стопор; 6 - регулировочный винт; 7 - уровень; 8 - движок, 10 - маховичок
Для определения отсчета угла, установленного на квадранте, складывают отсчеты, снятые со шкал зубчатого сектора и направляющей дуги. Чтобы придать определенный угол возвышения миномету, устанавливают величину этого угла на квадранте, ставят квадрант на поверхность трубы и, вращая рукоятку подъемного механизма, выводят пузырек уровня квадранта на середину.
Для измерения угла возвышения, приданного миномету, ставят квадрант соответствующий опорной площадкой на поверхность трубы, затем передвигают направляющую дугу 4 с движком 8, установленным на нуль, до появления перемещения пузырька уровня из одного конца ампулы в другой, а потом с помощью маховичка перемещают движок до выхода пузырька уровня на середину. После этого считывают по шкалам квадранта отсчет, который является искомым углом возвышения.
3.7. Взаимодействие частей и механизмов миномета
При выстреле вследствие отдачи, труба с хомутом и корпусами амортизатора перемещается назад, а двунога с поворотным механизмом и штоками амортизаторов в силу инерции остается на месте. Пружины амортизаторов при этом, сжимаясь, смягчают удар по двуноге. После выстрела пружины, разжимаясь, подтягивают двуногу назад, а труба под действием упругого сопротивления грунта и опорной плиты перемещается вперед, после чего изделие занимает исходное положение.
4. ЗАПАСНЫЕ ЧАСТИ, ИНСТРУМЕНТ И ПРИНАДЛЕЖНОСТИ
Для обеспечения нормальной эксплуатации миномета в войсках и поддержания его в постоянной боевой готовности путем проведения контрольного осмотра, ежедневного технического обслуживания и Технического обслуживания № 1, устранения отказов и неисправностей силами расчета каждый миномет снабжается одиночным комплектом ЗИП. Одиночный комплект ЗИП должен постоянно находиться при миномете, укомплектованным согласно Ведомости 2Б14-1.00 ЗИ.
Израсходованные из состава одиночного комплекта предметы ЗИП должны своевременно пополняться одноименными предметами из группового комплекта.
Каждые 6 и 18 минометов комплектуются соответственно групповым и ремонтным ЗИП самостоятельно, отдельно от минометов по ведомостям:
группового комплекта ЗИП-2Б!4–1.00 ЗИ1;
ремонтного комплекта ЗИП-2Б14-1.00 ЗИ2.
Групповой комплект ЗИП предназначен для обеспечения технического обслуживания и ремонта минометов с истекшими гарантийными сроками эксплуатации силами ремонтного органа воинской части (соединения) и объеме требований ЭД, а также для пополнения соответствующих одиночных комплектов ЗИП.
По номенклатуре и количеству групповой комплект ЗИП укомплектовывается, исходя из обеспечения гарантированной эксплуатации шести минометов в течение двух лет.
Ремонтный комплект ЗИП предназначен для обеспечения капитального ремонта миномета или группы минометов, а также для пополнения групповых комплектов ЗИП в течение всего периода эксплуатации миномета. Его хранят на складах, базах или ремонтных органах.
Ведомость ЗИП состоит из разделов: запасные части, инструмент, принадлежности, тара.
Состав одиночного и группового комплектов ЗИП приведен в табл. 1.
Перечень инструмента указан и табл. 2.
5. МАРКИРОВАНИЕ, КЛЕЙМЕНИЕ И ПЛОМБИРОВАНИЕ
Все делали, сборочные единицы и миномет в целом, а также ЗИП и тара имеют маркировку и клейма.
В маркировку входят:
для деталей мелких сборочных единиц, ЗИП и тары - индекс изделия и обозначение по основному конструкторскому документу (чертежу);
для основных сборочных единиц и деталей 2Б14.02.1 Сп, 2Б14.02 Сп, 2Б14-01.1, 2Б14-1.01 Сп, 2Б14-1.01.34 Сп, 2Б14-1.03 Сп, 2Б14-1.2 °Cп, 2Б14-1.35 Сп, 2Б14-1.35.1 Сп или 2Б14-1.35.10, 2Б14-1.01.80 и миномета 2Б14-1.0 °Cп - заводской номер, индекс его и обозначение по чертежу. Клейма ОТК удостоверяют годность и качество деталей, узлов, массу миномета, а также ЗИП и тары.
Таблица 1
| Обозначение | Наименование | ЗИ | ЗИ1 |
|---|---|---|---|
| Запасные части | |||
| 2Б14-1.01.82 | Боек | 1 | 2 |
| 2Б14-1.01.81 | Водило | 1 | 2 |
| 2Б14-1.03.168 | Втулка | 8 | |
| 2Б14-1.35.16 | Лопатка | 1 | 2 |
| 2Б14-1.35.14 | Элерон | 1 | 2 |
| 15/52–МП-832 | Ось | 1 | 2 |
| Ось 6×20 ГОСТ 9650-80 | |||
| 2Б14-1.01.83 | Плитка | 1 | 2 |
| 2Б14-1.03.8 Сп | Подъемный механизм | 1 | |
| 2Б14-1.01.52 | Пружина | 3 | 5 |
| 2Б14-1.03.25 | Пружина | 1 | 2 |
| 2Б14-1.03.30 | Пружина | 2 | 4 |
| 2Б14-03.11 | Пружина | 1 | 2 |
| 2Б14-1.35.15 | Пружина | 2 | 4 |
| 2Б14-1.35.13 | Рычаг | 1 | 4 |
| 2Б14-1.03.05 | Труба | 1 | |
| 2Б14-1.03.26 | Шайба | 8 | |
| 2Б14-03.212 | Шайба | 2 | |
| 4/52-МП-832 | Шайба | 1 | 4 |
| 2Б14-1.03.29 | Шток амортизатора | 4 | |
| Крепежные детали | |||
| 2Б14-1.03.162 | Винт | 2 | |
| 2Б14-1.03.345 | Пластина | 2 | |
| 7/52-МП–832 | Гайка | 1 | 2 |
| 2Б14.03.12 | Шайба | 2 | |
| Шайба 6 ГОСТ 10450-78 | 2 | 2 | |
| Шплинт 1,6×10 ГОСТ 397-79 | 2 | 2 | |
| Шплинт 2×16 ГОСТ 397-79 | 1 | 6 | |
| Шплинт 3,2×16 ГОСТ 397-79 | 2 | ||
| 13/52-МП-832 | Шплинт пружинный | 1 | 2 |
| Штифт 4×16 ОСТ 3-2234-80 | 2 | 6 | |
| Штифт 4×20 ОСТ 3-2234-80 | 1 | 4 | |
| Шрифт 5×20 ОСТ 3-2234-80 | 1 | 2 | |
| Инструмент | |||
| 2Б14-1.04.1 | Бородок | 2 | |
| 2Б14-1.05.1 Сп | Ключ | 2 | |
| 2Б14-1.05.1 | Ключ | 2 | |
| 2Б14-1.05.3 | Ключ | 1 | 2 |
| 3И 15 | Ключ № 2 | 1 | 2 |
| 53-И-85 | Ключ № 3 | 1 | 2 |
| 53-ИР-300 | Ключ № 6 | 1 | 2 |
| 3И 17 | Ключ № 14 | 1 | 2 |
| Ключ 7811–0023 ГОСТ 2839-80 | 1 | 2 | |
| Ключ 7811–0043 ГОСТ 2839-80 | 2 | ||
| Ключ 7811–0317 ГОСТ 16984-79 | 2 | ||
| СБ 54-1/52-ИМП-832 | Ключ комбинированный | 1 | 2 |
| 2Б14-1.04.3 | Ломик | 1 | 2 |
| 2Б14-1.06.1 | Отвертка | 2 | |
| 2Б14-1.04.50 | Шаблон | 1 | 2 |
| Отвертка 7810–0308 ГОСТ 17199-71 | 1 | 2 | |
| Плоскогубцы 7814–0092 ГОСТ 5547-75 | 2 | ||
| Молоток 7850–0103 ГОСТ 2310-77 | 1 | ||
| 53-И-029 | Установочный ключ Д-1 | 1 | 2 |
| Принадлежности | |||
| Банка БН-0,5 ГОСТ 17000-71 | 1 | ||
| 2Б14-1.19 Сп | Банник | 1 | |
| Бутылка БУЦ 1,0 ГОСТ 17000-71 | 1 | ||
| 2Б14-1.19.1 °Cп | Головка банника | 1 | |
| Квадрант К-1 ГОСТ 10908-75 | 2 | ||
| АЛ2.766.052/51-ОП-211К | Коллиматор орудийный К-1 | 1 | |
| 2Б14-1.04.7 Сп | Костыль | 4 | 4 |
| 2Б14-1.21 Сп | Отвес | 1 | |
| Сп/51-Э-215 | Пробор освещения минометов "Луч-ПМ2М" | 1 | |
| 2Б14-1.2 °Cп | Стойка | 1 | |
| Укладки | |||
| 2Б14-1.09 Сп | Вьюк трубы | 1 | |
| 2Б14-1.1 °Cп | Вьюк плиты | 1 | |
| 2Б14–1.11 Сп | Вьюк двуноги | 1 | |
| 10.00.000/52-Ю-832Ш | Вьюк для переноски лотков | 1 | |
| Сп 6/52-Ю-832Ш | Лоток | 2 | |
| 2Б14-1.04.2 Сп | Сумка | 1 | |
| 2614-1.04.8 Сп | Сумка инструментальная | 1 | |
| 2Б14-75 Сп | Сумка | 5 | |
| 2Б14-1.24 Сп | Чехол для банника | 1 | 1 |
| ЗИП покупных изделий | |||
| АЛ3.812.044–01 ЗИ/51-ОМ-614М2 | Одиночный комплект ЗИП на изделие МПМ-44М. Ведомость ЗИП | 1 | |
| АЛ3.812.044–01 ЗИ/51-ОМ-614М2 | Групповой комплект ЗИП на шесть изделий МПМ-44М. | ||