3.4. Предохранитель
Предохранитель предназначен для предотвращения двойного заряжания миномета.
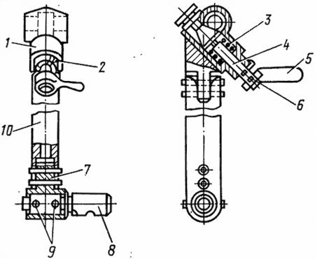
Предохранитель (рис. 10) состоит из предохраняющего механизма и корпуса 1 со втулкой. На оси 9, проходящей через отверстия в бобышках корпуса 1 со втулкой, закреплены следующие детали предохраняющего механизма: шайба 11, лопатка 12, элерон 14, вставленный в прорезь лопатки, пружины 8 и рычаг 15. Лопатка 12 и рычаг 13 соединяются с осью 9 с помощью лысок и могут вращаться только с ней. На концы оси 9 навинчены гайки 7, удерживающие детали в собранном виде. Гайки от самоотвичивания удерживаются шплинтами 4 и 6. Конец оси с пружиной закрыт колпачком 5.
Корпус предохранителя надевается на дульную часть трубы и посредством разрезного кольца 3 закрепляется гайкой 2 на трубе.
Корпус 1 со втулкой представляет собой цилиндр с бобышками. В правую бобышку запрессована втулка 10. Между бобышками имеется окно для лопатки. На левой бобышке находится опорная площадка А, дуговой паз Б для конца рычага, выступ Г и наклонная поверхность В; в правой бобышке - резьба под колпачок. Напротив окна для лопатки расположены щели для выхода части пороховых газов. В верхней части корпуса с внутренней стороны выполнена заходная фаска, а в нижней части - наружная резьба для завинчивания гайки 2 и внутренний кольцевой выступ, которым корпус при надевании упирается в дульный срез трубы.

Рис. 9. Хомут с амортизаторами:
1 - гайка 2Б14-1.03.169; 2 - штифт 4×15 ГОСТ 3-2234-80, 3 - кольцо 2Б14-1.03.170; 4 - пружина 2Б14-1.03.30; 5 - корпус амортизатора 2Б14-1.03.28, 6 - шток амортизатора 2Б14-1.03.29; 7 - шплинт 2×16 ГОСТ 397-79; 8 - втулка 2Б14-1.03.168; 9 - гай "а 2Б14-1.03.27, 10 - штифт 4×20 ГОСТ 3-2234-80; 11 - наметка 2Б14-1.03.57, 12 - шайба 8 ГОСТ 11371-78; 13 - ось 8×55 ГОСТ 9650-80; 14 - обойма амортизаторов 2Б14-1.03.56; 15 - пластина 2Б14-1.03.345, 16 - втулка 2Б14-1.03.61; 17 - вороток 2Б14-1.03.60; 18 - винт 2Б14.03.45; 19 - винт М6×8 ГОСТ 1478-84

Изменения к рис. 9.

I

II
Рис. 10. Предохранитель:
1 - корпус со втулкой 2Б14-1.35.2 Сп; 2 - гайка 2Б14-1.35.6; 3 - разрезное кольцо 2Б14-1.35.7; 4 - пружинный шплинт 13/52-МП-832; 5 - колпачок 10/52-МП-832; 6 - шплинт 2×16 ГОСТ 397-79; 7 - гайка 7/52-МП-832; 8 - пружина 2Б14-1.35.15; 9 - ось 15/52-МП-832; 10 - втулка 2/52-МП-832; 11 - шайба 4/52-МП-832; 12 - лопатка 2Б14-1.35.16; 13 - рычаг 2Б14-1.35.13; 14 - элерон 2Б14-1.35.14; А - опорная площадка; Б - поверхность; Г - выступ
Втулка 10 с шайбой 11 предохраняет пружину 8 от действия пороховых газов. На буртике втулки 10 имеется паз, в который входит конец пружины 8. Ось 9 представляет собой цилиндрический валик с лысками. Концы оси имеют резьбу для гаек 7 и отверстие под шплинты 4 или 6. На правом конце оси имеется шлиц под пружину.
До заряжания миномета части предохранителя находятся в положении "Открыто", при этом лопатка 12 располагается в окне корпуса почти параллельно оси канала трубы, рычаг 13 лежит на площадке А, конец рычага выходит внутрь канала трубы. В момент заряжания мина, опускаясь в канал, своим корпусом утапливает конец рычага и отводит его с осью 9 влево, рычаг переходит с опорной площадки А на выступ Г. Под действием пружины 8 ось 9 вместе с рычагом 13 и лопаткой 12 поворачивается в положение "Закрыто". Лопатка частично перекрывает канал трубы и тем самым исключает возможность заряжания миномета второй миной.
При выстреле пороховые газы прорываются через кольцевой зазор между поверхностью канала трубы и центрующим утолщением мины, опережают последнюю и, действуя на лопатку, поворачивают ее вместе с осью и рычагом, перемещающиеся на поверхности выступа Г. После прекращения действия пороховых газов на лопатку 12 рычаг соскакивает с выступа Г, лопатка скользит по наклонной поверхности В левой бобышки корпуса 1 и перемещается под действием пружины вместе с шайбой, осью и рычагом вправо в исходное положение "Открыто".
3.5. Изделие МПМ-44М, орудийный коллиматор К-1, прибор "Луч-ПМ2М" освещения миномета
Изделие МПМ-44М предназначено для наведения миномета в цель. Оно состоит из визира и механизма наведения.
Основные технические данные изделия МПМ-44М, его конструкция, сведения о работе с ним при стрельбе изложены в Техническом описании и инструкции по эксплуатации АЛЗ.812.044-01 ТО, которое поставляется с каждым изделием. Для обеспечения взаимного визирования минометов при построении параллельного веера и для наводки миномета в случаях, когда необходимо поднять линию визирования изделия МПМ-44М, применяется переходная стойка.
Переходная стойка (рис. 11) состоит из стойки 10, к концам которой прикреплены втулка 7 и держатель 1. Во втулке 7 с помощью штифтов 9 закреплен палец 8 с выемкой и штифтом для крепления и фиксирования стойки на кронштейне вертлюга. В держателе 1 смонтировано устройство для крепления изделия МПМ-44М, состояние из штока 4 с пружиной 3, штифта 2 и рукоятки 5, закрепленной на штоке 4 штифтом 6.

Рис. 11. Стойка:
1 - держатель 2Б14-1.20.1; 2 - штифт 5×20 ОСТ 3-2234-80; 3 - пружина 2Б14.03.11; 4 - шток 2Б14.03.10; 5 - рукоятка 7061–0003 ГОСТ 3055-69; 6 - штифт 4×16 ОСТ 3-2234-80; 7 - втулка 2Б14-1.20.3; 8 - палец 2Б14-1.20.4; 9 - штифт 5×25 ОСТ 3-2234-80; 10 - стойка 2Б14-1.20.2
Для обеспечения наводки миномета в условиях пониженной видимости (ночью, в тумане и т. п.), а также при отсутствии естественных удаленных точек наводки, используется орудийный коллиматор К-1. Работа миномета с коллиматором К-1 изложена в Техническом описании изделия МПМ-44М.
Прибор "Луч-ПМ2М" предназначен для освещения изделия МПМ-44М, коллиматора К-1, рабочих мест командира и снарядного. Правила обращения с ним изложены в Техническом описании прибора "Луч-ПМ2М".
3.6. Квадрант К-1
Квадрант (рис. 12) предназначен для проверки основных установок изделия МПМ-44М.
Квадрант состоит из рамки 2 с взаимно перпендикулярными опорными площадками и зубчатым сектором 1, направляющей дуги 4 и движка 8 с уровнем 7. Квадрант устанавливается на трубу опорными площадками в зависимости от угла возвышения от 0 до 7-50 или от 7-50 до 15–00. Зубчатый сектор служит для установки направляющей дуги 4 под заданным углом к опорным площадкам. Отчеты со шкал зубчатого сектора 1 снимаются с помощью рисок-указателей на стопоре 5 дуги.
На направляющей дуге 4 расположен движок 8 с уровнем 7, который перемещается вдоль дуги с помощью маховичка 10. На движке также имеется регулировочная втулка и винт, с помощью которых регулируется уровень и риски для снятия отсчетов со шкал направляющей дуги.