
Рис. 6. Двунога:
1 - перо сошника 2Б14.03.100; 2 - тарель 2Б14.03.101; 3 - правая стойка 2Б14-1.03.14 Сп; 4 - цепь 3 352-58.015; 5 - подъемный механизм 2Б14-1.03.8 Сп; 6 - левая стойка 2Б14.1.03.13 Сп; 7 - механизм горизонтирования 2Б14-1.03.15 Сп; 8 - защелка 2Б14-1.03.95; 9 - шплинт 1,6×10 ГОСТ 397-79; 10 - шайба 6 ГОСТ 10450-78; 11 - ось 6×20 ГОСТ 9650-60; 12 - штырь 2Б14-1.03.24; 13 - шайба 12 ГОСТ 11371-78; 14 - штырь 2Б14-1.03.122; 15 - шайба 2Б14-1.03.26; 16 - шплинт 3,2×16 ГОСТ 397-79; 17 - наконечник 2Б14-1.03.107; 18 - пружина 2Б14-1.03.25; 19 - рычаг 2Б14-1.03.23; 20 - шплинт 3,2×32 ГОСТ 397-79; 21 - винт 2Б14-1.03.162; 22 - шайба 2Б14.03.212; В - гнездо; Г - отверстие
Для обеспечения совмещения сферы наконечника 17 механизма устанавливаются шайбы 15.
Вертлюг 2 (рис. 5) служит для соединения поворотного и подъемного механизмов, к нему крепятся штоки амортизаторов, на нем устанавливается изделие МПМ-44М.
Поворотный механизм собран в корпусе, состоящем из наружной трубы 12 и трубы 10. Наружная труба одним концом вставлена в правую проушину вертлюга 2, другим резьбовым - ввинчена в корпус подъемного механизма.
Труба 10 с остановленной в ней заглушкой 8 закреплена с помощью штифта 7 в левой опоре вертлюга и имеет возможность перемещаться вместе с вертлюгом влево или вправо в зависимости от направления вращения рукоятки 1, жестко связанной с горизонтальным винтом 11. Вертлюг 2, перемещаясь, заставляет, в свою очередь, двигаться хомут 4 с амортизаторами и трубу; таким образом осуществляется горизонтальная наводка миномета.
На левом конце вертлюга 2 приварен кронштейн 6 для установки и крепления изделия МПМ-44М. В кронштейне имеется отверстие под ось изделия МПМ-44М и паз под штифт, запрессованный в оси изделия.
Устройство для крепления изделия МПМ-44М состоит из штока 17 с пружиной 18 и рукояткой 14, закрепленной на конце штока штифтом 19. Фиксация оси изделия МПМ-44М в отверстие кронштейна 6 осуществляется поворотом рукоятки 14, в результате него конусная головка штока 17 входит в выемку оси изделия и удерживает ее от продольного перемещения и вращения. Штифт 15 определяет положение штока 17.
При вращении винта 2 (рис. 7) механизма горизонтирования с помощью рукоятки 4 гайка 7 перемещается поступательно относительно корпуса 6, поворачивая вправо или влево в зависимости от направления вращения рукоятки 4 кожух подъемного механизма и устанавливая вертлюг с изделием МПМ-44М в горизонтальное положение. Горизонтирование контролируется по уровню на изделии МПМ-44М. Корпус 6, наконечник 1 и втулка 5 предохраняют механизм горизонтирования от пыли, грязи, песка и т. п. Винт 9 выполняет роль ограничителя хода механизма.

Рис. 7. Механизм горизонтирования:
1 - наконечник 2Б14-1.03.107; 2 - винт 2Б14-1.03.106; 3 - штифт 4×16 ОСТ 3-2234-80; 4 - рукоятка 2Б14-1.03.27 Сп; 5 - втулка 2Б14-1.03.119; 6 - корпус 2Б14-1.03.17 Сп; 7 - гайка 2Б14-1.03.16 Сп; 8 - штырь 2Б14-1.03.122; 9 - винт М8×10 ГОСТ 1747З-80
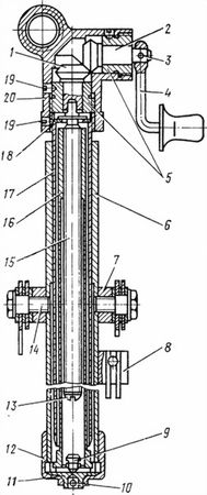
Подъемный механизм (рис. 8) смонтирован в корпусе, состоящем из корпуса 20, кожуха 6 и трубы 17.
Кожух 6 - полая труба, к наружной поверхности которой приварены цапфа 7 для соединения подъемного механизма со стойками и корпус 8 для присоединения механизма горизонтирования к кожуху подъемного механизма.
В верхней части кожуха выполнено направление для трубы 17, которая ввинчивается в корпус редуктора до упора во втулку 5 и стопорится винтом 19.
Корпус редуктора имеет форму полого прямого угольника с двумя патрубками, в которых с помощью втулок 5 устанавливается коническая зубчатая пара. Винты 19 предохраняют втулки 5 от самоотвинчивания. На одной оси с шестерней 2 закреплена рукоятка 4.
На штоке зубчатого колеса 1 имеется паз, в который вставляется выступ головки винта 15. Таким образом обеспечивается передача винту 15 вращательного движения, а также поступательного движения вместе с трубой 17 относительно гайки 16 и кожуха 6.
Гайка 16 соединена с кожухом 6 с помощью уступа в нижней части, который входит в паз на торце кожуха и через сегмент 9 упирается в крышку 11. Крышка поджимается накидной гайкой 12 до упора в торец кожуха 6. Сегмент 9 устанавливается для обеспечения надежности работы механизма. Фиксация гайки 12 относительно кожуха 6 осуществляется с помощью крышки 11, усики которой входят в пазы на торце кожуха 6. Крышка 11, в свою очередь, стопорится от проворота относительно гайки 12 с помощью шплинта 10. Кольцо 18, устанавливаемое в трубе 17 под головку винта 15, предохраняет винт от осевого перемещения.
Подъемный механизм прикрепляется к стойкам двуноги с помощью винтов 14, ввинчиваемых в цапфу 7 кожуха 6 подъемного механизма и предохраняемых от самоотвинчивания шплинтами.
При вращении рукоятки 4 против хода (по ходу) часовой стрелки коническая передача заставляет вращаться винт 15, который выдвигается вверх (перемещается вниз) вместе с трубой 17 и корпусом 20 редуктора относительно кожуха 6 с гайкой 16, обеспечивая увеличение (уменьшение) угла возвышения трубы.
Для ослабления действия сил, возникающих в результате отдачи при выстреле, и для возвращения двуноги в исходное положение после выстрела вертлюг и хомут соединяются между собой амортизирующим устройством.

Рис. 8. Подъемный механизм:
1 - зубчатое колесо 2Б14-1.03.72; 2 - шестерня 2Б14-1.03.71; 3 - штифт 4×20 ОСТ 3-2234-80; 4 - рукоятка 2Б14-1.03.28 Сп; 5 - втулки 2Б14-1.03.75; 6 - кожух 2Б14-1.03.1 °Cп; 7 - цапфа 2Б14-1.03.85; 8 - корпус 2Б14-1.03.86; 9 - сегмент 2Б14.03.355; 10 - шплинт 3,2×32 ГОСТ 397-79; 11 - крышка 2Б14-1.03.167; 12 - гайка 2Б14-1.03.166; 13 - винт М8×12 ГОСТ 17473-80; 14 - винт 2Б14-1.03.162; 15 - винт 2Б14-1.03.66; 16 - гайка 2Б14-1.03.189; 17 - труба 2Б14-1.03.65; 18 - кольцо 2Б14-1.03.67; 19 - винт М5×6 ГОСТ 1476-84; 20 - корпус редуктора 2Б14-1.03.74
Амортизирующее устройство (рис. 9) состоит из двух корпусов 5 амортизаторов, двух штоков 6, двух пружин 4.
Корпусы амортизаторов закреплены в хомуте посредством гаек 9, удерживаемых от самоотвинчивания пластиной 15. Внутри каждого корпуса 5 помещен шток 6 с надетыми на него двумя втулками 8 и пружиной 4. Перечисленные детали удерживаются на штоках гайками 1, навинчиваемыми на резьбовые хвостовики штоков. Гайки стопорятся штифтами 2. Кольца 3 предназначены для удержания штифтов 2 от выпадения. Штифты 10, запрессованные в штоки амортизаторов, предназначены для ориентации амортизаторов в вертлюге и предохранения их от проворота.
Хомут предназначен для соединения лафета-двуноги с трубой миномета и состоит из обоймы 14 и наметки 11, шарнирно связанных между собой осью 13, которая стопорится шайбой 12 и шплинтом 7.
Закрепление хомута на трубе производится с помощью рукоятки. Винт 18 рукоятки своей головкой закреплен в вырезе обоймы, а втулка 16, навернутая на винт 18, имеет отверстие под вороток 17. В закрытом положении рукоятка удерживается благодаря сферическому углубленпю и уступам в наметке, в которые упирается своим торцом втулка 16. Хомут на трубе устанавливается между кольцевыми буртами.
Наметка 11 имеет вид балки равнопрочного сечения с внутренней поверхностью, эксцентричной относительно оси канала, для уменьшения вероятности пережатия трубы путем равномерного распределения зажимных усилий по ее периметру.