Всего за 45 руб. Купить полную версию

Рис. 17. Выполнение разметки фундамента под ограждение
При закладке столбчатого фундамента размечают ямы под столбы, которые устанавливают по углам, а также под калитку и ворота, остальные же располагают на одинаковом расстоянии друг от друга. Если предполагается возводить сплошной кирпичный (каменный) забор, под него выкапывают траншею глубиной не более 50 см. Ее ширина должна совпадать с толщиной заграждения.
Если из кирпича (камня) будут выполнены только столбы, предпочтение отдают столбчатому фундаменту, для которого выкапывают ямы размером 50 х 50 х 50 см. Расстояние между столбами зависит от массивности готовой конструкции. Если забор будет тяжелым, их располагают чаще, обычно на расстоянии не более 5 м.
Наиболее экономичным является использование бутобетона. Для раствора берут портландцемент марки 300–600. Если грунт на участке влажный, его заменяют на цемент ГИДРО-S. Заложенный фундамент (ленточный или столбчатый) выравнивают с помощью строительного уровня, покрывают цементной стяжкой и оставляют до затвердения, после чего возводят заграждение. Чтобы придать ему красивый внешний вид, кладку выполняют одним из представленных ниже методов (рис. 18).

Рис. 18. Разновидности кирпичной кладки: а – английская обычная, б – английская садовая; в – фламандская
Сплошной забор сооружают также из бетонных блоков, имеющих разную форму, цвет и имитирующих природный камень. Вниманием пользуются и ветрозаслонные блоки, которые отличаются дырчатой структурой. Некоторые разновидности таких материалов представлены на рис. 19.

Рис. 19. Разновидности бетонно-блочного ограждения: а – блоки, имитирующие натуральный камень; б – ветрозаслонные блоки
Заборы из мелкоштучных блоков выкладывают таким же образом, как и кирпичные, то есть с перевязкой швов и на раствор. При использовании пустотелых материалов фундамент армируют так, чтобы металлические прутки вошли внутрь блоков, благодаря чему прочность и надежность кладки усиливаются. Затем пустоты заполняют раствором. При возведении кирпичного и бетонного заграждения контролируют горизонтальность и вертикальность кладки, а также ровность углов. Такие конструкции нередко украшают, выкладывая в них ниши, скамейки и т. п. Их выполняют одновременно с основной кладкой, армируя через каждые 5 рядов.
Кладка блоков, стилизованных под натуральный камень, имеет свои особенности. Так как камни различаются размерами и формой, обязательная перевязка швов нарушается. Но определенный порядок все же соблюдают. Сначала залитый и выровненный фундамент оставляют на 1 сутки. Затем, не дав ему окончательно затвердеть, начинают кладку и вдавливают первые камни прямо в раствор. Остальные укладывают, соблюдая горизонтальность и вертикальность швов, не допуская образования пустот. Излишек раствора удаляют. По окончании работ для большей декоративности швы расшивают. Защищают такой забор бетонные плитки для мощения, которые должны выступать за ограду. Их кладут на слой обычного раствора толщиной 10 мм.
Весьма солидно смотрится каменный забор из тесаного камня или постелистого бута, для которого необходим прочный ленточный фундамент. Используют камни среднего размера, поскольку тяжелые трудно поднять одному человеку. Их подбирают так, чтобы одна более или менее ровная сторона была ориентирована наружу. Толщина кладки должна составлять не менее 40 см. При длине ограждения более 20 м через каждые 80-100 см выкладывают опорные столбы. Кладку ведут на растворе или насухо. Последний вариант отличается большей декоративностью, поскольку толщина стен возрастает. Вместо раствора пустоты заполняют почвенной смесью с семенами, которые в дальнейшем прорастут и украсят конструкцию.
Для кирпичного и комбинированного заграждения на столбчатом фундаменте кладут кирпичные (каменные) столбы не менее чем в 1/2 кирпича (рис. 20). Одновременно с кладкой в них помещают металлические штыри, к которым затем крепят заполнение, калитку и ворота.

Рис. 20. Возможные конструкции ограждения: а – сплошной бутобетонный забор; б – кирпичный каркас с рамами-конвертами; в – забор с кирпичным каркасом и забиркой; 1 – фундамент; 2 – кладка; 3 – столб каркаса; 4 – крепежный элемент; 5 – рама-конверт; 6 – забирка
Между столбами выкладывают стенку-забирку, благодаря которой на участок не смогут проникнуть животные. При песчаном, скальном или гравийном грунте фундамент под нее не устраивают. Если он глинистый, тогда выкапывают канавку глубиной 15 см, насыпают слой песка, уплотняют и выкладывают забирку в 1/2 или 1 кирпич.
В качестве столбов используют асбестоцементные или металлические трубы и дерево. Сначала устанавливают угловые столбы, которые задают направление всему ряду. Деревянные покрывают антисептиками, а металлические – антикоррозионными средствами. Чтобы грунтовые воды не проникли внутрь труб, их затыкают бетоном или пластиковой пробкой. Затем роют ямы на глубину 100–120 см. Их диаметр должен превышать толщину столба в 2 раза. На дно насыпают слой песка толщиной 20 см и уплотняют его. Далее строго посередине вертикально устанавливают столб, который слоями заливают бетонным раствором, одновременно уплотняя их. Последней порции придают форму конуса, который должен быть выше уровня земли. Для большей прочности его железнят.
Для деревянных заборов используют древесину твердых и мягких пород (лиственница, сосна и др.), которая не должна иметь трещин, гнили и т. п. Перед использованием ее обрабатывают антисептическими составами. Деревянная ограда может быть выполнена в виде:
– частокола (кольев, вбитых прямо в землю и образующих сплошное заграждение), но этот способ крайне неэкономичен, поскольку требует много материала;
– дощатого забора (досок, расположенных по горизонтали, вертикали, диагонали и прибитых к вертикальным столбам);
– штакетника (ограждения из досок-штакетин, установленных вертикально и прикрепленных к горизонтальным прожилинам);
– ограждения пастбищного типа (невысоких столбов с двумя поперечными жердями-прожилинами);
– плетня (ограды, сплетенной из тонких ветвей).
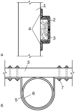
Поперечину забора фиксируют разными способами в зависимости от материала столбов. К деревянным ее крепят врубкой вполдерева, к металлическим – стальными скобами толщиной 5–6 мм или приваренным арматурным прутком диаметром 10–12 мм, а к асбестоцементным трубам – хомутами, выполненными из полосовой стали толщиной 2–3 мм. Последние два способа показаны на рис. 21.

Рис. 21. Выполнение крепления поперечин к столбам: а – к металлическому столбу; б – к асбестоцементному столбу; 1 – металлическая труба; 2 – скоба; 3 – поперечина; 4 – места сварки; 5 – хомут; 6 – асбестоцементная труба; 7 – болт
Штакетины прибивают к поперечинам гвоздями или крепят шурупами. Аккуратным забор будет в том случае, если его выровнять по верхнему краю или сохранить одинаковое расстояние между отдельными элементами. С данной целью делают шаблон из реек, соединив их под углом в 90°. Их ширина должна совпадать с шириной штакетин (рис. 22), которые можно прибивать по-разному (рис. 23).

Рис. 22. Использование шаблона для набивания штакетника