Всего за 45 руб. Купить полную версию

Рис. 23. Варианты дизайна забора из штакетника
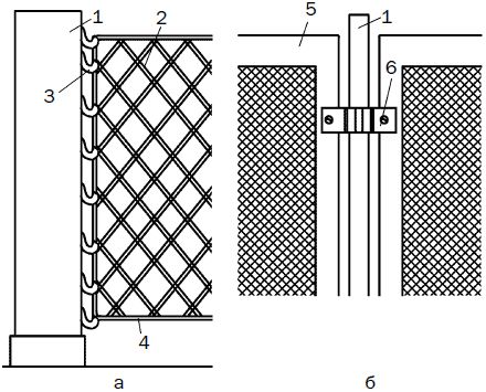
Забор из сетки-рабицы принято считать долговечным (рис. 24). Ее крепят к металлическим столбам и двум рядам проволоки диаметром 3–6 мм, которые вместе образуют каркас. Для удобства сетку надевают на проволоку, натягивают и крепят к крюкам, заранее приваренным к опорам. Ее растягивают на рамах, которые затем в готовом виде соединяют хомутами со столбами.

Рис. 24. Выполнение забора из сетки-рабицы: а – крепление сетки к столбам; б – крепление рам-конвертов; 1 – металлическая труба; 2 – сетка; 3 – крюк; 4 – проволока; 5 – рама-конверт; 6 – хомут
Забор также выполняют из кирпича и дерева, кирпича и металлической сетки, дерева и натурального камня (рис. 25).

Рис. 25. Комбинированные заборы: а – из кирпича с деревянным заполнителем; б – из кирпича и металлических рам; в – из необработанного дерева и натурального камня
Для возведения заграждения из натурального камня и необработанной древесины устанавливают каменные опорные столбы и цоколь. Поперечную прожилину выполняют из брусьев сечением 75 х 50 мм, выставляют деревянные промежуточные столбы и крепят анодированными или оцинкованными гвоздями. Под них укладывают ленточный фундамент с одновременной закладкой опорных столбов, украшенных карнизом из плитки, и цоколя. Деревянные опоры бетонируют в опорную стенку на глубину 50 см. Чтобы они сохранили вертикальное положение, их укрепляют распорками. Когда вся конструкции отвердеет, ее обшивают досками.
Забор из живой изгороди подчеркивает границы участка и украшает его. Есть 2 варианта – классический (правильной формы и с подстриженными кустами) и неформальный (с разросшимися кустарниками). В последнем случае используют боярышник, орешник, облепиху, жимолость и др.
Ворота и калитки
Они являются основными элементами фасадной стороны заграждения и должны быть связаны с ним функционально и декоративно. Отделывая калитки и ворота, используют те же приемы, что и для построек на участке. Например, по конструкции и стилю решетки на окнах, воротах и калитке должны совпадать.
Существует множество видов ворот и материалов, из которых их изготавливают, но все они должны быть прочными, долговечными и безопасными. Кроме того, общим для всех вариантов элементом является наличие фиксирующего устройства, препятствующего самопроизвольному закрыванию при ветре.
Ворота обычно состоят из двух створок общей шириной 220–240 см и высотой 160–180 см, конструкция которых зависит от предназначения. Если предполагается въезд большегрузных автомобилей или дом находится в глубине участка, ширину увеличивают до 340 см. Ширина калитки обычно составляет 100 см. Если было решено ограничиться только ею, для въезда транспорта можно устроить легко снимающийся пролет ограждения. Во время строительства ворот трудности возникают при оборудовании того отрезка дороги, который соединяет двор с проезжей частью. Если со стороны улицы вдоль ограждения проложена водосточная канава, на ее дно кладут металлическую или бетонную трубу необходимого диаметра и длиной не менее 3,5 м, которую оформляют насыпью и ограничивают по бокам деревянной опалубкой. Под столбы, на которые навешивают створки ворот и калитку, закладывают фундамент. Глубина траншеи под него должна составлять не менее 6080 см. При меньшей глубине они постепенно расшатываются, в результате чего ворота с калиткой перестают нормально закрываться. Ямы выкапывают глубиной 1 м, после чего устанавливают в них столбы, засыпают бутом, галькой или щебнем, уплотняют и заливают бетонным раствором.
Деревянные ворота и калитка конструктивно состоят из рамы и обрешетки. Рамы имеют прямоугольную форму. Их делают из брусков сечением 50 х 100 мм, связывают одинарным шипом, усиливают шурупами или нагелями и снабжают укосиной, соединяющей углы по диагонали, что предотвращает провес створок. После изготовления их навешивают на столбы, а потом выполняют обрешетку. Петли, на которые крепят ворота и калитку, относятся к амбарному типу. Чтобы зафиксировать их на металлическом или бетонном столбе, используют деревянные накладки, прикрученные болтами.
Калитку снабжают врезным замком, а ворота – запором со стороны двора. При большой ширине ворот их фиксируют слегой, вставляемой в 4 скобы. Будучи закрытыми, створки ворот упираются в ограничитель, который вкапывают посередине въезда. При открытом состоянии данную роль играет пружинный фиксатор, который состоит из стойки, выполненной из трубы диаметром 20–25 мм и длиной 40–45 мм, и любой пружины. В трубе делают косую прорезь таким образом, чтобы защелка, вырезанная из полосовой стали толщиной 3–4 мм и прикрепленная к стойке на оси, поднималась вверх до нижней кромки ворот. Раму отделывают обрешеткой в направлении от середины в стороны, причем первую планку прибивают на стыке, чтобы прикрыть его. В результате образуется своеобразный фальц, с помощью которого ворота запираются.
Если дачей пользуются в зимнее время, между заграждением и дорогой оставляют просвет высотой 10–15 см, равный высоте снежного покрова. А летом его прикрывают доской. Конструкция деревянных ворот и калитки представлена на рис. 26.

Рис. 26. Конструкция деревянных ворот и калитки: а – угловое соединение рам; б – способ навески створок: 1 – амбарная петля; 2 – клин; 3 – накладка; 4 – слега; 5 – столб; 6 – гвозди; в – цоколь ограды: 1 – штакетник; 2 – кирпич; 3 – песчаная подушка; г – запор: 1 – скоба; 2 – засов; д – стык створок: 1 – планка-фальц; 2 – правая створка; 3 – левая створка; е – ограничитель-защелка: 1 – стойка; 2 – защелка; 3 – рама створки; 4 – пружина
Не менее интересным является другой вариант – из металлического уголка, сваренного в виде рамы, которая заполнена деревянными вставками. Из современных материалов используют поликарбонат и профнастил. Они оригинальные и долговечные, а крепление их к стойкам и устройство запора не отличаются от вышеописанных. Главным правилом при устройстве ворот и калиток является то, что первые должны открываться внутрь, а вторые – наружу.
Обозначение главных магистралей
Пешеходная зона – своеобразный "скелет" участка. Дорожки играют важную роль при создании ландшафтного дизайна на территории сада или дачи. Они должны обеспечивать удобное и беспрепятственное передвижение и служить соединительным элементом, благодаря которому все составляющие участка приобретают вид гармоничной композиции. В зависимости от формы, типа укладки и вида покрытия они могут выгодно подчеркнуть особенности рельефа или, наоборот, сгладить его недостатки.
Главное назначение любой садовой дорожки – ее функциональное использование, на основании чего их делят на основные и второстепенные. Размер выбирают в зависимости от назначения. Ширина основных дорожек варьируется от 1,5 до 3 м, второстепенных – до 1,5 м. Минимальный показатель определяется расстоянием, достаточным для свободного передвижения людей и перемещения садового инвентаря.
При строительстве подъездной дороги обязательно учитывают размеры автомобиля, который будет по ней передвигаться.
Главная дорожка начинается от ворот или садовой калитки. Ее прокладывают по кратчайшему расстоянию до жилого здания, дворика, гаража или другого строения. Расположение и размеры второстепенных магистралей зависят от особенностей ландшафтного проекта и желания владельца участка. Они могут быть широкими или узкими, прямыми или извилистыми, одиночными или объединенными. Прямые дорожки идеальны для регулярного сада, а петляющие – для участка, оформленного в свободном стиле.
Размещение дорожек планируют на начальной стадии проектирования участка, учитывая особенности его рельефа, условия предполагаемой эксплуатации, особенности грунта, количество функциональных зон и их расположение. Сначала на карту наносят линии, направленные к жилым и хозяйственным помещениям, огороду, саду, зоне отдыха и другим объектам, обращая внимание на наличие возвышенностей, спусков, оврагов и водоемов. Если особенностью рельефа являются перепады высот (более 10 см на 1 м2), тогда устраивают ступени. У водоемов или впадин строят мостики. Площадь мощения, в которую входят дорожки, должна занимать от 15 до 20 % общей территории сада. Из данного пространства нужно извлечь максимальную пользу для создания транспортных коммуникаций и художественной выразительности.
Разметка дорожек