Всего за 45 руб. Купить полную версию

Рис. 5. Внешний вид циркуляционных насосов семейства "Гном"
В случае, когда нужен более точный расчет мощности циркуляционного насоса, следует учитывать такие параметры:
– диаметр труб;
– общую длину магистрали;
– материал, из которого изготовлены трубы;
– тип отопительных приборов и их количество;
– вид запорно-регулирующей аппаратуры;
– вид автоматики (если она имеется).
Если циркуляционный насос выбран правильно, с учетом всех вышеперечисленных характеристик, то он будет работать без сбоев. Промышленность выпускает так называемые регулируемые циркуляционные насосы, которые оснащены электронной регулировкой частоты вращения двигателя. Это дает возможность снизить потребление энергии в среднем на 40%, уровень шума в трубах и терморегуляторах и, как правило, удлинить срок службы агрегата. Регулируемый насос автоматически изменяет частоту вращения двигателя в зависимости от температуры в отопительной системе.
При монтаже циркуляционного насоса следует учитывать, что он не может функционировать при наличии воздуха в теплоносителе. Для решения этой проблемы в системе с принудительной циркуляцией устанавливают автоматические воздухоотводчики.
Сейчас на рынке такого рода продукции имеется множество циркуляционных насосов отечественного и зарубежного производства. Среди российских моделей наибольшей популярностью пользуются малошумные диагональные насосы типа ЦНИПС (рис. 3) или ЦВЦ (рис. 4). Обе эти модели имеют единый блок с электродвигателем и монтируются прямо на трубах.
Таблица 3
Циркуляционные насосы "Гном"

![]()
Циркуляционные насосы зарубежного производства обычно изготавливаются без сальников, с очень низким уровнем шума и имеют так называемые мокрые роторы, которые находятся непосредственно в теплоносителе и отделены от статора тонкой пленкой. Такого рода насосы имеют небольшие размеры и вес и крепятся на трубах без дополнительной опоры.
Как правило, импортные циркуляционные насосы изготавливаются из чугуна, имеют рабочее колесо, выполненное из нержавеющей стали или высокопрочного композитного материала. Защитная пленка статора также изготовлена из нержавеющей стали. В таких насосах смонтированы керамические подшипники, имеющие долгий срок службы. Практически все модели циркуляционных насосов зарубежного производства оснащены функцией деблокирования, которая дает возможность насосу работать в режиме коротких включений или выключений при попадании инородных тел или при пуске агрегата после длительного периода покоя.
Конфигурация систем водяного отопления
В систему водяного отопления загородного дома обычно включаются:
• котельная;
• система разводки трубопроводов;
• отопительные приборы.
Такого рода системы отопления имеют несколько вариантов разводки труб, которые зависят от:
• места прокладки подающей магистрали;
• способа соединения отопительных приборов и подающих стояков;
• расположения стояков;
• схемы прокладки магистрали.
В табл. 4 указаны данные по выбору конфигурации системы водяного отопления.
Таблица 4
Выбор конфигурации системы водяного отопления в зависимости от особенностей дома


Информацию, данную в этой таблице, обязательно стоит учитывать, т. к. именно от схемы разводки трубопроводов зачастую зависит комфорт в доме.
Теперь стоит пояснить, что такое системы с верхней и нижней разводкой магистралей.
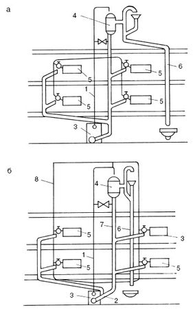
В первом случае нагретый теплоноситель поступает в стояки сверху, т. е. с чердака, во втором случае – снизу, из подвала. Стоит заметить, что независимо от схемы разводки расширительный бак устанавливают всегда в самой высокой точке, а водогрейный котел монтируют внизу (подвал или первый этаж). Весьма наглядно это показано на рис. 6.
Системы водяного отопления по схеме расположения труб стояков подразделяются на: однотрубные горизонтальные, однотрубные вертикальные, двухтрубные, тупиковые двухтрубные вертикальные, проточные двухтрубные с попутным движением воды и т. д. Расскажем подробнее о некоторых из них.

Рис. 6. Двухтрубная схема водяного отопления: а – с верхней разводкой; б – с нижней разводкой; 1 – главный стояк; 2 – обратный трубопровод; 3 – котел; 4 – расширительный бак; 5 – нагревательные приборы; 6 – перелив; 7 – предохранительный трубопровод; 8 – воздушная труба
Однотрубная горизонтальная система
В этой системе вода течет в одном направлении, а минимальная длина трубопровода обеспечивается за счет того, что вода после прохождения через отопительные приборы возвращается в подающую систему. Таким образом, расход в подающем трубопроводе является постоянным на всем его протяжении, а температура снижается. Это связано с тем, что поступает более холодная вода из отопительных приборов. При фиксированном теплоподводе площадь теплоотдающей поверхности отопительного прибора должна возрастать с увеличением расстояния от водонагревателя.
Серьезным недостатком однотрубной горизонтальной системы является невозможность регулирования теплового потока, т. е. отопительный прибор может работать только при полностью открытом или закрытом приборном вентиле. Частичное регулирование можно выполнять с помощью специальных устройств, однако это редко является экономически оправданным. В частности, для выполнения перепуска теплоносителя через перекрытый отопительный прибор следует смонтировать специальные перемычки, так называемые байпасы. Как это сделать, показано на рис. 7.

Рис. 7. Перепуск теплоносителя через перекрытый радиатор с помощью байпаса: 1 – байпас; 2 – радиатор
Данные перемычки дают возможность регулировать объем поступающей в отопительные приборы воды, но их установка довольно часто ухудшает внешний вид системы и повышает температуру на поверхности трубы стояка и перепуска.
Однотрубная вертикальная система
Для тех домов, которые имеют более чем один этаж, как правило, используют разновидность однотрубной системы с верхней разводкой и прокладкой по чердаку подающего трубопровода, от которого вниз отходят параллельные вертикальные стояки для подачи воды в радиаторы. Они должны находиться на разных этажах строго один над другим. При этом температура воды в подающем трубопроводе одинакова в точке входа в любой нисходящий стояк, т. е. изменение температуры возникает уже в самих стояках. При использовании системы с вертикальными стояками все отопительные приборы подсоединяются к общему стояку независимо от того, на каком этаже они расположены (рис. 8).
По сравнению с двухтрубными, однотрубные системы водяного отопления имеют более эстетичный внешний вид и небольшую сметную стоимость. Но устраивать их можно только в тех домах, где есть чердак, т. к. это дает возможность смонтировать систему с верхней разводкой.