Всего за 45 руб. Купить полную версию
Системы с естественной циркуляцией теплоносителя
В такого рода системах движение теплоносителя возникает под действием гравитационной силы, возникающей за счет разности плотности теплоносителя в подающих и обратных трубах. Поскольку плотность горячей воды меньше, она значительно легче холодной. Разность плотности охлажденной и горячей воды создает в отопительной системе гидростатический напор, дающий теплоносителю возможность перемещаться от источника нагревания к радиаторам (или трубам) и обратно. То есть происходит вытеснение горячей воды холодной. Вода нагревается в котле, становится более легкой и вследствие этого поднимается по подающему трубопроводу (главному стояку) вверх. Оттуда она поступает в разводящие подающие стояки и попадает в отопительные приборы. По мере продвижения по трубам вода остывает, становится тяжелее. После этого охлажденная вода от отопительных приборов движется в обратном направлении, т. е. спускается вниз по обратным стоякам и общей обратной магистрали, попадает в отопительный котел, откуда вытесняет легкую нагретую воду. Поскольку разность нагретой и охлажденной воды постоянно существует, то отопительная система функционирует беспрерывно.
В системе с естественной циркуляцией так же, как в системе с принудительной циркуляцией, имеется циркуляционный напор. Его величина зависит от двух факторов:
– разности температур нагретой и охлажденной воды. Как правило, температура горячей воды в системе равна 95° С, охлажденной – 70° С. Для защиты подающей магистрали и недопущения падения температуры воды, а значит, и уменьшения гидростатического давления в системе главный стояк закрывают теплоизоляционным материалом. Обратные магистрали монтируют без утеплителя, т. к. только в этом случае вода будет охлаждаться до нужной температуры и создавать циркуляционный напор;
– от места нахождения отопительных приборов по отношению к теплогенератору (источнику нагрева). Известно, что чем выше расположен отопительный прибор над котлом, тем больше будет значение циркуляционного давления. Значит, циркуляционное давление отопительных приборов, находящихся на втором этаже, будет значительно выше, чем то же значение приборов первого этажа. Отопительные приборы, расположенные на одном уровне с теплогенератором или стоящие ниже его, нагреваются слабо и воздух в помещениях прогревают плохо. Оптимальное расстояние между центрами теплогенератора и отопительного прибора должно равняться 3 м.
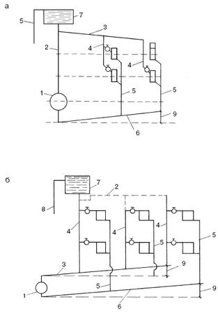
Отопительные системы с естественной циркуляцией теплоносителя подразделяются на системы с верхней и нижней разводкой (рис. 1).

Рис. 1. Система с естественной циркуляцией теплоносителя: а – верхняя разводка; б – нижняя разводка; 1 – котел; 2 – воздушная линия (главный стояк); 3 – разводящая линия; 4 – горячие стояки; 5 – обратные стояки; 6 – обратная линия; 7 – расширительный бак; 8 – сигнальная линия; 9 – уклон
Действуют обе эти системы аналогично. Различаются они только расположением подающей магистрали. Система с естественной циркуляцией имеет следующие достоинства:
– равномерное распределение нагретого воздуха в жилых помещениях, что дает дополнительный комфорт. Высокие показатели комфортности зависят от саморегуляции системы отопления, т. е. от изменения температуры и плотности воды;
– простота устройства и обслуживания;
– отсутствие вибрации и шума, потому что нет циркуляционного насоса;
– долгий срок службы системы отопления.
И все же, даже при наличии множества плюсов, такие системы отопления используются все реже и реже (в основном в сельской местности). В настоящее время в загородных домах применяются отопительные системы, в которых имеются циркуляционные насосы. Такое явление вызвано тем, что у данного вида систем имеется ряд недостатков:
– большой диаметр труб, что ведет к значительному расходу стройматериалов;
– большие затраты на установку отопительной системы;
– значительные энергозатраты, т. е. большой расход топлива;
– большие затраты времени на включение системы отопления;
– отсутствие возможности регулировки температуры нагретого воздуха;
– частые случаи замерзания воды в трубопроводах, смонтированных в неотапливаемых помещениях;
– неэстетичный вид проложенного трубопровода из-за большого диаметра труб.
Исходя из перечисленных недостатков, следует признать, что система отопления с естественной циркуляцией теплоносителя довольно часто оказывается малоэффективной и экономически невыгодной.
Отопительные системы с принудительной циркуляцией теплоносителя
В системах такого типа движение теплоносителя по трубопроводам происходит за счет работы циркуляционного насоса, который обеспечивает бесперебойную работу в отопительной системе и подключается к обратной магистрали. Это продляет срок службы всех узлов, контактирующих с горячей водой. Также к обратной магистрали подключают и расширительный бак (о нем будет подробно рассказано в соответствующей главе).
Отопительные системы с принудительной циркуляцией используют в многоэтажных коттеджах, т. к. наличие насоса позволяет намного увеличивать длину трубопроводов, а также применять новые монтажные схемы отопительной системы (рис. 2).
Но использовать отопительные системы с принудительной циркуляцией теплоносителя можно только в тех случаях, когда имеется возможность бесперебойной подачи электроэнергии, потому что циркуляционные насосы работают от сети.
К достоинствам отопительной системы с принудительной циркуляцией можно отнести:
– большую теплоотдачу;
– незначительные потери теплоносителя на испарение;
– возможность использовать трубы небольшого диаметра. Это значительно сокращает расход материалов и время на монтаж системы;

Рис. 2. Водяное отопление с принудительной циркуляцией: а – нижняя разводка: 1 – котел; 2 – главный стояк; 3 – расширительный бак; 4 – сигнальная линия; 5 – подающая линия; 6 – воздухосборник; 7 – подающие стояки; 8 – обратные стояки; 9 – обратная линия; 10 – насос; 11 – расширительная труба; б – верхняя разводка: 1 – котел; 2 – подающая линия; 3 – обратная линия; 4 – подающие стояки; 5 – обратные стояки; 6 – воздушная линия; 7 – воздухосборник; 8 – расширительный бак; 9 – насос; 10 – расширительная труба
– небольшой разрыв в температуре нагретого и охлажденного теплоносителя, что намного увеличивает срок службы водогрейного котла;
– наличие регулировки мощности всей системы отопления и температуры воздуха в помещениях.
В общем и целом отопительная система с принудительной циркуляцией теплоносителя намного удобнее в эксплуатации и обслуживании.
Выбор циркуляционного насоса
Как правило, выбором отопительных приборов и оборудования занимаются специалисты. Но бывают случаи, когда нет возможности воспользоваться услугами профессионала и все работы хозяин выполняет сам. Чтобы облегчить эту задачу, необходимо разобраться в некоторых тонкостях.
Для того чтобы циркуляционный насос хорошо и долго работал, он должен обладать следующими качествами:
– потреблять небольшое количество электроэнергии;
– надежно работать без вмешательства специалиста по техобслуживанию;
– иметь долгий срок службы.
Если ваш загородный дом имеет площадь, равную 250 м2, то необходим циркуляционный насос производительностью до 3,5 м3/ч и максимальным напором до 0,4 атм. При площади дома, составляющей от 250 до 350 м2, нужен насос производительностью до 4,5 м3/ч и максимальным напором до 0,6 атм. Для обогрева дома площадью от 350 до 800 м2 рекомендуется насос производительностью до 11 м3/ч и максимальным напором до 0,8 атм.

Рис. 3. Циркуляционный насос ЦНИПС: 1 – колесо рабочее; 2 – корпус насоса; 3 – уплотнение-сальник; 4 – вал двигателя

Рис. 4. Диагональный насос ЦВЦ: 1 – корпус; 2 – нагнетательный патрубок; 3 – контрфланец для присоединения трубы; 4 – электродвигатель