Всего за 45 руб. Купить полную версию
Радиаторы
Радиаторы – это отопительные приборы с двумя способами отдачи тепла: конвективным и радиационным. На конвекцию приходится 75% от общего теплового потока, а на радиацию – 25%.
Конструктивно радиаторы водяного отопления делятся на секционные и панельные. Первые изготавливаются из чугуна, стали и алюминия. Вторые могут быть стальными и биметаллическими (сталь и алюминий).
На российском рынке в наше время можно найти не только радиаторы отечественного производства, но и импортные. Но вторые покупать нужно только в том случае, когда вся отопительная система импортная. В противном случае зарубежные радиаторы быстро выйдут из строя, потому что они не рассчитаны на жесткую воду с механическими примесями.
Секционные чугунные радиаторы являются самым распространенным видом отопительных приборов в России. Их производят с начала ХХ в. Популярность данного вида приборов обусловлена тем, что стальные и алюминиевые радиаторы имеют недостаточную прочность для российских теплосетей.
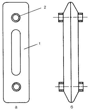
Чугунный радиатор состоит из одно– или многоколончатых секций с каналами круглого или эллипсовидного сечения. Самыми распространенными являются радиаторы с двухколончатыми секциями высотой 50 см (рис. 35). Между собой секции соединяются ниппелями с картонными, резиновыми или паронитовыми прокладками.
Обычно чугунные радиаторы рассчитаны на рабочее давление 6-9 атм, опрессовочное (испытательное) – 15-18 атм и максимальную температуру теплоносителя – 130° С. Они имеют следующие положительные свойства:
• большую тепловую мощность;
• высокую механическую прочность;
• хорошую коррозионную стойкость;
• невосприимчивость к плохому качеству теплоносителя.
К недостаткам этих отопительных приборов можно отнести:
• большую металлоемкость;
• высокую тепловую инерцию;
• нестойкость к гидравлическим ударам в системе;
• несоответствие санитарно-гигиеническим нормам;
• большие трудозатраты при транспортировке и установке из-за большого веса радиатора;
• неэстетичный внешний вид.

Рис. 35. Секция радиатора двухколончатая: а – вид в разрезе; б – вид сбоку; 1 – колонки; 2 – внутренняя резьба
Секционные алюминиевые радиаторы по популярности в нашей стране идут вторыми после чугунных. Они представляют собой прессованные секции и коллекторы, которые изготавливаются из алюминиевого сплава с добавлением кремния (он придает металлу необходимую прочность на разрыв). Алюминиевые радиаторы выпускаются в двух вариантах:
а) литые отопительные приборы (каждая секция отливается как отдельная деталь);
б) экструзионные радиаторы (каждая секция состоит из трех элементов, соединенных между собой специальными болтами). Герметичность соединений достигается за счет уплотнительных элементов или с помощью клеевого соединения.
У алюминиевых радиаторов также имеются свои плюсы и минусы. К положительным качествам можно отнести:
• повышенную теплоотдачу за счет оребрения секций;
• высокую скорость нагрева (нагреваются в несколько раз быстрее, чем чугунные);
• экономичность потребления энергии;
• возможность регулировки температуры воздуха в помещении;
• небольшую массу;
• простоту установки и транспортировки;
• современный дизайн.
Большинство алюминиевых радиаторов рассчитано на рабочее давление 6-25 атм, опрессовочное давление – 9-37 атм, максимальную температуру теплоносителя – 130° С.
К недостаткам алюминиевых радиаторов относятся:
• невысокая конвективная способность;
• повышенное газообразование, которое приводит к воздушным пробкам в системе отопления;
• высокая вероятность возникновения протечек между секциями;
• концентрация тепла на оребрении.
В продаже имеются также анодированные радиаторы, которые изготавливают из алюминия высшей степени очистки с последующим полным анодным оксидированием всей поверхности. Анодное оксидирование изменяет структуру алюминия, тем самым защищая радиатор от всех видов коррозии, а также других вредных воздействий. Для соединения элементов радиатора между собой применяются не ниппели, а сухие наружные муфты. Благодаря этому внутренняя поверхность отопительных приборов остается гладкой. Такой способ соединения исключает образование застоев теплоносителя и засоров системы. Теплоотдача анодированных радиаторов значительно выше, чем простых алюминиевых.

Рис. 36. Стальные панельные радиаторы: а – колончатой формы; б – змеевиковой двухходовой; в – змеевиковой четырехходовой; 1 – колонки
Анодированные радиаторы рассчитаны на рабочее давление 50-70 атм, а разрушаться они начинают только при давлении 215 атм!
Стальные панельные радиаторы (рис. 36) представляют собой два штампованных стальных листа толщиной 1,4-1,5 мм, соединенных между собой двумя способами:
а) горизонтальными коллекторами, соединенными вертикальными колонками (колончатая форма);
б) горизонтальными параллельно и последовательно соединенными каналами, приваренными к одной панели (форма змеевика).
Стальные панели бывают одно– и двухрядными с декоративным покрытием из термостойкой эмали и без него, с ребристой или гладкой поверхностью. Такого рода отопительные приборы рассчитаны на рабочее давление 6-10 атм и максимальную температуру теплоносителя 110-150° С.
Достоинствами стальных панельных радиаторов являются:
• высокая теплоотдача;
• малая тепловая инерция;
• соответствие санитарно-гигиеническим нормам;
• небольшой вес;
• эстетичный внешний вид.
Поскольку резьбовых соединений в таком радиаторе всего два, то протечки возникают гораздо реже, чем у секционных радиаторов.
Самыми главными недостатками таких отопительных приборов являются:
• небольшая площадь нагревательной поверхности;
• невысокая коррозионная стойкость.
В табл. 34 даны технические характеристики стальных панельных радиаторов отечественного производства.
Таблица 34
Технические характеристики стальных панельных радиаторов отечественного производства



Биметаллические радиаторы обычно изготавливаются из стали и алюминия. У них практически нет недостатков, которыми обладают чисто алюминиевые или стальные радиаторы. Но они сохранили главное достоинство – высокую теплоотдачу.
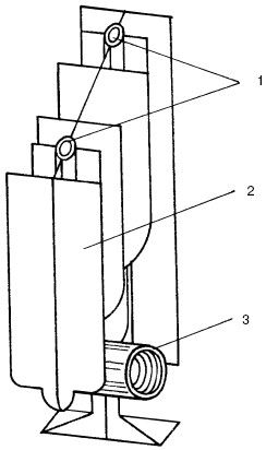
Одна секция биметаллического радиатора – это две вертикальные трубы, которые под давлением обливают алюминиевым сплавом (рис. 37). Между собой секции соединяются стальными ниппелями, герметичность обеспечивают прокладки из термостойкой каучуковой резины (она выдерживает температуру до 200° С).
Корпус в таких радиаторах имеет высокую теплоотдачу, он быстро нагревается и дает возможность регулировать расход тепла. У биметаллических радиаторов теплоноситель никогда не бывает в контакте с теплоносителем. Такого рода отопительные приборы рассчитаны на рабочее давление 25 атм и опрессовочное давление 37 атм. В связи с этим биметаллические радиаторы применяют в отопительных системах с повышенным давлением. Главным недостатком таких приборов является малый диаметр внутренних каналов.
Панельные бетонные радиаторы – это бетонные панели с бетонными, стеклянными или пластмассовыми каналами различной формы и с нагревательными элементами змеевиковой или регистровой конфигурации.

Рис. 37. Биметаллические радиаторы: 1 – трубы-теплоносители; 2 – элемент из алюминиевого сплава; 3 – установка прокладок
В качестве нагревательных элементов в бетонных панелях используются бетонированные стальные трубы диаметром 15-20 мм (рис. 38).

Рис. 38. Панельный радиатор из бетона
Такие радиаторы в загородных домах практически не применяются, потому что имеют множество недостатков:
• высокая тепловая инерция;
• невозможность регулировать подачу тепла в помещение;
• теплопотери через дополнительно обогреваемые наружные ограждения дома;
• значительный вес, увеличивающий трудозатраты на монтаж и ремонт прибора;
• большие габаритные размеры. Выпускаются также гладкотрубные отопительные
приборы, представляющие собой стальные трубы, которые соединяются между собой в змеевиковую или регистровую конфигурацию. Их располагают друг от друга на расстоянии меньшем, чем диаметр самих труб (рис. 39). В случае, когда данное расстояние еще меньше, трубы взаимно облучаются. Это явление значительно сокращает теплоотдачу отопительных приборов.
Если гладкотрубный прибор имеет змеевиковую форму, то скорость движения теплоносителя в нем намного больше, чем в приборе с регистровой формой.