Всего за 45 руб. Купить полную версию
Типы отопительных приборов
Все отопительные приборы классифицируют по следующим параметрам:

Рис. 31. Поперечный разрез отопительных приборов различных типов: а – секционный радиатор; б – панельный радиатор; в – гладкотрубный из трех труб; г – конвектор с кожухом; д – прибор из двух ребристых труб; 1 – канал теплоносителя; 2 – пластина; 3 – ребро трубы
– способ теплоотдачи;
– тип нагревательной поверхности;
– величина тепловой инерции;
– материал, из которого изготовлен отопительный прибор;
– высота отопительного прибора.
Теперь немного подробнее о каждом параметре. По способу теплоотдачи отопительные приборы подразделяются на несколько типов (рис. 31):
– конвективные (конвекторы и ребристые трубы);
– радиационные (потолочные излучатели);
– конвективно-радиационные (секционные и панельные радиаторы, гладкотрубные приборы).
Самый высокий уровень теплоотдачи имеют конвекторы с кожухом и секционные радиаторы, а самый низкий – гладкотрубные приборы и конвекторы без кожуха.
По типу нагревательной поверхности отопительные приборы бывают:
– с гладкой нагревательной поверхностью;
– с ребристой нагревательной поверхностью.
По величине тепловой инерции отопительные приборы можно разделить на:
– аппараты с малой тепловой инерцией;
– аппараты с большой тепловой инерцией.
Ко вторым следует отнести секционные радиаторы с большим объемом воды и медленно изменяющие теплоотдачу. К первым относятся конвекторы, имеющие небольшую массу и емкость. Они быстро изменяют теплоотдачу при регулировке входящего теплоносителя.
По материалу изготовления отопительные приборы бывают:
– металлические (чугунные, стальные, медные, алюминиевые и др.);
– керамические;
– пластмассовые;
– комбинированные.
По высоте отопительные приборы могут быть:
– высокими – более 65 см;
– средними – 40-65 см;
– низкими – 20-40 см;
– плинтусными – менее 20 см.
Конвекторы
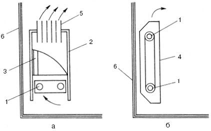
На рис. 32 изображены конвекторы, представляющие собой ребристые нагревательные приборы. Они бывают с кожухами, которые изготовлены из листового чугуна, стали, алюминия, асбестоцемента и пр. Кроме этого, конвекторы выпускаются и без кожухов.

Рис. 32. Конвекторы: а – с кожухом; б – без кожуха; нагревательный элемент; 2 – кожух; 3 – воздушный клапан; 4 – оребренные трубы; 5 – решетка; 6 – стена
Теплоотдача конвектора напрямую зависит от высоты кожуха. Без кожуха конвектор обладает теплоотдачей в 100%. При высоте кожуха 25 см этот показатель возрастет до 120%; при высоте 40 см – до 130%; при высоте 60 см – до 140%. Из этого следует, что чем выше кожух, тем больше тепловая отдача.
При сравнении конвекторов с другими видами отопительных приборов выясняется, что теплоотдача конвекторов значительно ниже. Это видно из табл. 32.
Таблица 32
Сравнительная теплоотдача различных отопительных приборов

Важно и то, что конвекторы совершенно не выдерживают гидравлических ударов системы отопления и требуют наличия теплоносителя высокого качества. Кроме этого, они создают тепловые потоки, которые поднимают в воздух пыль и другие вредные вещества, перемещая их по жилым помещениям.
При использовании конвекторов для обогрева помещений температура в них не всегда бывает комфортной. Это связано с тем, что потоки нагретого воздуха поднимаются вверх и скапливаются под потолком, а холодный воздух оттесняется к полу.
Несмотря на все отрицательные стороны использования конвекторов, они являются самыми популярными отопительными приборами во всем мире. Это объясняется тем, что они обладают небольшим весом, малой металлоемкостью, прекрасным внешним видом, простотой монтажа и эксплуатации.
В настоящее время российские фирмы стали выпускать конвекторы, ни в чем не уступающие зарубежным аналогам. По некоторым параметрам они даже лучше, потому что адаптированы к российским условиям. Это означает, что отечественным конвекторам не нужен теплоноситель слишком хорошего качества, они не нуждаются в установке дополнительных очистительных фильтров и в предварительной подготовке воды. В табл. 33 даны технические характеристики конвекторов российских фирм-производителей.
Таблица 33
Технические характеристики конвекторов отечественного производства



Ребристые трубы
Такого рода трубы бывают чугунными, имеют длину 1-2 м. Внутри ребристой трубы обычно устанавливается фланцевая труба для теплоносителя (рис. 33).
Из-за множества тонких ребер площадь нагревательной поверхности отопительного прибора увеличивается в несколько раз. Обычно ребристые трубы устанавливают в несколько рядов. Между собой они соединяются по схеме змеевика фланцами и двойными фланцевыми отводами.

Рис. 33. Труба ребристая чугунная с круглыми ребрами: 1 – канал теплоносителя; 2 – ребра; 3 – фланец (все размеры даны в мм)
Эти отопительные приборы имеют несколько положительных свойств:
• невысокую стоимость;
• небольшую температуру наружной нагревательной поверхности при высокой температуре теплоносителя;
• компактность;
• простоту установки.
Как и все отопительные приборы, ребристые трубы имеют и ряд недостатков, к которым можно отнести:
• довольно значительный вес;
• неустойчивость к механическим повреждениям;
• несоответствие санитарно-гигиеническим требованиям, т. е. из-за наличия большого количества ребер отопительный прибор трудно содержать в чистоте;
• непривлекательный дизайн.
Поэтому ребристые трубы, как правило, устанавливают в хозяйственных постройках.
Потолочные излучатели
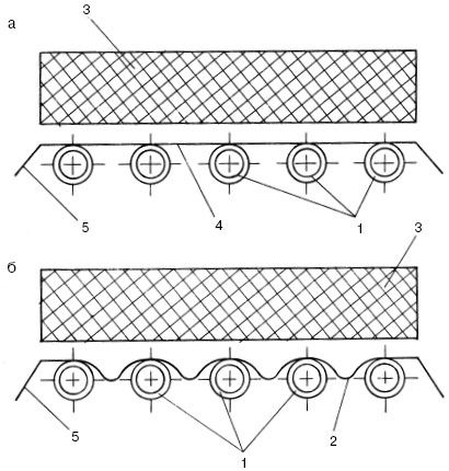
Такого рода отопительные приборы относятся к классу радиационных аппаратов, т. е., нагреваясь сами, они излучают тепло (рис. 34). Радиационный способ обогрева помещений представляет собой взаимный лучистый обмен между предметами, конструкциями дома и отопительными приборами.

Рис. 34. Потолочные излучатели: а – с плоским экраном; б – с волнообразным экраном; 1 – нагревательные элементы; 2 – волнообразный экран; 3 – теплоизоляция; 4 – плоский экран; 5 козырек
При обогреве помещения потолочными излучателями люди чувствуют себя более комфортно, чем при отоплении конвективным способом. Это объясняется тем, что при понижении температуры окружающего воздуха примерно на 2° С увеличивается конвективная теплоотдача человека, а это очень сильно влияет на улучшение его самочувствия. Оптимальная температура в помещении, обогреваемом конвекторами, составляет 19,3° С, а при отоплении потолочными излучателями – 17,4° С.
Потолочные излучатели имеют множество достоинств. Они создают микроклимат, благоприятный для человека, обеспечивают сильный нагрев внутренних поверхностей жилища и, как следствие, уменьшение теплоотдачи человека, а также значительно уменьшают тепловую энергию, требующуюся на обогрев помещения.
Наряду с достоинствами, конечно же, имеются и недостатки. К ним можно отнести:
• большую тепловую инерцию;
• теплопотери через наружные ограждения;
• монтаж дополнительной арматуры для регулировки теплоотдачи бетонных панелей.