
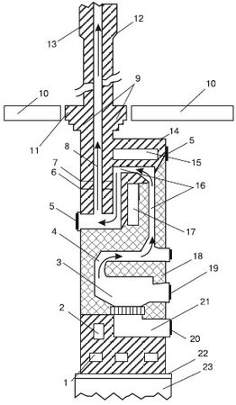
Рис. 3.11. Устройство бытовой печи:
1 – шанцы; 2 – подтопочный канал; 3 – топливник; 4 – проем в перекрытии топливника (хайло); 5 – прочистные отверстия; 6, 7 – задвижки; 8 – дымовой канал (дымоход); 9 – разделка; 10 – перекрытие; 11 – теплоизоляция; 12 – выдра; 13 – дымовая труба; 14 – перекрыша; 15 – душник; 16 – конвективная система; 17 – камера; 18 – свод; 19, 20 – дверцы; 21 – зольниковая камера (поддувало, зольник); 22 – гидроизоляция; 23 – фундамент
Установка печи
Перед кладкой печи необходимо определить ее место в помещении. Она должна не "конфликтовать" с другими конструкциями дома и гармонично вписываться в интерьер.
Чаще всего печь устанавливают в ближайшем к входной двери углу капитальной внутренней стены (здесь же проходят и дымовые каналы). Это освобождает часть полезной площади помещения. При капитальных ремонтах зданий печи необходимо устанавливать как можно ближе к дымовой трубе, чтобы топить можно было из коридора или другого нежилого помещения.
Рекомендую в качестве наиболее практичного варианта открытую установку отопительной печи, при которой весь ее массив будет отдавать теплоту непосредственно в помещение.
Между стеной дома и боковыми стенами печи всегда оставляют небольшой промежуток – отступку, ширина которой варьируется довольно сильно – от 0,14 до 2 м. Отступка меньше 0,14 м уменьшает теплоотдачу стены, расположенной в ней. Ширина отступки больше 2 м не допускается (это может нарушить систему дымоходов печи).
Внимание
Если необходимо отапливать только одну комнату, печь нельзя размещать вплотную к стенам. Такая установка снизит отопительную способность печной поверхности и повысит расход топлива.
Для отопления двух смежных помещений печь устанавливают во внутренней перегородке между ними. Угловая (прямоугольная) печь, расположенная в перегородке, способна отапливать три смежных помещения. Основным преимуществом размещения печей таким образом является то, что это упрощает установку дымовой трубы, поскольку одна из внутренних перегородок служит ей опорой. Толщина опорной перегородки – 1 кирпич (не менее 0,25 м).
Печи в двухэтажном доме располагают таким образом, чтобы одна обогревала не более трех помещений на одном этаже. В этих случаях могут также применяться двухъярусные печи. Они имеют одну общую топку, которая находится на первом этаже.
При установке печи следует учитывать, что отдача тепла помещениям дома каждой из ее сторон должна равняться теплопотере. Все поверхности печи должны быть рабочими, то есть беспрепятственно отдавать тепло помещениям дома. Кроме того, необходимо предусмотреть легкий доступ к печи для контроля ее работы и чистки.
Необходимо отметить, что при эксплуатации печи могут возникать неудобства, связанные с циркуляцией воздушных масс. Теплый воздух поднимается вверх, а охлаждаясь, опускается вниз. Это создает дискомфорт жильцам дома. Чтобы этого не происходило, иногда печь размещают у стен внешнего ограждения.
Еще одним минусом является то, что данная установка требует теплоизоляции газоходов (во избежание отложения конденсата на их внутренней поверхности). А это, свою очередь, ухудшает тягу и увеличивает степень загрязнения комнат.
Если в доме все помещения примыкают к общему коридору, печи располагают с доступом к ним из него (или из подсобок). При этом помещения должны хорошо вентилироваться. Каналы печного отопления и вентиляции располагают отдельно и на расстоянии один от другого. Обычно внешнюю поверхность печи штукатурят. В качестве отделочных материалов используются керамическая плитка, листовая сталь, асбестоцемент и т. п.
Конструкция печи зависит от вида применяемого топлива и связана с особенностями ее возведения, а также используемым материалом, толщиной стенок и высотой.
Габариты печи – основной фактор создания оптимальной температуры внутренних помещений дома. Работа грамотно устроенной печи – в стабильном и равномерном распределении теплого воздуха, пожаро-безопасности, удобстве в ремонте и эксплуатации. Такая печь должна не нарушать архитектуру дома, вписываться в интерьер, работать на местном топливе, не портить экологию окружающей среды.
Расчет отопления должен производиться с учетом теплопотерь остальных конструктивных элементов дома: дверей, стен (с учетом материалов изготовления), окон, различных перекрытий, необходимо учитывать также температуру воздуха вне здания и т. д.
Дымовые каналы
Отвод дымовых газов происходит или через внутристенные газоходы, или через насадные (коренные) дымовые трубы.
Внутристенные дымовые каналы располагают в кирпичной кладке стен. Они соединяются непосредственно с самой печью через горизонтальные металлические патрубки размером до 40 см. Насадные трубы помещают над печью.
Стенки топливника и газоходов изготавливают из кирпича, керамики, огнеупорного бетона. На газоходах не допускается установка вентиляционных решеток.
Примечание
Печь и камин в дачном домике располагают в смежных комнатах, топливные отходы при этом выводятся через общий дымоход. Таков же принцип установки и двух отопительных печей.
Существует классификация конвективных систем печей и соединения газоходов:
♦ последовательное соединение газоходов:
• однооборотные системы (один подъемный канал);
• двухоборотные (два подъемных канала);
• многооборотные (более двух подъемных каналов);
♦ параллельное соединение газоходов:
• однооборотные системы;
• двухоборотные;
• бесканальные;
♦ комбинированные газоходы (со свободным движением газов и нижним прогревом):
• последовательные системы;
• параллельные;
• бесканальные (надтопочная часть);
♦ последовательное соединение газоходов с расположением вокруг тепловоздушных камер.
Неисправности печей и их устранение
Наиболее распространенные неисправности печного оборудования и способы их устранения представлены в табл. 3.1.
Таблица 3.1. Неисправности печей, их причины и способы устранения


Чтобы избежать возникновения неисправностей в печном оборудовании, необходимо строго следовать правилам топки, которые предусматривают горизонтальную укладку дров в топливнике, обязательную просушку сырого топлива, использование дров одинаковой толщины (6–9 см). Не рекомендуется применять легковоспламеняющиеся вещества: бензин, спирт, керосин и т. д.
Перед топкой следует открыть топочную дверцу и задвижку (вьюшку). Когда дрова разгорятся, нужно одновременно закрыть топочную дверцу и прикрыть поддувальную дверцу. Несвоевременное и неплотное закрывание дымовой трубы после окончания топки приводит к тепло-потерям и охлаждению печи.
Внимание
Топка 2–3 раза в месяц осиновыми дровами предотвратит возгорание сажи в трубе. Осиновый дым разрыхляет сажу, и за счет тяги она удаляется из трубы.
По окончании топки убедитесь, что дрова полностью прогорели. Тлеющие дрова (при закрытой дверце) могут выделять опасный для здоровья угарный газ.
Не забывайте о том, что печь требует постоянного ухода, ее необходимо содержать в чистоте. Для этого существует множество приспособлений:
♦ ерш трубочистный для чистки внутренних стенок дымоходов от сажи;
♦ гиря трубочистная для чистки дымовых каналов и удаления обрушения внутри печной конструкции;
♦ ложка трубочистная для удаления мусора по окончании чистки;
♦ электролампочка на шнуре (в металлической оплетке, мощностью не более 500 Вт) для определения неплотностей в кладке;
♦ металлическая проволока для очистки дымовых каналов и вычищения завалов;
♦ ведро трубочистное с одной плоской гранью для сбора мусора и сажи после чистки печи;
♦ кочерга;
♦ совок;
♦ метелка-кисточка.
Чистка дымоходов производится через прочистные отверстия, чистка топливника и зольниковой камеры – через поддувальную дверцу.
Глава 4
Энергоснабжение дома
Совокупность устройств, предназначенных для выработки, преобразования, распределения и потребления электрической и тепловой энергии, называется энергосистемой. Энергоснабжение зданий включает в себя теплоснабжение, газоснабжение и электроснабжение.