Теплоснабжение
Система теплоснабжения имеет три составляющие: источник теплоты, трубопроводы и система теплопотребления с нагревательными приборами. Все системы теплоснабжения классифицируются в соответствии со следующими показателями:
♦ радиус действия;
♦ тип источника теплогенератора;
♦ вид теплоносителя;
♦ количество трубопроводов.
По радиусу действия системы теплоснабжения бывают местные, центральные и централизованные. К местным можно отнести электропечи, газовые системы отопления. Выработка и передача тепла в них совмещены. Такие системы располагают в небольших помещениях.
Центральные системы теплоснабжения подразумевают теплоснабжение здания любой величины от единого источника. Например, от котла, расположенного в подвальных помещениях дома либо котельной.
Система централизованного теплоснабжения обслуживает сразу несколько зданий.
По виду теплоносителя системы теплоснабжения подразделяются на паровые и водяные. В основном в котельных используются тепловые сети – трубопроводы, по которым теплоноситель (пар или горячая вода) следует из котельной или ТЭЦ к потребителям.
При выборе теплопроводящих путей следует принять во внимание следующие параметры:
♦ уровень защиты от деформации и разрушения (от нагрузок извне);
♦ тепловые потери при эксплуатации;
♦ степень надежности и долговечности.
Оборудование тепловых сетей включает в себя компенсаторы, опоры и запорную арматуру.
Наиболее выгодной с точки зрения экономии является бесканальная прокладка (в монолитных оболочках или засыпная) тепловых сетей, которая обойдется дешевле на 30–40 %. При данном варианте прокладки механическое воздействие со стороны грунта передается на теплопровод, покрытый теплоизоляцией; строительные конструкции отсутствуют.
В случае совмещенной прокладки теплопроводы прокладывают в коллекторах (проходных каналах) вместе с остальными коммуникациями (водопроводом, кабелями, газопроводом с давлением до 0,6 Па). В проходных каналах необходимо обязательно предусмотреть вентиляцию, их высота должна составлять от 1,8 до 2 м. Люки выхода нужно устанавливать по трассе канала через каждые 300 м на глубину 0,5–1,0 м. Все люки должны быть снабжены откидной лестницей.
Трубопроводы тепловых сетей изготавливают из стали (способ изготовления – бесшовный горячекатаный). Их диаметр – 0,025-0,4 м. Устанавливают с уклоном 0,002. Вверху размещают воздухоспусковые устройства, внизу – дренажные спуски. Запорную арматуру располагают на каждом из ответвлений в точках присоединения к магистрали и отдельному зданию.
Укладка трубопроводов в каналах производится на подвесные полы. Установка опоры зависит от веса теплоносителя, а также от веса и диаметра труб.
Газоснабжение
Источник газоснабжения – природный газ, транспортируемый по магистральным трубопроводам. Материал изготовления труб – сталь горячей сварки. Глубина закладки газопровода должна гарантировать его защиту от повреждений. Минимальной является глубина не менее 0,8 м до верхней точки трубы. При транспортировке влажного газа газопровод прокладывают ниже зоны промерзания грунта с уклоном от 0,002. Внизу газопровода ставят устройства для отвода конденсата.
Внимание
Для жилых зданий используется газ низкого давления – до 5 кПа.
Газопроводы с низким давлением совмещают с другими коммуникационными системами – теплопроводом, водопроводом, канализацией. Все коммуникации должны сообщаться в проходных коллекторах при постоянной вентиляции.
Внимание
Совместная прокладка трубопроводов в непроходных каналах неприменима.
Перед закладкой газопроводы изолируют антикоррозионными материалами (полиэтиленом, битумом).
Для равномерного распределения газа стояки размещают по всем этажам здания. При воздушной прокладке газопровода (по стене здания) вводы располагают в кухонных помещениях, при подземной прокладке – рядом с лестницей.
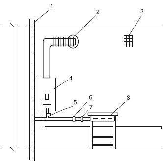
Газовые плиты устанавливают в кухонном помещении с высотой не менее 2 м. Обязательно наличие естественной вентиляции (рис. 4.1).

Рис. 4.1. Подводка газа к газовым приборам:
1 – газовый стояк; 2 – дымоход; 3 – вытяжная вентиляция; 4 – газовый водонагреватель; 5 – кран газового водонагревателя; 6 – кран газовой плиты; 7 – сгон; 8 – газовая плита
Если вы используете 2-конфорочную плиту, объем кухни должен быть не менее 8 м, при 4-конфорочной – не менее 15 м.
В связи с возможностью аварии запрещена прокладка газопроводов и установка газовых приборов в подвальных помещениях.
Электроснабжение
Электрооборудование представляет собой весь комплекс устанавливаемых в зданиях электротехнических устройств, к которым относятся: электрические машины, осветительные приборы, электроприборы систем отопления, вентиляции и водоснабжения. Электроэнергия передается и распределяется с помощью электрических сетей.
Электрические сети прокладывают с помощью изолированных (кабели и провода) и неизолированных проводников (медные, алюминиевые и стальные провода и шины).
Все электрооборудование, к которому относятся трансформаторы, измерительные приборы, кабели, аппараты защиты и т. п., можно объединить под общим понятием – электроустановки. В своей совокупности они являются электроприемниками энергии.
Электроустановки, называемые подстанциями, служат для преобразования и распределения электроэнергии. Их конструкционные составляющие:
♦ преобразователи энергии (трансформаторы и т. п.);
♦ распределительные устройства (мощностью как до, так и выше 1000 В);
♦ аккумуляторная батарея;
♦ устройства управления;
♦ вспомогательные установки.
Подстанция, работающая на постоянном напряжении (без преобразования и трансформации энергии), называется распределительным пунктом. Область его применения – городская электрическая сеть, промышленные здания.
Питающей считается сеть, идущая от распределительного устройства или пункта до вводного или вводно-распределительного устройства, а также главного распределительного щита. Распределительная сеть идет от вводного, вводно-распределительного устройства или распределительного щита здания до распределительных щитков. Групповая – от распределительных щитков здания до осветительных приборов, розеток и других электроприборов.
Внимание
Номинальное напряжение для всех сетей в странах СНГ – от 220 до 380 В. В других странах оно отличается, например в США – 110 В.
Разбивка сетей на группы производится в зависимости от типа электроприборов. Таким образом, можно выделить следующие сети:
♦ розеточные, осветительные и т. д.;
♦ дымовыводящие;
♦ снеговыводящие;
♦ воздушно-тепловые;
♦ силовые (подъемные, открывающие механизмы);
♦ теплых полов;
♦ вентиляции (кондиционирования);
♦ кухонного оборудования;
♦ охранного оборудования;
♦ пожарного оборудования;
♦ тепло-, газо– и водоснабжения;
♦ канализации;
♦ телекоммуникационные и т. д.
Необходимо учитывать, что некоторые электроприемники групповых сетей работают на напряжении не более 12 В (слаботочная система).
По типу установленных электроприемников различают дома 1-й и 2-й категории.
Дома 1-й категории. Площадь – свыше 600 м, наличие всех типов сетей, высокий уровень автоматизации и комфорта (установка современного и дорогого электрооборудования). Отсутствует какое-либо ограничение по использованию электроустановок.
В эту же категорию входят и дома среднего класса, в которых используется менее дорогое электрооборудование.
Дома 2-й категории – это дома пониженного комфорта. Имеют ограниченное количество сетей с минимальной автоматизацией.
Состав их энергообеспечения:
♦ групповые осветительные (розеточные) сети;
♦ групповые сети для питания стиральных машин, плит, телерадиоаппаратуры, холодильников, пылесосов и т. п.
Примечание
Прежде чем "начинять" свой дом электричеством, необходимо подать обращение в органы госнадзора на получение важнейшего специального документа о "технических условиях" подключения. Перед подачей обращения нужно выбрать схему электросети и определить установленную и расчетную нагрузку на вводах в здание. В обращении должны отражаться все этапы установки электросети.
Категории электроприемников
Электроприборы здания подразделяются на категории в зависимости от качества электроснабжения.
Первая категория. Остановка или перерыв в электроснабжении создает угрозу для жизни и нарушает работу особо важных установок.
Вторая категория. Перерыв в электроснабжении нарушает нормальную деятельность большого числа людей (жилые, общественные здания).
Третья категория. Электроприемники, не входящие в 1-ю и 2-ю категорию.
В частных домах среднего и высшего класса категория электроприемников (2-я или 3-я) устанавливается на усмотрение владельцев.