
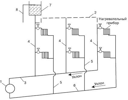
Рис. 3.10. Схема системы водяного отопления с естественной циркуляцией (нижняя разводка):
1 – котел; 2 – воздушная линия; 3 – разводящая линия; 4 – горячие стояки; 5 – обратные стояки; 6 – обратная линия; 7 – расширительный бак; 8 – сигнальная линия
Типы присоединений отопительных приборов:
♦ однотрубные – присоединение к одному стояку;
♦ двухтрубные – параллельное присоединение к горячему и обратному стоякам;
♦ проточные – последовательное прохождение воды через все отопительные приборы, примыкающие к стояку.
Горизонтальная однотрубная система водяного отопления применима в индивидуальных домах (до двух этажей). Эта система характеризуется совместным функционированием подводки, стояка и магистрали.
Главная предпосылка нормального функционирования системы водяного отопления – удаление из нее воздуха. Для этого рекомендуется вертикальная (или с уклоном) прокладка трубопроводов. Над ними устанавливают воздухоотводящие устройства. Для систем с естественной циркуляцией характерна прокладка горизонтальных труб с уклоном по направлению движения воды. Нижние магистрали всегда прокладывают с уклоном в сторону водонагревателя. Рекомендуемый уклон на 1 м трубы – 5 мм.
Существуют определенные правила установки нагревательных приборов под окнами:
♦ центры прибора и окна должны совпадать (максимально допустимое отклонение – 20 мм);
♦ для простоты уборки минимальное расстояние от пола до основания прибора должно быть 60 мм;
♦ минимальное расстояние от верха прибора до подоконника – 50 мм (с целью удобства доступа при ремонте);
♦ ребра следует располагать вертикально;
♦ для всех нагревательных устройств должна использоваться одноуровневая установка;
♦ радиаторы необходимо размещать на кронштейнах.
Монтаж и регулировка водяного отопления
В целом монтаж отопительной системы подразумевает установку нагревательных устройств (расширительных баков, котлов, радиаторов и т. д.) и сборку трубопроводной системы (установку запорно-регули-рующей и измерительной арматуры). Начинают монтаж с установки нагревательных приборов или сборки стояков.
Монтажную регулировку системы водяного отопления проводят при пробном (проверочном) пуске отопительной системы. По ее завершении на корпусах кранов устанавливают стационарные розетки с узким отверстием, в которое вставляют рукоятку (ее помещают на квадратный верх шпинделя). Рукоятка поворачивает стакан, что уменьшает проходное отверстие корпуса. Таким же способом производится вторичная регулировка.
Количественная регулировка теплоотдачи производится из общей (центральной) или местной (предназначенной непосредственно для прибора) точки. При этом измеряют количество воды, поступающей в отопительную установку.
Применяемая для местного регулирования арматура – краны двойной регулировки или трехходовые краны. При этом их обязательно устанавливают на всех подводках нагревательных приборов.
Составляющие детали крана двойной регулировки:
♦ корпус;
♦ бронзовый стакан (полый с двумя боковыми отверстиями, находится внутри корпуса);
♦ шпиндель (имеет внизу наружную резьбу, соединен со стаканом).
Принцип действия крана таков. При вращении шпинделя стакан двигается вверх и вниз, при этом боковые отверстия полностью или частично закрывают проход корпуса.
Внимание
Если в доме применяется верхняя разводка, наибольшее прикрытие прохода корпуса кранов производится на верхних этажах при полном открытии их проходов на первом этаже. Этот метод установки позволяет гасить излишнее давление у приборов верхнего этажа.
Трехходовые краны применяют при регулировке нагревательных устройств однотрубной системы с нижней разводкой.
Запорно-регулирующая арматура (проходные краны, задвижки, вентили) предназначена для отключения частей системы и регулировки их функционирования.
Радиаторы
Использование панельных радиаторов в сочетании с терморегулиру-ющей арматурой в зданиях с индивидуальными тепловыми системами, например в коттеджах, обеспечивает существенную экономию энергии, а значит и денег.
Установка радиаторов подразумевает следующие этапы.
1. Развертывание (свертывание) ниппелей (при группировке радиаторных секций). При этом используются радиаторные ключи, у которых имеются отверстия для ручки, и плоская отвертка определенной ширины – достаточной для свободного прохождения отвертки сквозь ниппельные отверстия (с упором на внутренние грани).
2. Отсоединение радиаторных секций. Для этого прибор закрепляют на верстаке и в ниппельные отверстия вставляют два радиаторных ключа. В целях обеспечения одновременного развертывания ниппелей данную операцию должны проводить два человека.
3. Присоединение радиаторных секций. Две соединяемые части кладут на верстак. Ниппели смазывают олифой, одевают прокладки, а затем вкручивают ниппели вручную на 1–2 резьбовые линии. После этого подводят к ним дополнительную радиаторную секцию и производят одновременное (двумя ключами) завертывание ниппелей в секции до упора. Тем самым предотвращается перекос радиаторных частей.
Внимание
При разборке радиатора действия производятся в обратном порядке.
4. Гидравлическая прессовка для выявления трещин (протечек). Собранный радиатор подключают к гидравлическому прессу, после чего одновременно производятся выпуск воздуха и заполнение радиатора водой. Пресс создает нужное давление. Если отсутствует протечка (при ее наличии стрелка манометра падает), радиатор готов к установке. Устранить протечку можно благодаря подтяжке ниппелей.
Перед окончательной установкой на стене радиаторы следует огрунтовать и окрасить.
Печное отопление
Данный вид отопления рассмотрим более подробно, поскольку оно еще используется в 50 % домов сельской местности в странах СНГ. Кроме самого распространенного топлива – дров – применяют природный газ.
При установке печи учитываются особенности архитектуры дома, количество этажей, материал стен и размеры ограждающих элементов.
Достоинства печного отопления:
♦ низкая стоимость (относительно других видов);
♦ простота устройства;
♦ большой выбор видов топлива;
♦ вентиляция отапливаемых помещений.
Недостатки печного отопления:
♦ низкий КПД (по сравнению, например, с водяным);
♦ неравномерное распределение теплого воздуха;
♦ переохлаждение подвальных помещений;
♦ громоздкость используемых конструкций (потери полезной площади около 5–6 %);
♦ постоянная потребность в топливе;
♦ неудобства эксплуатации (загрязнение помещения топливными отходами – шлаком, золой и т. п.);
♦ риск отравления угарным газом (в основном по причине неправильного ухода);
♦ пожароопасность.
По продолжительности работы все отопительные печи можно подразделить на два основных типа:
♦ периодического действия (топятся 1–2 раза в сутки);
♦ длительного горения (топка продолжается несколько суток, при этом используется жидкое топливо или сортированный уголь).
Примечание
У печи периодического действия уровень температурного колебания воздуха не должен превышать интервал -3… +3 °C в сутки.
По количеству вырабатываемого тепла печи подразделяются на теплоемкие и нетеплоемкие. Теплоемкость печей определяется их активным объемом (всей нагревающейся площадью). У печей, считающихся теплоемкими, активный объем более 0,2 м, у нетеплоемких – меньше 0,2 м.
Нетеплоемкие печи не держат тепло, поэтому их следует топить постоянно. Область применения – дома, не рассчитанные для постоянного проживания.
Теплоемкие печи, которые сохраняют тепло до 12 ч, топят 2 раза в сутки, до 8 ч – 2–3 раза, до 3–4 ч – с небольшими интервалами от 5 раз в сутки.
В зависимости от используемых материалов все печи классифицируются следующим образом (по возрастанию их теплоемкости):
♦ чугунные (без футеровки (защитной отделки));
♦ стальные (с внутренней футеровкой из огнеупорного кирпича);
♦ кирпичные (устанавливаются в металлических футлярах);
♦ из огнеупорного бетона;
♦ кирпичные (со штукатуркой);
♦ кирпичные изразцовые.
Основные элементы печного устройства представлены на рис. 3.11.
Принцип действия печи таков. Тепло, выделяемое в ней при сгорании топлива, передается помещению через стенки топливника и газоходов; охладившиеся газы отводятся наружу через дымовую трубу.