
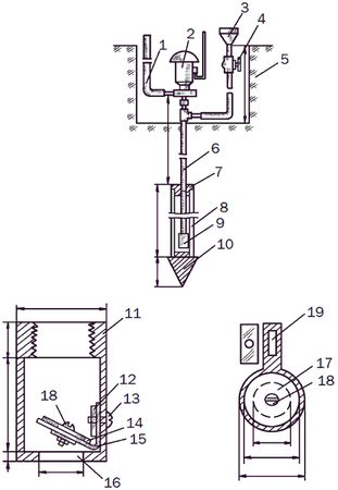
Рис. 26. Насосная установка: 1 – нагнетательный патрубок; 2 – насос; 3 и 4 – детали заливного устройства; 5 – бетонированная яма; 6 и 9 – заборные труба и клапан; 7 – переходная втулка; 8 – фильтр; 10 – наконечник; 11 – корпус клапана; 12 – прижимная пластина; 13 – винт; 14 и 17 – шайбы; 15 – эластичный язычок; 16 – входное отверстие; 18 – болт; 19 – регулировочное отверстие.
Перед монтажом следующей насосной установки после бурения скважины копают яму глубиной 2,5 м, стенки и дно которой цементируют. Основанием насосной установки (рис. 26) служит оцинкованная труба, на верхнем конце которой монтируют насос, например "Кама-3", и заливное устройство, а на нижнем – фильтр с заборным клапаном. Фильтр изготавливают из отрезка трубы диаметром 2 дюйма и длиной 2 м. В ней просверливают как можно больше отверстий диаметром 8–10 мм. После этого трубу обертывают мелкой нержавеющей сеткой, продольный стык которой пропаивают, а концы припаивают к трубе. В верхнюю часть корпуса фильтра вставляют и закрепляют болтами переходную втулку с резьбовым внутренним отверстием. В нее сверху ввинчивают заборную трубу, а снизу – отрезок трубы того же диаметра и длиной около 190 см. На нижний конец этого отрезка трубы навинчивают корпус заборного клапана. Его располагают внутри фильтра в нижней его части.
Заборный клапан состоит из цилиндрического корпуса длиной 60 мм, наружным диаметром 40-45 мм. Корпус выполняют из нержавеющей стали или бронзы. В верхней части корпуса делают отверстие с винтовой резьбой под трубу диаметром 1 дюйм, а в дне – входное отверстие диаметром 20 мм. Внутри корпуса закрепляют язычок из резины, сверху и снизу которого для жесткости накладывают шайбы диаметром 25 и 15 мм. Язычок и шайбу в центре скрепляют болтом с гайкой 3–5 мм. Собранный язычок с помощью прижимной пластины и винта крепят основанием к стенке корпуса. В основании язычка делают регулировочное продолговатое отверстие.
В нижней части корпуса фильтра закрепляют на винтовой резьбе или двумя болтами стальную заглушку в виде конуса, что облегчает запрессовку насосной установки в пробуренную скважину.
После сборки установку заглубляют в скважину так, чтобы весь фильтр вошел в водоносный слой. На верхнем конце трубы монтируют заливное устройство, присоединяют шлангом насос и подключают его к электросети. Скважина готова к эксплуатации.
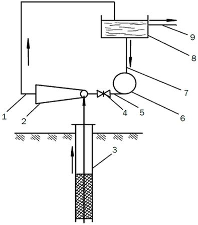
При узкой скважине и глубине залегания воды 7–8 м можно использовать следующее самодельное подъемное устройство (рис. 27).

Рис. 27. Устройство для подъема воды: 1, 5 и 7 – трубопроводы; 2 – эжектор; 3 – обсадная труба; 4 – вентиль; 6 – насос; 8 – бак; 9 – выпускной трубопровод.
Для него понадобится насос типа "Кама-3". Напорный патрубок насоса через трубопровод соединяют с вентилем и напорным патрубком эжектора. Эжектор всасывающим патрубком соединяют с обсадной трубой скважины, а его диффузор через трубопровод – с установленным выше насоса баком емкостью 10 л.
Трубопровод связывает бак с всасывающим патрубком насоса. Бак также снабжают выпускным трубопроводом для подачи воды потребителю. Все соединения проверяют на герметичность.
Бак заполняют водой и открывают вентиль. Включают насос, из бака через него проходит вода, которая затем под давлением поступает через напорный патрубок эжектора в камеру смещения, и диффузор возвращается в бак. Благодаря такой циркуляции в камере смещения эжектора создается разрежение, и из скважины всасывается вода. Она поступает по трубопроводу в бак. Уровень воды в баке постепенно повышается, и она вытекает через выпускной трубопровод. Перед отключением насоса закрывают вентиль. Производительность насосной установки – 650 л/час.
Для подъема воды из скважины и колодца можно использовать силу ветра. Над устьем колодца устанавливают опору, на которой закрепляют подставку с водосборником. В нем размещают поплавок со смонтированной на нем крыльчаткой от ветрового двигателя. На оси крыльчатки крепят барабан с пористой резиновой лентой шириной 25 см и толщиной 3 см. Такую же ленту надевают на другой вращающийся барабан и опускают его в колодец.
Сбоку барабана крыльчатки вдоль его оси монтируют отжимной вал, под которым размещают водоприемный лоток. Водосборник соединяют с резервуаром с помощью трубы. В нижней части резервуара устанавливают выливную трубу, в верхней – контрольную трубку, сообщающуюся с колодцем.
При вращении крыльчатки перемещается лента, пропитанная водой. Отжимной вал выжимает из нее воду, которая по лотку поступает в резервуар. С помощью такого устройства из колодца можно поднимать до 130 м3 воды в сутки.
Самодельные приспособления и системы полива
Водонапорные емкости
При отсутствии централизованного водопровода дачный домик, садовый участок или сельскую усадьбу можно обеспечивать водой из местных источников с использованием водонапорного бака, который устанавливают на чердаке дома или специальной подставке на земле. Бак неплохо бы оборудовать датчиками уровня – автоматическими устройствами управления насосом.
Рабочий объем водонапорного бака выбирают в зависимости от предполагаемого суточного потребления (расхода воды). Если использовать бак для питьевой воды, его лучше сделать из нержавеющей стали или строительной стали с антикоррозийным покрытием. В самом крайнем случае для емкости можно использовать большую деревянную бочку.
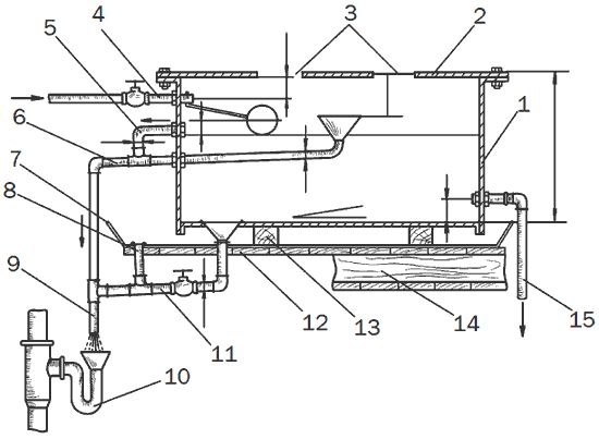
Форму бака выбирают в зависимости от требуемого объема: небольшой бак делают квадратным или прямоугольным, а при значительном объеме – круглым. Водонапорный бак оборудуют подающей трубой диаметром 12-19 мм, а также отводящей, сигнальной переливной и спускной трубами (рис. 28). Если вода из местного источника содержит большое количество осадков, отводящую трубу подсоединяют немного выше дна бака, а спускную трубу объединяют с переливной, чтобы периодически сливать грязь. Для поддержания нормального водообмена в баке подающую и отводящую трубы устанавливают на диаметрально противоположных стенках, а в крышке предусматривают вентиляционные отверстия, прикрытые сетками, с целью предотвращения появления затхлого запаха воды.
Если водонапорный бак находится на чердаке дома или бани, деревянные балки следует предохранять от попадания на них влаги. Под бак необходимо установить поддон для сбора конденсата в виде деревянного настила, покрытого листовой оцинкованной сталью. Поддон надо устанавливать с небольшим уклоном к отверстию для слива конденсата. Внутри бака переливную и спускную трубы оборудуют воронками для обеспечения интенсивного слива.
Сад, огород, газоны и цветники на каждом садовом и приусадебном участках нуждаются в регулярном поливе теплой водой, поэтому обычно емкости для хранения и подогрева воды оборудуют на освещенном солнцем месте. Очень удобна в эксплуатации водонапорная емкость, которую устанавливают на высоте 3-4 м над землей (рис. 29).

Рис. 28. Устройство водонапорного бака: 1 – корпус бака; 2 – крышка; 3 – вырезы (вентиляционные с сеткой для установки датчиков уровня); 4 – подающая труба централизованного водопровода с вентилем и запорным поплавковым клапаном; 5 – сигнальная труба; 6 – переливная труба с воронкой; 7 – поддон; 8 – сливное отверстие поддона; 9 – общая труба (шланг) водослива; 10 – сифон с водоприемной воронкой; 11 – сливная труба с воронкой и вентилем; 12 – настил поддона; 13 – балка – подставка бака; 14 – балка перекрытия с подшивкой потолка; 15 – отводящая труба.
Стойку для нее обычно делают из старых водопроводных труб или деревянных брусков. Для этого 4 опоры жестко скрепляют между собой, сверху устраивают настил из толстых досок и устанавливают там емкость, которую красят в черный или темно-коричневый цвет, чтобы вода быстрее нагревалась на солнце.
Емкость наполняют водой из централизованного водопровода с помощью шланга либо насоса из колодца или скважины, расположенной на участке.
Водоразбор осуществляется самотеком через поливочный шланг с насадками для разбрызгивания воды.

Рис. 29. Водонапорная емкость для полива.
Традиционная система орошения на дачном и приусадебном участке состоит из водопроводных труб, проложенных поверх почвы на всей площади (рис. 30). Трубы снабжены кранами и насадками для разбрызгивания воды.