Эффективно будет работать и насос, собранный следующим способом. Недалеко от берега озера или пруда в дно втыкают кол и привязывают к нему бревно весом 60-80 кг. Перпендикулярно к нему устанавливают небольшую латунную гофрированную трубку диаметром 0,8 см. Внутрь трубки вставляют 2 резиновых клапана и от ее верхнего конца протягивают к грядкам тонкий шланг. При ветре, дующем со скоростью 2–3 м/сек, волны будут мерно раскачивать бревно, гофрированная трубка станет сжиматься и расправляться, засасывая при этом 25–100 м3 воды в сутки.
Добывать воду из колодца можно с помощью длинной стальной трубы. Ее нижний край опускают под воду на 1,2–1,5 м. При глубине колодца до 10 м диаметр трубы должен быть от 60 до 100 мм, при глубине от 20 до 40 м – от 25 до 40 мм. Перед тем как окунуть трубу в колодец, необходимо пропустить через нее шнур с закрепленными на нем многочисленными одинаковыми шайбами из толстого каучука (можно вырезать из старых приводных ремней), диаметр которых равен внутреннему диаметру трубы. Место соединения каждой шайбы со шнуром заливают гудроном. Концы шнура связывают между собой. Этот бесконечный трос надевают на ворот колодца, где выдолблены пазы для шайб и прибиты упорные планки, которые цепляют шайбы на шнуре при вращении вала. Когда начинают крутить ворот, шайбы ползут вверх, захватывая и протаскивая по трубе порции воды. Этот самодельный водоподъемник в 20 раз производительнее обычного ручного способа извлечения воды из колодца.
В системах местного водоснабжения целесообразно автоматизировать включение и выключение насоса по уровню воды в водонапорных баках с помощью поплавковых или контактных датчиков.
Простейший поплавковый датчик состоит из поплавка, переключателя, блока, троса с упорами и груза противовеса. Он рассчитан на перепад до 150 мм между верхним и нижним уровнями воды. По мере расходования воды поплавок, опускаясь, поворачивает коромысло, которое замыкает контакты переключателя и с помощью магнитного пускателя включает насос. Выключение происходит в обратном порядке.
Поплавковый датчик надежной конструкции можно сделать самим из двух клавишных выключателей. Они рассчитаны на ток в 6 А, что вполне достаточно для запуска электромагнитных насосов.
Параллельное включение двух клавиш обеспечивает разрыв обоих проводов питания насоса, что отвечает требованиям техники безопасности. На рис. 22 приведены схемы самодельных автоматических устройств управления насосами, где НУВ – нижний уровень воды, ВУВ – верхний уровень воды, МП – магнитный пускатель, ПР – пусковое реле, Тр – трансформатор пускового реле, УВ – уровень воды, КВУ – контакт верхнего уровня, КНУ – контакт нижнего уровня, I-II – контакты включения магнитного пускателя, III-IV – контакты пускового реле.
На рисунке показаны варианты поплавковых датчиков. В первом варианте для открытых баков большой емкости поплавок соединен с противовесом с помощью тросика, перекинутого через блок. На тросике закреплен шарик, который по мере подъема или опускания поплавка, перемещаясь, включает или выключает клавиши двух параллельно закрепленных выключателей. Противовес уравновешивается регулировочным грузиком, закрепленным около поплавка.
При необходимости измерения уровня в колодцах, водосборных камерах и других глубоких резервуарах датчик делают в виде поплавка со штангой, которая, перемещаясь в направляющих с помощью ролика, обеспечивает срабатывание обоих параллельно закрепленных выключателей.

Рис. 22. Самодельные автоматические устройства управления насосами: а – электросхема с поплавковым датчиком; б – схема датчика с визуальным указателем; в – общий вид самодельного клавишного датчика; г – электросхема контактного датчика; д – схема рычажного датчика; 1 – бак; 2 – поплавок; 3 – блок; 4 – трос; 5 – упор; 6 – коромысло переключателя; 7 – противовес; 8 – насос; 9 – регулировочный груз; 10 – клавишные выключатели; 11 – шарик; 12 – клавишный выключатель аварийной сигнализации; 13 – корпус с клавишного датчика; ВУВ – верхний уровень воды; НУВ – нижний уровень воды; МП – магнитный пускатель; ПР – пусковое реле; Тр – трансформатор пускового реле; I-II – контакты включения магнитного пускателя; III-IV – контакты пускового реле.
Для закрытых водонапорных баков применяются поплавковые рычажные датчики, которые можно оборудовать дополнительным клавишным выключателем аварийной сигнализации, срабатывающей при переполнении бака.
Контактный датчик можно выполнить из стальной трубы с двумя закрепленными на ней стальными пластинами, которые представляют собой контакты верхнего и нижнего уровня воды. Когда вода заполнит бак и достигнет верхнего контакта, электрическая цепь разомкнется, насос выключится. При расходовании воды и достижении ею уровня нижнего контакта насос включится.
В настоящее время в продаже имеется автомат управления и защиты, который легко используется в комплекте с любым насосом, включая и вибрационные типа "Малыш" (рис. 23), "Ручеек", "Оазис" и другие. С помощью этого устройства вода легко и быстро подается из любого резервуара – бака, колодца, скважины. Кроме того, в нем предусмотрена защита насосов от "сухого хода" и перепадов напряжения в сети. Если обзавестись дополнительным количеством армированного шланга, хомутов, кранов, несколькими тройниками, резьбовыми штуцерами и двусторонними сгонами, можно провести летний поливочный водопровод на участке более 10 соток. Следует знать, что это миниатюрное устройство не меняет давления в водопроводе – оно остается таким, какое создает работающий насос.

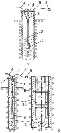
Рис. 23. Использование электронасоса "Малыш": а – в шахтном колодце; б – в трубчатом колодце (скважине); 1 – насос; 2 – соединение провода со шлангом; 3 – капроновый шнур; 4 – резиновая пружинящая подвеска; 5 – провод; 6 – шланг; 7 – перекладина; 8 – вилка; 9 – кольцо; 10 – обсадная труба скважины.
Для создания движения воды в искусственных водоемах также используют электронасосы. Самым простым устройством для приведения воды в движение является погружной водяной насос. Обычно такие насосы заключены в пластмассовый водонепроницаемый кожух, имеют небольшую мощность, потребляют мало энергии и вполне пригодны для сооружения фонтанов на дачных и приусадебных участках. При этом насос опускают в водоем так, чтобы он находился на высоте 10 см от поверхности дна. Обычно его устанавливают на кирпичи или опускают в черное пластмассовое ведро, которое ставят прямо на дно водоема. Можно заключить насос в керамический кожух, сделанный в виде природного камня. Насос подсоединяют к электросети с помощью тщательно заизолированного кабеля (рис. 24).
Технические характеристики насоса должны соответствовать фонтану. Так, при высоте струи до 1,2 м подойдет низковольтный погружной насос; при высоте струи до 2 м – погружной насос, работающий от электросети; при высоте струи более 2 м требуется применение надводного электронасоса.
Поршневой насос НР-3 работает с приводом от качелей. При этом вместо ручки насоса используют качели, соединяя шток поршня насоса с кривошипом, жестко закрепленным на шарнирной перекладине качелей (рис. 25).

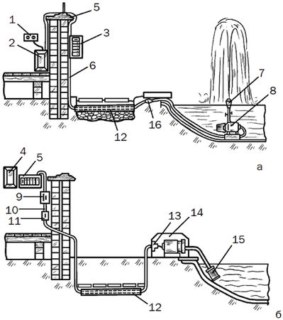
Рис. 24. Принципиальные схемы технического решения по сооружению фонтана в водоеме: а – для пруда с фонтаном и погружным насосом; б – для водоема с фильтром и наружным насосом; 1 – розетка; 2 и 4 – трансформатор для понижения напряжений; 3 – защита – прерыватель питания по току утечки (порог срабатывания 30 ма); 5 – подоконник; 6 – кабель; 7 – форсунка; 8 – погружной насос; 9 – выключатель для сада; 10 – кабель; 11 – рубильник; 12 – пластмассовая труба; 13 – водонепроницаемый разъем; 14 – кожух насоса; 15 – фильтр; 16 – водонепроницаемый разъем.

Рис. 25. Поршневой насос с приводом от качелей: 1 – качели; 2 – ручка; 3 – всасывающая труба; 4 – обсадная труба; 5 – обратный клапан; 6 – шток поршня; 7 – кривошип.