
Рис. 19. Работа погружного насоса: 1 – насос; 2 – скважина; 3 – обсадная труба с фильтром; 4 – электрический кабель; 5 – шланг или труба.
Если глубина скважины до воды не более 7 м, откачку воды производят как погружными насосами, так и центробежными. Центробежный насос устанавливают вне шахты на поверхности земли.
Максимальная высота всасывания воды при нулевой температуре – до 10 м, а практически не более 7 м. Запуск центробежного насоса выполняется после предварительного заполнения водой самого насоса и его всасывающей трубы.
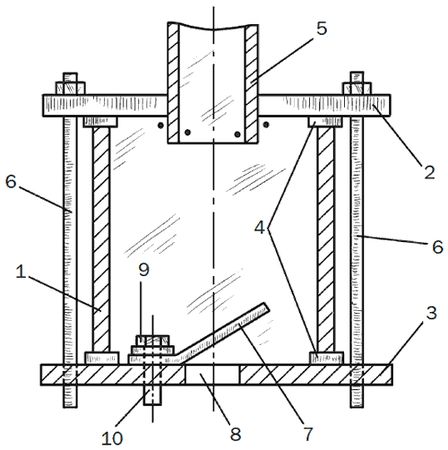
Для повторного запуска необходимо эту воду удержать в системе применением на конце всасывающей трубы обратного клапана (рис. 20). При этом требуется обеспечить герметичность между седлом обратного клапана и его подвижной частью. Если эти детали металлические, при попадании между ними твердой частицы образуется щель, и вода стекает в скважину. Повторный запуск при этом без заполнения насоса водой невозможен.
Обратный клапан с высокой степенью надежности можно изготовить самим. Одна из его контактирующих поверхностей должна быть эластичной, поэтому ее корпус выполняют из пластмассы.
Боковые стенки клапана представляют собой цилиндр, а дно и крышка – пластмассовые пластины. По бокам цилиндра имеются две уплотнительные прокладки, верхний патрубок, пластмассовая трубочка и язычок клапана из эластичной резины. Стяжные болты изготовлены из нержавеющей стали. Основание язычка обратного клапана следует прикрепить к нижней пластине со всасывающим отверстием с помощью пластины-накладки и маленького винта из нержавеющего металла.

Рис. 20. Обратный клапан для всасывающей трубы: 1 – пластмассовый цилиндр; 2 и 3 – пластмассовые пластины; 4 – уплотнительные прокладки; 5 – верхний патрубок; 6 – стяжные болты; 7 – язычок клапана; 8 – всасывающее отверстие; 9 – пластина-накладка; 10 – винт.
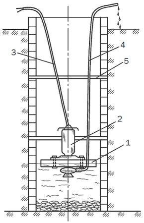
Откачка воды из колодца механическим способом может производиться с помощью центробежного насоса, смонтированного на поплавке. В этом случае он работает при переменном уровне воды в колодце. Поплавок с насосом и электродвигателем должен свободно передвигаться по вертикали, и напорная труба или шланг не должны ему мешать, иначе поплавок опрокинется, и система выйдет из строя. На рис. 21 показан разрез колодца с поплавком из листа пенопласта на поверхности воды. На поплавке установлен центробежный насос с электродвигателем постоянного или переменного тока, к которому подведен электрический кабель, а от насоса выведена напорная труба. Рабочее колесо данного центробежного насоса закрытого типа, внешний диаметр насоса – 700 мм, подача воды – до 1,5 м3/час, напор до 20 м, частота вращения рабочего колеса до 15 об/сек.

Рис. 21. Схема откачки воды насосом, расположенным на поплавке: 1 – поплавок; 2 – насос; 3 – электрический кабель; 4 – напорная труба; 5 – цементный шов.
Бытовые насосные установки
Насосы являются основными агрегатами системы водоснабжения садовых и приусадебных участков. Привод насоса может осуществляться от двигателя внутреннего сгорания, электромотора, электромагнита или же быть ручным.
Насосы всех типов предназначены для подъема воды из колодцев, скважин, бассейнов, прудов и других источников для снабжения ею участка. Предпочтение рекомендуется отдавать электромагнитным насосам, которые по своим экономическим, техническим и эксплуатационным показателям несколько превосходят насосы других типов.
Бытовой насос АН–2К-9 приводится в действие двигателем внутреннего сгорания 2СД-М1 мощностью 2 л. с. при максимальном расходе бензина 0,9 л/час.
Кроме двигателя, агрегат имеет бензобак, сам насос, всасывающий трубопровод и раму. Расчетная подача воды – 20 м3/час, расчетный напор – 18 м. Длина агрегата составляет 600 мм, ширина – 392 мм, высота – 602 мм, а весит он более 39 кг без учета веса всасывающей трубы.
Центробежный бензомоторный насос ЦБН-2 состоит из двигателя "Дружба-4" мощностью 4 л. с., центробежного насоса и приемного клапана. Производительность насоса 10 м3/час при расходе топлива 550 г/час и весе 9,5 кг.
Центробежный насос "Поток" при общем напоре 20 м имеет производительность 4,5 м3/час. Насос питается от сети переменного тока 220 В. Диаметр насоса – 200 мм, высота – 308 мм, вес – 5,3 кг.
Электронасос "Агидель" менее экономичен, чем предыдущий насос. При высоте 340 мм, диаметре 215 мм и массе 11 кг его производительность всего 1,5 м3/час, а напор – 18 м.
Погружной электромагнитный насос НЭБ 1/20 питается от сети переменного тока 220 В. Масса насоса всего 7 кг. Он предназначен для извлечения воды из колодцев и скважин диаметром более 200 мм с любой глубины до 20 м. Объемная подача воды с глубины 20 м не менее 1000 л/час.
Насос должен работать погруженным в воду и не соприкасаясь со стенками и дном колодца (не менее 20 см до дна). Непрерывное время работы насоса не должно превышать 2 часа с последующим перерывом 15-20 минут. В сутки можно эксплуатировать насос не более 12 часов. Малогабаритный бытовой вибрационный электронасос "Родничок" питается от сети переменного тока 220 В, обладает производительностью 0,5 м3/час при длине 264 мм, диаметре 76 см и массе 2,4 кг.
Малогабаритные электромагнитные насосы "Малыш" и "Струмок" имеют одинаковые технические показатели. Объем подачи воды зависит от высоты подъема и при величине 1 м составляет 1500 л/час, а при 40 м – 370 л/час. Оба насоса водонепроницаемы и могут находиться постоянно погруженными в емкость или колодец.
Каждый владелец участка, использующий электронасос, должен помнить о правилах личной безопасности. Нельзя касаться включенного в сеть насоса, перемещать или поднимать работающий насос в водоеме, колодце или скважине. Отключать насос от сети следует с помощью реле, разъединяющего сразу оба провода. Ручной поршневой насос БКФ-4 приводят в действие рукояткой, закрепленной на валу. За двойной ход поршня перекачивается 1,3 л воды. Наибольшее число двойных ходов поршня при качании – 40 в минуту, наибольший напор – 30 м при высоте всасывания 4,5 м. Работу насоса обеспечивает механическая система из двух коромысел и удлинительных тяг.
Поршневой насос НР-3 с ручным приводом используют в трубчатом колодце в комплекте с обсадной трубой с фильтром. Внутри обсадной трубы размещают всасывающую трубу с обратным клапаном, подсоединенную к поршневой группе насоса. Производительность насоса за двойной ход – 1,1 л. Максимальная высота всасывания – 6 м при массе насоса 20 кг вместе с колонкой.
Для извлечения воды из озера, пруда или других водоемов лучше всего использовать электромагнитный насос, установленный на автомобильной камере. Камеру накачивают, перетягивают двумя параллельными бандажами из мягкой проволоки так, чтобы между ними вошло основание насоса. На проволоку кладут две деревянные планки сечением 3 х 4 см, к которым и прикрепляют насос с помощью шурупов. Во всасывающее отверстие насоса вворачивают отрезок трубы с резьбой на обоих концах и на нижний наворачивают фильтр так, чтобы он был выше нижней кромки резиновой камеры, иначе насос может быстро забиться грязью со дна водоема. В выходное отверстие насоса вворачивают вторую трубку и надевают на нее поливочный шланг.
Недостатком промышленных насосов является то, что они хорошо работают лишь с расходом влаги более 1,5 м3/час. На небольших водоемах можно использовать шестеренчатый или масляный насос от списанного грузового автомобиля типа ГАЗ-51. Для этого следует изготовить фланец, просверлив в нем 2 отверстия диаметром 1,9 см против масляных каналов, и приварить к каждому патрубок. При соединении насоса и фланца между ними помещают прокладку. Фланец закрепляют на рамке-основании с помощью специального кронштейна из уголковой стали. К тому же основанию присоединяют электродвигатель мощностью 0,4–0,6 кВт, обеспечивающий 1400 об/мин, что позволяет перекачивать 0,4–0,7 м3/час воды. Валы электродвигателя и насоса следует отцентрировать и сжать резиновой муфтой. Насос погружают в водоем вертикально и включают в сеть.
Самодельные насосные установки
Некоторые садоводы рекомендуют самодельные насосы для извлечения воды из небольших водоемов, колодцев и скважин. Например, устанавливают на треногу железную бочку. В стенку бочки вваривают выпускной кран. Сверху вставляют пробку с отверстием диаметром 30-40 мм и резьбой, чтобы можно было ввинтить в пробку штуцер. На штуцер надевают шланг диаметром 40 мм, другой конец которого опущен в водоем. Выпускной кран закрывают, вливают в бочку 300 мл воды и подогревают ее, включив подо дном примус или паяльную лампу. Вода быстро закипает, пар гонит воздух из бочки в водоем. Затем резко прекращают подогревать бочку, давление пара в ней падает, и вода устремляется в обратном направлении. Такой импровизированный насос накачивает 200 л воды за считаные минуты. Чтобы дело пошло еще быстрее, бочку утепляют, обертывают плотной тканью или мешковиной в несколько слоев.