
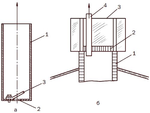
Рис. 16. Устройство скважины: а – нижняя, подземная, часть; б – верхняя, надземная, часть; 1 – труба; 2 – сухой грунт; 3 – водонасыщенный грунт; 4 – сетка; 5 – перфорированная труба; 6 – забивной наконечник; 7 – шатер; 8 – отводная канава; 9 – насос; 20 – отмостка; 11 – глиняный замок.
Тогда из жести изготавливают отрезок трубы диаметром, равным диаметру скважины, и высотой на 15 см больше толщины плывуна. Подогнув торцевые стенки трубы в сторону от полости скважины, ее опускают внутрь и перекрывают плывун.
Дальнейшее бурение выполняется буром диаметром 1 дюйм. В первое время, пока не сформируется естественный песчаный обратный фильтр, необходима периодическая откачка воды из скважины, так как из водоносного слоя через фильтр будет просачиваться мелкий песок.
Если при бурении скважины встречаются известняки, песчаники или скальные породы, приходится работать долотом, стараясь при каждом ударе поворачивать штангу на небольшой угол (15-20°), чтобы обкалывание породы шло равномерно. Но все же, если на пути скважины попадутся валун или скальная порода, лучше отказаться от дальнейшего бурения в этом месте.
Иногда садоводы применяют бурение с помощью насоса. Таким способом скважину до 10 м глубиной можно пробурить за 3 часа. Кроме насоса, понадобится труба диаметром 120 мм, на нижнем конце которой выпиливают острые зубья, а на верхнем устанавливают фланец диаметром 180 мм. В центре фланца на резьбе крепится проходной штуцер со шлангом для подачи воды от насоса.
Сначала следует выкопать яму диаметром 50-60 см и глубиной 1 м. В яму строго вертикально устанавливают трубу. Вода подается из емкости не менее 500 л. Под давлением поступающей воды почва размывается, и труба постепенно погружается. Для лучшего и более равномерного погружения трубу медленно поворачивают. Зубья разрушают землю, а вода выносит ее на поверхность.
При бурении скважины буровой установкой промышленного производства можно достигать глубины более 30 м.
Устройство абиссинского трубчатого забивного колодца
Абиссинский колодец целесообразно строить в том случае, когда глубина залегания подземных вод не более 7 м. Абиссинский колодец состоит из наконечника-трубы и газовой перфорированной трубы-фильтра с расширенным наконечником, который пробивает ствол диаметром больше наружного диаметра трубы-фильтра. Кроме того, обязательной деталью абиссинского колодца является труба с клапаном внутри в виде шарика.
Вода поднимается за счет вакуума, образующегося под действием ручного насоса типа 5КФ4, КР–3, КР–4, НР–3, НК–10, "Поток", "Урал" и других. Технология устройства абиссинского колодца очень проста и заключается в следующем.
Вначале копают шахту размером 0,8 х 0,8 х 1 м. Трубу-фильтр жестко соединяют с трубой, на которую надевают свободно перемещаемый груз (бабу) весом до 30 кг. На расстоянии 1 м от фильтра крепят стальной хомут – подбабок. На 1–1,5 м выше под-бабка устанавливают второй хомут с двумя блоками. Трубу с фильтром, клапаном и наконечником устанавливают точно по центру выкопанной шахты и засыпают грунтом до верха шахты. Грунт вокруг трубы утрамбовывают, обеспечивая ее устойчивое положение.
Чтобы труба была более устойчива, на дне шахты можно пробурить ствол глубиной 1 м и вставить в него конец трубы. Забивают трубу в грунт ударами бабы по подбабку до тех пор, пока последний не станет вровень с поверхностью земли. Затем подбабок вновь перемещают на 1 м в высоту и продолжают забивать трубу. И так до тех пор, пока в трубе не появится вода.
Но трубу забивают и дальше, чтобы фильтр погрузился в водоносный слой и уровень воды превысил верхний край фильтра на 0,5–1 м. Воду откачивают до полного осветления в течение 15-30 минут. Чтобы проверить наличие воды в трубе, в нее опускают маленькую трубку на шнуре, которая при соприкосновении с водой издает характерный хлопок. Абиссинский трубчатый колодец обеспечивает расход воды, равный 10-15 л/мин.
Каптаж ключей и родников
Совершенно справедливо будет утверждать, что владельцу участка очень повезло, если на его территории обнаружен природный родник. Если же таковой имеется неподалеку, организовать на его основе водоснабжение можно совместно с соседями. При использовании родника в данном качестве необходимо устроить каптажную камеру (рис. 17), в которой будет собираться запас воды. Камера должна быть со всех сторон закрыта, чтобы избежать замерзания и попадания в воду частиц грунта. Для восходящих родников обычно устанавливают бетонное кольцо прямо над выходом родника из-под земли. Перед каптажем родник следует расчистить от ила и наносов до самой основной породы, по которой проходит главная жила ключа.

Рис. 17. Устройство каптажных камер для родников: а – восходящий родник; б – нисходящий родник; 1 – плита перекрытия; 2 – гидроизоляция; 3 – ходовые скобы; 4 – кирпичная кладка; 5 – вентиляционный стояк; 6 – переливная труба; 7 – водозаборная труба; 8 – вентиль; 9 – фильтр; 10 – обратный гравийный фильтр; 11 – бетонное кольцо; 12 – глиняный замок; 13 – сливная воронка с пробкой на цепи; 14 – гравийный фильтр; 15 – водоносный слой; 16 – дренажная стенка; 17 – нагорная водоотводная канава; 18 – открылки.
При песчаной породе дно каптажной камеры покрывают слоем гранитного щебня или гальки, что будет служить обратным фильтром. Силу напора восходящего ключа определить очень сложно, и может получиться так, что сооружение каптажной камеры приведет к уменьшению притока ключевой воды. Чтобы избежать этого, лучше всего обеспечить родниковой воде свободный ток в водосборную камеру.
Каптажную камеру нисходящего родника сооружают из природного камня или кирпича на цементном растворе, покрывают сводом и засыпают землей. Свод непременно оборудуют вентиляционной трубой с колпаком. Вода поступает в камеру через дренажные отверстия в стенке со стороны водоносной породы. Чтобы не допустить примешивания к родниковой воде дождевой и талой, необходимо соорудить вокруг каптажа "нагорные" отводные канавки, хорошо заизолировать стенки и кровлю, обустроить замок из жирной глины и отмостку.
Каптажную камеру следует оборудовать входным люком, водозаборной трубой, а также сливным патрубком и переливной трубой, объединенными в общий сток. Иногда устраивают каптаж и более сложной конструкции, где вода сначала попадает в отстойную камеру, затем процеживается в водосборную камеру, из которой и поступает в водопровод. При широком выходе водоносного слоя каптажную камеру делают с барражными стенками (открылками), чтобы обеспечить более полный сбор родниковой воды.
Извлечение воды из скважин и колодцев
Извлекать воду из скважин и колодцев можно двумя способами. Самый простой – ведром или специальной бадьей (рис. 18). Если внутренний диаметр скважины не превышает 200 мм, бадья должна быть меньшего диаметра, а ее высота – в 3–4 раза больше диаметра. Бадья представляет собой вертикальный стакан из тонкой стали диаметром 100 и высотой 600 мм. В дне стакана просверливают отверстие, прикрываемое изнутри обратным клапаном-"язычком". При опускании бадьи в скважину и соприкосновении ее с водой "язычок" приподнимается, и вода заполняет стакан. При поднятии бадьи "язычок" прижимается ко дну, и вода не выливается. При этом бадья не опрокидывается, и за 1 раз в нее входит не менее ведра воды. Для подъема бадьи используют крепкую капроновую веревку.

Рис. 18. Бадья для извлечения воды из трубчатого колодца: 1 – стальной стакан; 2 – отверстие в дне стакана; 3 – клапан-"язычок"; 4 – вентиляционный стояк.
Из шахтного колодца также осуществляют порционное извлечение воды с помощью ведра или бадьи. Для этого над устьем колодца устанавливают деревянный или металлический горизонтальный барабан, к которому крепят цепь или веревку с бадьей, устье колодца закрывают крышкой-шатром. Иногда для подъема воды используют устройство типа журавля. В этом случае устье колодца оставляют открытым.
Для непрерывного извлечения воды из скважины и колодца используют насосы поршневые с ручным или механическим приводом, а также с электрическим (центробежные насосы, диафрагменные, шестеренные и вибрационные).
При извлечении воды из скважин лучше всего пользоваться погружными насосами типа "Малыш". Наружный их диаметр составляет 97–150 мм. Насос обеспечивает подачу Q = 1,5 м3/час при напоре до 45 м. В рабочем положении насос всегда должен находиться в воде, поэтому у него нет всасывающей трубы, иначе он быстро выходит из строя. К насосу подводят электрический кабель, шланг или трубу диаметром 0,5 дюйма, по которой подается вода (рис. 19). Насос иногда может перекачивать вместе с водой и мелкие частицы грунта. Масса погружного насоса не более 6 кг, его КПД невелик, он потребляет много электроэнергии и нуждается в интенсивной теплоотдаче.