Печь-каменка для русской бани с поддувалом
Стенка для направления горячих газов в нижнюю часть камеры расположена в самой печи (рис. 6.19). Чтобы поместить нужное количество топлива, высота топливника от дна котла должна составить не менее 50 см.

Между стенками печи и котлом должно остаться пространство 4–5 см, чтобы горячие газы омывали котел со всех сторон и вода нагревалась быстрее.
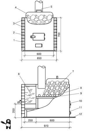
Печь для небольшой бани с открытой каменкой и водогрейным баком для воды
На рис. 6.20 показана печь с открытой каменкой, в которой расположен водогрейный бак емкостью 50–60 л. Такая печь хорошо подходит для небольшой семейной бани, когда в один день парится несколько человек, так как открытая каменка быстрее прогревает парилку. Чтобы постоянно поддерживать открытую каменку горячей, необходимо накрывать камни экранной крышкой (из оцинковки) после каждой подачи пара.
Корпус печи сварен из стального листа толщиной 5 мм. Дно бака для надежности надо сварить из утолщенной листовой стали.
Снаружи печь обложена красным кирпичом. Печь выложена в полкирпича с трех сторон, кроме лицевой. Кирпичная кладка фиксируется специальными проволочными скрепами диаметром 3 мм, которые приваривают по разметкам к корпусу печи. В средней зоне камни укладываются на решетку из арматурных прутков диаметром 28–30 мм, свободно лежащую на прочных опорных планках (швеллер, рельс и т. п.). Для ускорения нагрева воды в баке и камней на решетке бак и отверстие выхода пара закрываются крышкой и заслонкой из оцинкованной жести.
Дымовая труба в металлических печах изготавливается из жести толщиной 1–1,5 мм, нижний патрубок длиной 1,5 м, устанавливаемый в печь, желательно выполнить из водопроводной трубы диаметром 100–150 мм. На этом патрубке устраивается фланцевое соединение с заслонкой.

Для хорошей работы каменки большую роль играют правильно подобранные, качественные камни. Булыжники необходимо выбирать тяжелые, крепкие, без трещин, они должны иметь округлую форму, быть гладкими и различной величины (50–150 мм).
Укладку камней на решетку производят следующим образом: вниз кладут самые большие камни, чтобы они не закрывали полностью щели решетки, затем укладывают камни чуть меньшего размера, а наверху должны быть самые мелкие. Общий вес камней зависит от размеров парилки, в металлической печи для небольшой семейной бани масса камней равна 80–100 кг.
Достаточное количество камней аккумулирует много тепловой энергии, при этом верхние камни должны быть прогреты до 300–350 °C, тогда вода, выплескиваемая на камни, сразу испаряется в сухой горячий пар. На хорошо прогретых камнях вода должна моментально испаряться со своеобразным треском. Камни в небольших печах постоянного нагревания постепенно покрываются сажей, поэтому их надо периодически очищать - каждые 3–4 месяца. С течением времени камни покрываются трещинами, начинают крошиться и их заменяют через 2–3 года.
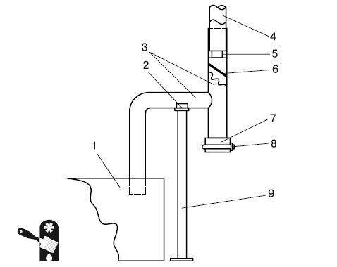
Для такой печи применяют обычно асбоцементную или металлическую дымовую трубу. Но есть и комбинированный вариант, в котором нижняя часть дымовой трубы - металлическая, а верхняя - из асбоцементной трубы (рис. 6.21).
Такая конструкция более предпочтительна, так как отсутствует непосредственный контакт асбоцементной трубы с печью и нет прямого воздействия на нее очень высокой температуры. Таким образом внезапное растрескивание асбоцементной трубы и все неприятные последствия ее разрушения (пожар, травмы, замена трубы и т. п.) можно исключить.
Дымовая труба обычно выводится на 0,4–0,6 м выше конька крыши бани, на верху трубы устанавливается защитный колпак от осадков. Нижний глухой конец дымовой трубы закрывается плотной жестяной заглушкой и используется для прочистки трубы от сажи и слива конденсата.

Конструкция комбинированной дымовой трубы поддерживается скользящей опорой, расположенной на ее металлической части, то есть труба свободно лежит на опорной части, перемещаясь при тепловом расширении.
Металлическая печь из стальной трубы
Составляющие будущей печи для бани вырезают из полутораметровой трубы диаметром в полметра. Толщина металла должна быть не менее 10 мм.
Трубу необходимо разрезать на две части - 0,6 м и 0,9 м. Больший отрезок трубы предназначен для каменки и топки, а меньший будет использоваться в качестве бака для горячей воды.
Внизу трубы для каменки делают вырез для поддувала шириной 18–20 см и высотой 5–6 см. Над вырезом монтируется с помощью сварки круглая стальная пластина толщиной не менее 1,2 см. Отдельно следует вырезать часть металла для размещения печного колосника в поддувале. Для его закрепления с помощью сварки нужно зафиксировать четыре "ушка".
После этого вырезается ниша для топки. Из куска металла (остатков все той же трубы) размерами 25:30 см изготавливается дверца топки, которая подвешивается на крючках или петлях. К дверце приделывается защелка.
Над топкой приваривается отрезок трубы - будущая каменка. Ее размеры - 30–35 см. Каменка должна быть расположена так, чтобы расстояние от ее днища до верха было не менее 10 см. Заднюю стенку трубы необходимо заварить, а на наглухо приваренной к корпусу печи сделать еще небольшую дверцу размерами 25–30 см.
Каменку до половины заполняют округлыми булыжниками. Для того чтобы камни не высыпались, желательно дополнительно приварить ограждающий стальной прут. (Самодельные печи для бань, изготовленные из трубы, могут быть и иной конструкции. Например, с приваренной над топкой на высоте 35–40 см от колосника решеткой из стальных прутков, на которой и расположены камни.)
Далее в верхней части печи нужно закрепить муфту из стальной шины толщиной 5 мм и шириной не менее 50 мм. Выступающая над печью часть муфты предназначена для монтажа бака.
После устанавливают бак для горячей воды. Для этого к его торцевой части снизу закрепляется с помощью сварки стальной круг толщиной не менее 8 мм. В круге нужно вырезать смещенное к задней стенке бака отверстия для дымовой трубы диаметром 12–15 см. Нижняя сторона дымовой трубы наглухо фиксируется сваркой к самому днищу бака, чтобы исключить возможность протечки воды из бака в топку печи.
Верхнюю часть бака закрывают стальным полукругом с заранее проделанным в нем отверстием для дымовой трубы, которую позже приваривают наглухо к этому отверстию. Таким образом, верхняя часть бака остается открытой для залива воды, а для закрытия горловины изготавливается крышка с ручкой (рис. 6.22).