
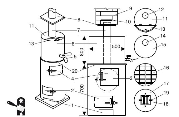
На дымовой трубе на высоте 35 см от бака нужно приварить стальную площадку 30:30 см. Она предназначена для монтажа кирпичной трубы с вьюшкой. Внизу бака, как раз напротив отверстия для залива воды, нужно приварить кран с вентилем.
Готовую печь, установленную на фундаменте, можно обложить кирпичом.
Глава 7
Внутреннее обустройство парилки и других помещений
Идеальный план внутреннего устройства бани выглядит примерно так: с торца строения располагается входная дверь, в центре, со смещением в сторону на полметра, сложена печь, ее топочная дверца выведена в предбанник. Логично возвести основную перегородку, которая будет отделять предбанник от собственно бани, заподлицо с печным порталом. Дверь, ведущую в моечный отсек, можно устроить посередине между печью и правой стеной всего строения.
Понятно, что моечный отсек лучше разделить на два функциональных помещения: мойку и парилку. Следовательно, имеет смысл протянуть перегородку вдоль печи, оставив проем под дверь в ее середине. Таким образом посредством одной печи можно отапливать три помещения: предбанник, моечный отсек и парилку. Это минимум функциональных помещений, предусмотренных в любой бане. Размещение полков в парилке, как правило, тоже традиционное: вдоль стен сруба. Однако возможны различные варианты расположения банной "начинки".
Что главное в бане: "легкий" пар или визуальная эстетика банного культа? Разумеется, первое важнее, однако и второе нельзя отодвигать на задний план. Следовательно, во всем, что касается внутреннего оформления бани, мелочей нет. Все они направлены на то, чтобы получить в первую очередь возможность достижения в парной очень высокой температуры. А для этого у вас должны быть не только правильно подобраны породы дерева, не только разумно устроены вентиляция и циркуляция воздуха, но и продуман максимальный комфорт, который поможет организму пережить "паровой шок" с удовольствием, без отрицательных последствий для внутренних органов в результате полученной ими нагрузки.
Хорошо ли устроена баня, становится понятно сразу, едва человек в нее вошел. Если она уже протоплена до высокой температуры, вы испытаете очень приятное ощущение, едва только втянете в себя горячий воздух. Но когда технология строительства не соблюдена, уже спустя пять минут вы ощутите подташнивание, учащенное сердцебиение и, скорее всего, вам захочется отказаться от идеи попариться.
Сколько бы помещений вы ни запланировали сделать в бане, обязательно, чтобы в каждом были низкая притолока и высокий порог. Тогда не будет улетучиваться тепло. Рекомендуемая высота порога - 20–25 см.
Итак, даже в самой простой бане есть раздевалка, парилка и моечный отсек. Конечно, существует вариант попроще, когда парилка и моечный отсек совмещены (из соображений экономии), а их разделение осуществляется лишь за счет зонирования. Но не всегда уместно так поступать. Естественно, чем больший объем всей бани в целом, тем большие издержки понадобятся для обогрева всех ее отсеков. Однако лучше экономить не на планировке, а именно на площадях, делая все помещения компактными, но все-таки автономными.
Предбанник. Без него невозможно и нельзя обходиться, если баня стоит отдельно от жилых или подсобных строений. Предбанник - это своего рода тепловой "рубеж" бани, он становится заградительным барьером на пути стремящегося к выходу горячего воздуха.
Самое правильное - организовать топку печи именно из этого отсека, поэтому здесь особенно тщательно должна быть выполнена теплоизоляция, необходимо исключить сквозняки, а также чрезмерное переохлаждение пола. Нежелательно минимизировать это помещение, особенно если вы планируете отдыхать в нем после парения. Примерный расчет - 1,5 м свободной площади на человека. Но это лишь в том случае, если под отдыхом понимаются исключительно посиделки с бокалом пива без массажа, ароматерапии и тем более без бильярдного стола и хотя бы небольшого тренажера.
Моечный отсек подразумевает "джентльменский" набор конструкций и банной утвари: баки с горячей и холодной водой (инженерным конструкциям будет посвящена отдельная глава), лавочки, тазики.
О том, как и где располагать "банные излишества" (конечно, не излишества, а самое что ни на есть необходимое для современного парщика), поддон для принятия душа или обливания, купель либо бассейн, поговорим чуть позднее.
Но все вышеперечисленное требует места, а излишек площадей мешает сохранять тепло. Следовательно, в моечном отсеке как раз и нужно "минимизироваться". Для бассейна либо купели имеет смысл пристроить отдельный закуток.
Тепло будет поступать в моечный отсек как от печи, так и из парной (во время, когда люди входят в нее и выходят из нее, а также в процессе проветривания). Поэтому, если парилка и моечный отсек совмещены, возможность помыться будет лишь после того, как все уже попарились и основное тепло ушло. В таком случае нужно ориентироваться на площадь совмещенного отсека исходя из 1 м на человека.
Парилка (площадь парилки) рассчитывается точно так же, как и рождественский стол: нужное количество приборов плюс один человек. Для бани это количество людей, которое обычно будет париться (например, трое), плюс метраж на еще одного условного человека. Почему это обязательно? Потому что парилка - это все же серьезная нагрузка для организма. Никакой парильщик со стажем не застрахован от случайностей вроде кислородного голодания. Его причиной может стать элементарное переувлажнение.
Хорошую теплоизоляцию в парилке необходимо устроить именно из-за высокой температуры, а хорошую вентиляцию - из-за вашей в ней физической активности (интенсивной работы веником). Воздуха в парилке должно быть достаточно, она должна "дышать".
"Мебель" в парилке может быть на ваше усмотрение: качество парных процедур не зависит от того, лежа париться либо сидя. Вам решать, оборудовать ли ее полками, скамейками, лежанками. Если поставить лежанку, появится возможность привести второго парильщика, который будет парить вас веником, то есть вы сможете пробыть в парилке дольше, кроме того, увеличите температурную нагрузку.
Обязательное условие при устройстве полков и скамеек: когда вы сидите в парилке, ноги должны опираться, то есть не должны свисать. Очень важно помнить об этом, ведь в противном случае край полка становится препятствием для циркуляции крови в конечностях, при том что одновременно интенсивность кровотока возрастает.
Итак, рекомендуемое соотношение площадей основных помещений банной постройки (парилки, моечного отсека, предбанника) - 1:1,5:2. Конечно, это условно. Кроме прочего, на соотношение будут влиять отсутствие либо наличие в банной постройке помещений для душа и уборной, габариты комнаты отдыха. Некоторые вообще не хотят, чтобы топливо и банный инвентарь хранились в предбаннике либо комнате отдыха, и организуют для них что-то вроде кладовки.
Отличие раздевалки (предбанника) от других банных отсеков состоит и в том, что они имеют окна и двери (понятно, что в парилку мы тоже попадаем через дверь, но об этом ниже). Еще на стадии проектирования вы должны определиться с функциональным предназначением каждого помещения и разметить дверные проемы. К их разметке нужно подходить предельно тщательно, ведь за счет дверей в бане одновременно осуществляется и вентиляция.
Чтобы удачно спланировать предбанник, будем исходить из того, что на каждого предполагаемого парильщика должно приходиться хотя бы 1,3 м площади, при этом минимальная ширина - 1 м. Если вы хотите поставить в предбаннике лежанку (это лишь повысит комфортабельность и качество банного отдыха), вам необходимо увеличить его ширину до 1,8 м.
Упомянем и интерьер предбанника-раздевалки. Что должно находиться здесь в обязательном порядке? Вешалки для одежды, ящики (тумбы) для обуви, стулья (лавки) для вас и ваших гостей, место для ведер с водой, сундук для дров либо ящик с крышкой для запасов угля. Опытные мастера всегда советуют сэкономить за счет этого место, "спрятав" все, кроме вешалок и сундука для дров, под лавки.
Немаловажная деталь - вешалка для полотенец. Крючков на ней должно быть как минимум три на каждого парильщика.
В бане, выполненной "с размахом", в предбаннике, обычно являющемся одновременно и комнатой отдыха, часто есть камин.
Желательно, чтобы в комнате отдыха (даже если она одновременно является предбанником-раздевалкой) было зеркало. Оно должно давать возможность увидеть в нем хотя бы верхнюю половину туловища, но лучше - всю фигуру полностью. Помните, что нижний край зеркала должен находиться на высоте до 30 см от уровня пола, а само зеркало должно быть вертикальным. Сверху его нужно хорошо подсветить. Под ним же будет как раз наиболее подходящее место для полки либо столика с туалетными и косметическими принадлежностями.
Наиболее желательная мебель для комнаты отдыха: удобные комфортные стулья (можно использовать кожаные кресла), стол либо столик для закусок.