
Рисунок 77 (окончание): Порядовка банной печи-каменки для бань и саун № 2 с отопительным щитком 1 – рамка 1050 × 1050 мм из уголка; 2 – рамка из уголка 63 × 63 мм обрамляет первый ряд дымовой трубы; 3 – лист стальной толщиной 6–8 мм; 4 – кладка дымовой трубы; 5 – дымовой канал
На 32 ряду устанавливают задвижку отопительного щитка, рамку из уголка со стальным листом, к рамке приваривают вертикальные стойки (уголки). Печь-каменка для бань и саун № 3
Печь состоит из топливника с металлической емкостью для камней. Емкость изготавливается из стального листа толщиной 10–12 мм либо отливается из чугуна на литейном заводе.
Печь обладает высокой теплоемкостью. Теплоаккумулирующая способность до 48 часов в теплое время года и до 24 часов в зимнее время, температура в смежных помещениях: предбаннике, мойке 18–25 °C. В парилке температура 60–90 °C сохраняется в течение 6–12 часов. Время сохранения высокой температуры зависит от теплопотерь помещения и количества пользователей баней. Время нагрева печи и создание в парилке температуры до 90 °C 6–8 часов. Выше 90 °C данная печь не нагревает парилку.
Печь рассчитана на отопление банного помещения общей площадью до 40 м² или объемом до 100 м³. Обогреваемая площадь парилки не более 10 м² или объемом 25 м³.
...
НА ЗАМЕТКУ
Для горячего водоснабжения в топливник печи встраивается водогрейный котел, устройство котла и системы горячего водоснабжения такое же как и у печей № 1 и № 2.
1 и 2 ряды выкладывают сплошной кладкой.
На 3–4 рядах выкладывают зольник, Г-образной дымовой канал. Устанавливают две прочистные и поддувальные дверки.
С 5 по 6 ряд устанавливают колосник.
С 5 по 7 ряд выкладывают вертикальные дымовые каналы (колпаки).
На 6 ряд устанавливают топочную дверку.
С 7 по 13 ряды выкладывают шамотную футеровку топливника.
На 9–10 рядах перекрывают колпаки.
На 11–12 ряды выкладывают хайло топливника, горизонтальный дымовой канал, устанавливают прочистную дверку.

Рисунок 78. Печь-каменка для бань и саун № 3
Из хайла топливника делают подсосный канал в горизонтальный дымовой канал. 
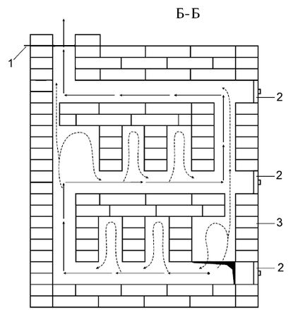
Рисунок 79. Банная печь-каменка № 3 в разрезе А-А: 1 – дверка топочная; 2 – дверка поддувальная; 3 – колосник; 4 – под топливника (шамот); 5 – хайло топливника; 6 – перегородка между топливником и опускным дымовым каналом; 7 – дверка прочистная; 8 – емкость для камней; 9 – стальные уголки 63×63 мм (обрамление топливника); 10 – каменная засыпка; 11 – зольник; 12 – опускной канал; 13 – печная кладка (красный полнотелый кирпич)

Рисунок 79 (окончание). Банная печь-каменка № 3 в разрезе Б-Б: 1 – задвижка печная; 2 – дверки прочистные; 3 – кирпичная кладка
На 14 ряд устанавливают емкость для камней.
С 14 по 16 ряд выкладывают колпаки.

Рисунок 80. Порядовка банной печи-каменки № 3

Рисунок 80 (продолжение). Порядовка банной печи-каменки № 3

Рисунок 80 (продолжение). Порядовка банной печи-каменки № 3
На 17–18 рядах перекрывают колпаки и делают подсосный канал в вышележащий горизонтальный дымовой канал. 
Рисунок 80 (окончание). Порядовка банной печи-каменки № 3
На 19–20 рядах выкладывают горизонтальный дымовой канал.
На 22–23 рядах выкладывают перекрышу печи, устанавливают печную задвижку с тремя отверстиями.
С 24 ряда выкладывается дымоход (дымовая труба).
Печь-каменка для бань и саун № 4
В печь вмонтированны три чугунные духовки для камней.
Обогрев парилки происходит за счет теплопередачи тепла от духовок в помещение, что значительно снижает время на протапливание печи.
Печь может поднять температуру в парилке до 110 °C, за время протапливания в летнее время 2,5–4 часа – в зимнее время 3–6 часов в зависимости от размеров и теплопотерь помещения.
В небольших банях время протапливания сокращается до 1,5 часов.
К примеру в парилке с площадью до 4–5 м² – температуру можно нагнать за 1,5–2 часа.
В печи имеются аккумуляторы тепла – каменная засыпка в духовке и сам кирпичный массив печи.
1 и 2 ряды выкладывают сплошной кладкой.
На 3 и 4 рядах выкладывают зольник.
На 4 ряд устанавливают чугунную духовку размером 250×280×380 мм. Между духовкой и кирпичной кладкой прокладывают слой каолиновой ваты смоченной в глиняном растворе толщиной 5 мм.

Рисунок 81. Печь-каменка для бань и саун № 4
С 5 на 6 ряд устанавливают колосниковую решетку.
На 4 ряд устанавливают прочистную дверку.
С 5 ряда выкладывают дымовые каналы вокруг духовки, там же начинают кладку шамотной футеровки топливника.
На 6 ряд устанавливают топочную дверку.
На 10 ряд устанавливают духовку № 2.
На 9 ряду перекрывают духовку № 1 и поверх нее выкладывают опускной дымовой канал.
На 11–12 рядах выкладывается хайло топливника.
На 13 ряду заканчивают шамотную футеровку топливника и перекрывают его, делают подсосный канал рядом с духовкой № 2.
На 13 ряду можно установить бак для горячей воды над топливником печи.
На 15 и 16 рядах выкладывают горизонтальный дымовой канал и устанавливают прочистную дверку.
На 16 ряд устанавливают духовку № 3.
На 17 и 18 рядах выкладывают колпаки.
На 21–22 рядах выкладывают горизонтальный дымовой канал и устанавливают прочистную дверку.
На 19–20 рядах перекрывают колпаки.
С 23 по 25 ряды выкладывают перекрышу печи.
На 25 ряд устанавливают печную задвижку с тремя отверстиями.

Рисунок 82. Порядовка печи-каменки

Рисунок 82 (продолжение). Порядовка печи-каменки для бань и саун № 4

Рисунок 82 (окончание). Порядовка печи-каменки для бань и саун № 4
На 23 ряду можно установить бак для горячей воды, который будет нагреваться от дымового канала печи. Печь-каменка для бань и саун № 5
Печь состоит из металлического топливника, сваренного из листовой стали и кирпичного отопительного щитка.
Металлический топливник позволяет быстро нагнетать высокую температуру за 1,5–2 часа.
Кирпичный отопительный щиток позволяет аккумулировать тепло и затем продолжительное время в течение 24 часов отдавать его помещению бани, что позволяет просушивать ее после использования.

Рисунок 83. Печь-каменка № 4 с баком для нагрева воды над топливником (1 вариант)
Печь может нагнетать температуру в парилке до 130 °C. Вокруг металлического топливника необходимо выкладывать ограждение из кирпича или иных негорючих материалов. Деревянные конструкции следует располагать не ближе 50 см от металлического топливника во избежание их возгорания. 
Рисунок 84. Печь-каменка № 4 с баком для нагрева воды над топливником (2 вариант)