
Рисунок 69. Банная печь конструкции Селивана В. В.
Преимущество данной печи – способность просушивать помещение по окончанию пользования баней.
В конструкции данной печи предусмотрена подача вторичного газа в камеру сгорания.
Основание печи рамка из стального уголка размером 1030×780 мм.
Размер уголка 63×63 мм.
Стальной лист толщиной 8–10 мм.
Выкладывают первый и последующие ряды кладки печи.

Рисунок 70. Порядовка кирпичной банной печи-каменки
На 2 ряд устанавливают 3 Г-образные толстостенные трубки для подачи вторичного воздуха.
На 3, 4 рядах выкладывают зольник и устанавливают поддувальную дверку.
С 3 ряда выкладывают шамотную футеровку топливника.

Рисунок 71. Печь-каменка № 1 для бань и саун
С 5 на 6 ряд устанавливают колосниковую решетку.

Рисунок 72. Печь-каменка № 1 для бань и саун в разрезах А-А, Б-Б

Рисунок 72 (прождолжение). Печь-каменка № 1 для бань и саун в разрезах А-А, Б-Б
На 6 ряд устанавливают топочную дверку.
На 13 и 14 рядах выкладывают щелевой свод каменки.
На 19 ряду устанавливают дверку каменки.
С 22 по 25 ряд выкладывают дымосборник каменки.
На 26 ряду устанавливают рамку из уголка со стальным листом и к ней привариваются четыре вертикальные стойки из уголка 63×63 мм между нижней и верхней рамкой.
На 26 ряду устанавливают задвижку колонки (печная).
С 27 ряда выкладывают дымоход (дымовую трубу).
Банная печь-каменка с отопительным щитком № 2
Предназначена для бань больших размеров с максимальной общей площадью до 35 м² – 40 м² или до 80 м³.
Обогреваемая площадь парилки до 10 м² или 25 м³.
Теплоаккумулирующая способность в теплое время года до 48 часов, в холодное время года до 24 часов.
Поддерживание высокой температуры в парилке от +120 °C до +60 °C – 6 часов.
Преимущество данной печи – способность просушивать помещение после окончания пользования баней.
Печь протапливается сухими дровами лиственных пород деревьев.

Рисунок 73. Порядовка кладки банной печикаменки № 1: 1 – уголок; 2 – стальной лист; 3 – стальная Г-образная труба;

Рисунок 73 (продолжение). Порядовка кладки банной печи-каменки № 1

Рисунок 73 (продолжение). Порядовка кладки банной печи-каменки № 1

Рисунок 73 (продолжение). Порядовка кладки банной печи-каменки № 1

Рисунок 73 (окончание). Порядовка кладки банной печи-каменки № 1
По окончанию протапливания сжечь небольшое количество осиновых поленьев.
Дать печи отстояться 1 час. Затем открыть задвижку и дверку каменки, поддать на камни ковшик горячей воды и закрыть дверку каменки, зола, которая оставалась на камнях, вылетит в дымовую трубу.
Затем закрыть задвижку каменки. Открыть дверку каменки и поддувальную дверку.
Холодный воздух проходя через каменку нагревается, и из колонки выходит горячий воздух, и температура в парилке резко поднимается.
Когда температура стала недостаточна и камни частично начали остывать, можно поддавать на камни горячую воду для повышения влажности в парилке.
Внутри печи встроены стальные толстостенные трубы.

Рисунок 74. Банная печь-каменка с отопительным щитком № 2
Один конец трубы выходит в поддувало (зольник), другой – в камеру каменки.
При горении дров выделяются горючие газы, которые не успевают сгореть в топливнике из-за нехватки кислорода, так как дрова забирают почти весь кислород, поступающий через поддувало.
В результате подачи вторичного воздуха через трубы в каменку происходит воспламенение горючих газов, выделяется дополнительное количество теплоты, что увеличивает КПД печи и препятствует отложению сажи на камнях.
При малиновом свечении камней сажа полностью выгорает на камнях.

Рисунок 75. Печь-каменка для бань и саун № 2 с отопительным щитком в разрезах А-А, Б-Б

Рисунок 75: 1 – рамка из уголка со стальным листом для основания печи; 2 – поддувальная дверка; 3 – колосник; 4 – дверка топочная; 5 – под топливника; 6 – шамотная футеровка топливника и камера каменки; 7 – щелевой свод топливника; 8 – каменная засыпка; 9 – дымосборник каменки; 10 – задвижка каменки с ручкой (рычагом); 11 – задвижка отопительного щитка; 12 – дверка каменки; 13 – рамка из уголка со стальным листом Система горячего водоснабжения банного помещения
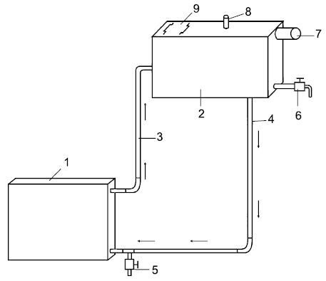
На одну из трех стенок топливника можно установить водогрейный котел из нержавеющей стали с двумя патрубками (трубками), к которым посредством трубопроводов подсоединяется бак для горячей воды. Котел устанавливается вместо шамотной футеровки топливника на удобной стороне топливника согласно планировке бани. Желательно котел устанавливать у печи № 2 к стороне отопительного щитка, чтобы не препятствовать теплоотдаче стенок топливника в парилку.
На фундамент (основание) устанавливают рамку из уголка со стальным листом.
1 и 2 ряды выкладывают сплошной кладкой.
На 3, 4 рядах выкладывают зольник и устанавливают поддувальную и прочистную дверки. Выкладывают горизонтальный дымовой канал (подвертки). На 3 ряду устанавливают две толстостенные трубы для подачи вторичного воздуха из поддувала в камеру каменки сгорания.
С 5 на 6 ряд устанавливают колосниковую решетку.
С 5 ряда начинается кладка двух опускных и одного подъемного дымовых каналов.
На 6 ряду устанавливают топочную дверку.
На 12, 13 рядах выкладывают щелевой свод каменки.
На 18 ряд устанавливают дверку каменки.
На 23, 24 рядах выкладывают хайло печи, находящееся над топливником в камере каменки под перекрышей печи.
На 25 ряду перекрывается хайло.
С 23 по 27 ряд выкладывают дымосборник каменки.
На 27 ряду делают подсос дымовых газов из каменки в дымоход печи.
На 27, 29 рядах выкладывают горизонтальный канал и устанавливают прочистную дверку.
На 28 ряду устанавливают печную задвижку каменки.
На 29 и 30 рядах выкладывается горизонтальный канал.
На 31 ряду печь полностью перекрывают.

Рисунок 76. Схема устройства системы горячего водоснабжения: 1 – котел водогрейный размер 70 × 500 × 300 мм; 2 – бак для горячей воды объем от 70 до 200 л; 3 – трубопровод подачи горячей воды; 4 – трубопровод обратный; 5 – вентиль и тройник для слива воды; 6 – вентиль расхода воды из системы; 7 – труба переливная; 8 – труба заливная; 9 – крышка бака

Рисунок 77. Порядовка банной печи-каменки для бань и саун № 2 с отопительным щитком

Рисунок 77 (продолжение). Порядовка банной печи-каменки для бань и саун № 2

Рисунок 77 (продолжение). Порядовка банной печи-каменки для бань и саун № 2

Рисунок 77 (продолжение). Порядовка банной печи-каменки для бань и саун № 2