
Рисунок 85. Печь-каменка № 4 для горячей воды над отопительным щитком в разрезах А-А; Б-Б
Для возведения печи необходимо
Кирпич печной полнотелый – 400 шт.
Глина – 50 кг
Песок – 100 кг
Дверка топочная – 1 шт. (для стального топливника).
Дверка поддувальная – 1 шт. (для стального топливника).
Дверка прочистная – 2 шт.
Вата каолиновая – 0,5 кг
Задвижка печная – 2 шт.
Топливник сварной – 1 шт.
Камни для каменки – 200 кг
Патрубок стальной (для подключения металлического топливника к отопительному щитку) – 1 шт.
1 и 2 ряд выкладываются сплошной кладкой.

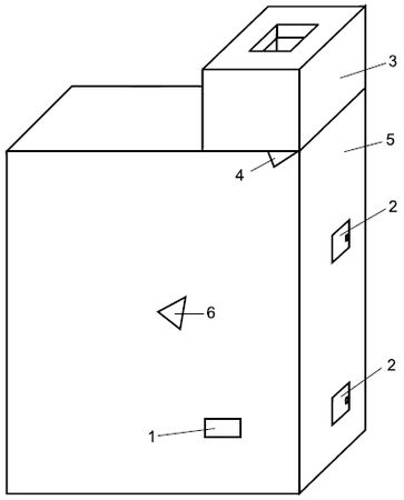
Рисунок 86. Печь-каменка для бань и саун № 5: 1 – стальной патрубок; 2 – дверки прочистные; 3 – дымовая труба; 4 – задвижка печная; 5 – отопительный щиток; 6 – задвижка печная для отсечения дымовых каналов (для прямоточного движения дымовых

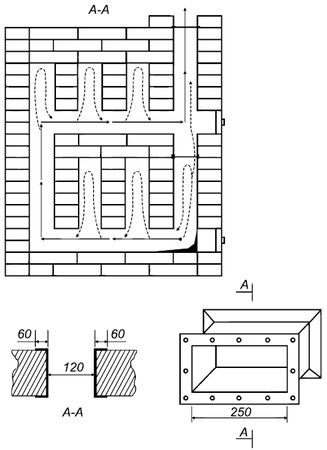
Рисунок 87. Печь-каменка для бань и саун № 5 в разрезе А-А
На 3–4 ряды выкладывают горизонтальный дымовой канал и устанавливают соединительный стальной патрубок и прочистную дверку.
С 5 по 10 ряд выкладывают вертикальные каналы – колпаки.
На 11 ряду устанавливают печную задвижку прямого хода – отключающую при открытии два горизонтальных дымовых канала и колпаки. В задвижке спиливают один угол сечением 50 см² для подсосного канала при закрытой задвижке.
На 11–12 рядах перекрывают колпаки и делают выход дыма в вышележащий дымовой канал.
На 13 и 14 рядах выкладывают горизонтальный дымовой канал и устанавливают прочистную дверку.

Рисунок 88. Порядовка кладки отопительного щитка к банной печи № 5

Рисунок 88 (продолжение). Порядовка кладки отопительного щитка к банной печи № 5

Рисунок 88 (продолжение). Порядовка кладки отопительного щитка к банной печи № 5

Рисунок 88 (продолжение). Порядовка кладки отопительного щитка к банной печи № 5

Рисунок 88 (окончание). Порядовка кладки отопительного щитка к банной печи № 5
С 15 по 18 ряд выкладывают вертикальные каналы – колпаки.
С 19 по 21 ряд выкладывают перекрышу отопительного щитка.
На 22 ряду устанавливают печную задвижку с тремя противоугарными отверстиями.
С 23 ряда ведется кладка дымовой трубы.
...
СОВЕТ
Данный отопительный щиток можно применять также для отопления жилых помещений, подключая к нему топливник промышленного производства, отлитый из чугуна либо изготовленный из листовой стали, имеющий очажную плиту, водогрейный котел – для водяного отоплении и горячего водоснабжения, духовку для выпечки, жарки продуктов питания.
Так как металлический топливник имеет повышенную теплоотдачу, что может в начальный период растопки печи сильно снижать тягу. Рекомендуется в начале растопки открывать задвижку прямого хода дымовых газов.

Рисунок 89. Устройство стального топливника для банной печи № 5: 1 – основание (дно) топливника; 2 – колосник; 3 – емкость для камней; 4 – корпус топливника; 5 – основание колосника (под); 6 – перегородка между топливником и дымовым каналом; 7 – дверка топочная (чугун); 8 – дверка поддувальная (чугун); 9 – дымоход (выход дымовых газов из топливника и место соединения переходного патрубка между стальным топливником
А затем, когда топливо хорошо разгорится и прогреется, сначала наполовину, а затем и полностью закрыть задвижку прямого хода. В дальнейшем регулировать тягу при помощи печной задвижки (установленной в дымовой трубе) и поддувальной дверкой.
Для корпуса печи применяется металл толщиной 6–8 мм. Емкость для камней сваривается из металла толщиной 10–12 мм.
Топочная и продувальная дверки, колосник применяются стандартные, отлитые из чугуна.
На фланцах соединительного патрубка и выходного отверстия топливника сверлят отверстия и нарезают резьбу. На фланцах переходного патрубка сверлят только отверстия и детали соединяют при помощи болтов изготовленных из бронзы, латуни, нержавейки.

Рисунок 90. Узел соединения отопительного щитка и стального топливника: 1 – кирпич; 2 – соединительный патрубок; 3 – переходной патрубок между топливником и отопительным щитком и место соединения к стальному топливнику; 5 – крепеж соединительного и переходного патрубков; 6 – прокладка асбестовая; 7– болты крепления; 8 – уплотнитель между кирпичом

Рис. 91. Способы подключения стального топливника к отопительному щитку: 1 – отопительный щиток; 2 – стальной топливник; 3 – соединительный патрубок; 4 – дымовой канал отопительного щитка
Между фланцами прокладывают асбестовую прокладку. Между кирпичом и соединительным патрубком также необходимо прокладывать асбест или каолиновую вату.
Камины кирпичные
КАМИН № 1
Спецификация (мм)
Материал – кирпич фасонный (фигурный) глазурованный. Высота – 2300–3100.
Ширина – 2000.
Высота до полки – 1150–1500. Высота портала (топки) – 500–1000. Ширина портала (топки) – 1000. Глубина топки – 500.
КАМИН № 1А
Спецификация (мм)
Высота – 2300–3100.
Ширина – 2000. Высота до полки – 1150–1500.

Рисунок 92. Камин № 1 (конструкции В. В. Селивана)
Высота портала (топки) – 500–1000. Ширина портала (топки) – 1000. Глубина топки – 500. 
Рисунок 93. Камин № 1А (конструкции В. В. Селивана)

Рисунок 94. Порядовка кладки камина № 1

Рисунок 94 (продолжение). Порядовка кладки камина № 1

Рисунок 94 (продолжение). Порядовка кладки камина № 1

Рисунок 94 (продолжение). Порядовка кладки камина № 1

Рисунок 94 (продолжение). Порядовка кладки камина № 1

Рисунок 94 (продолжение). Порядовка кладки камина № 1

Рисунок 94 (окончание). Порядовка кладки камина № 1 КАМИН № 3
Спецификация (мм)
Высота – 2100–3000.
Ширина – 2250 до пода камина (фасад).

Рисунок 95. Порядовка кладки камина IV (вариант угловой)

Рисунок 95 (продолжение). Порядовка кладки камина IV (вариант угловой)

Рисунок 95 (окончание). Порядовка кладки камина IV (вариант угловой)
Ширина – 1750 от пода до полки (фасад). 
Рисунок 96. Камин № 3 (конструкции В. В. Селивана)