
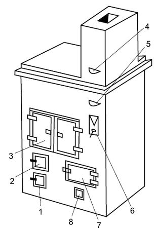
На рис. 54: 1 – поддувало; 2 – топка; 3 – варочная камера; 4, 9, 12 – чистка; 5 – дымовая задвижка, закрывающая печь после топки; 6 – задвижка, открываемая зимой; 7 – самоварник; 8 – задвижка, открываемая летом; 10 – водогрейная коробка; 11 – духовка; 13 – металлическая сетка в рамке; 14 – гидроизоляция; 15 – замкнутая камера; 16 – канал для вентиляции камеры; 17 – чугунные плиты
3-й ряд – с правой стороны устанавливают дверцу чистки.
4-й ряд – кладут с установкой дверцы для чистки с другой стороны печи и устройства зольниковой камеры.
5-й ряд – перекрывают одну чистку и в нем ставят колосниковую решетку.
6-й ряд – устанавливают топочную дверцу и духовой шкаф.

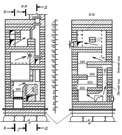
Рисунок 55. Устройство отопительно-варочной печи И. Ф. Волкова без камеры для выпечки хлеба

Рисунок 55 (продолжение). Устройство отопительно-варочной печи И. Ф. Волкова без камеры для выпечки хлеба
6-й – 7-й ряд перекрывают длинный канал, образуя более короткий.
9-й ряд – стесывают верхнюю часть стенки духового шкафа и изменяют расположение каналов.
10-й ряд – смазывают глиной верх духовки.
...
ВНИМАНИЕ
Перед закладкой 11-го ряда перекрывают топливник плитой. В процессе кладки устанавливают водогрейную коробку и дверцу варочной камеры. Четыре последующих ряда кладут по порядовкам, стесывают верх перегородки за водогрейной коробкой.
16-й ряд – укладывают пять кусков полосовой стали длиной 120 мм с выпуском внутрь камеры на 20 мм. На эти куски стали кладут решетку.

Рисунок 55 (окончание). Устройство отопительно-варочной печи И. Ф. Волкова без камеры для выпечки хлеба
17-й ряд – должен быть с уложенной решеткой и установленной чисткой. 18-й ряд кладут, как предыдущий. 19-й ряд – ставят задвижку над плитой.
20-й ряд – перекрывают с внутренней стороны уголком, в сушильной камере ставят вытяжку.
21-й ряд – перекрывают полосовой сталью для укладки кирпича, перекрывающего камеру.
...
ВНИМАНИЕ
Кладка двух последующих рядов одинакова, только в последнем из них ставят самоварник.
24-й – 25-й ряд – устанавливают чистки.

Рисунок 56. Кладка отопительно-варочной печи И. Ф. Волкова без камеры для выпечки хлеба

Рисунок 56 (продолжение). Кладка отопительно-варочной печи И. Ф. Волкова без камеры для выпечки хлеба

Рисунок 56 (окончание). Кладка отопительно-варочной печи И. Ф. Волкова без камеры для выпечки хлеба
...
ВНИМАНИЕ
В последующие три ряда заделывают (вертикально) задвижку зимнего хода.
26-й ряд – кладут по порядовке.
30-й – 31-й ряд – кладут, с заделкой (горизонтально) задвижки, закрывающей трубу. Остальные ряды кладут по порядовкам.
Отопительно-варочная печь В. А. Потапова
Размеры печи в плане 64×51 см, высота 189 см. Печь топят всеми видами твердого топлива. Дымовые газы проходят под жарочной плитой, направляются вверх, делают поворот вокруг духового шкафа и уходят в дымовую трубу. Варочную камеру закрывают дверцей из двух половинок.
Для кладки потребуется 220 штук кирпича.
Отопительно-варочная печь "Шведка"
Размеры печи 116×90 см, высота 210 см. Печь топится всеми видами твердого топлива, имеет топку с зольником, варочную камеру, духовой шкаф. Печь пятиканальная, имеет один ход.
Для кладки потребуется 550 штук кирпича.
До 11-го ряда печь кладут в 1/2 кирпича, а выше плиты в 4 кирпича. Для такой печи требуется прочный фундамент.
1-й ряд – сплошной, снаружи кладут целый кирпич, внутри можно половинки.
2-й ряд кладется так же как 1-й ряд, устанавливают над топливником поддувальную дверку.
3-й ряд кладут в 1/2 кирпича с оборудованием чистки А 12×12 см.
4-й ряд – кладка такая же, как в 3-м ряду, против поддувальной дверки устраивают зольниковую камеру размером 20×30 см, затем кладутся опоры для пода топливника из кирпичей на ребро с щелями для прохождения газов. Опоры ставят так, чтобы они своими концами заходили под нее на 3–4 см. Первой опорой является задняя стенка зольника Б, 2-й – уложенный кусок кирпича на ребро В.
5-й ряд – завершение пода топки, устройство колосниковой решетки, духовки, топочной дверцы.
6-й ряд – кладется по порядовке, духовой шкаф облицовывают кирпичом на ребро. Стальными листами усиливается нижняя, задняя и правая сторона духовки.
7-й, 8-й, 9-й ряды – канал в правом заднем углу стенки расширяют, закругляя кирпичи, верх духовки смазывают глиной.
10-й ряд – перекрывают плитой с 2-мя конфорками и расширяют канал, стесывая кирпичи. На этом же ряду перекрывают зазор между плитой и задней стенкой (буква А).
11-й ряд – устанавливают 2 коренные стенки (Д), выкладывают прямоугольный канал и чистку (А). До 20-го ряда кладку ведут на ребро.
12-й ряд – образует 5 каналов, на 12-м ряду имеются 2 чистки.
13-й ряд – кладка по порядовке.
14-й ряд – кладут уголковую сталь (Ж), полосовую (З) для перекрытия варочной камеры кирпичом (рис. 60).

Рисунок 57. Отопительно-варочная печь В. А. Потапова: 1 – поддувало; 2 – топливник; 3 – варочная камера; 4 – верхняя задвижка; 5 – нижняя задвижка; 6 – водогрейная коробка; 7 – духовка; 8 – чистка; 9 – вентиляционное отверстие; 10 – полосовая сталь
15-й ряд – перекрывают уложенные стальные уголки, оставляя чистку и канал (И).
16-й ряд – кладка по порядовке.
17-й ряд – перекрытие листовой сталью (Л) нижней печурки (рис. 61).
18-й – 19-й ряд – кладка по порядовке, оставить 2 чистки на 18-м ряду.
20-й ряд – установка паровой задвижки для канала, сужение каналов задней стенки, кладка кирпичей плашмя. Ряд кладки увеличивается по длине на 6 см, ширине 30 см, образуется выступ.
21-й ряд – образует 2-й выступ за счет увеличения длины и ширины кладки.
22-й ряд – кладка кирпичей плашмя до размера 20-го ряда, установка дверки для вьюшки.
23-й ряд – начинается кладка трубы.

Рисунок 58. Устройство отопительно-варочной печи В. А. Потапова

Рисунок 58 (окончание). Устройство отопительно-варочной печи В. А. Потапова

Рисунок 59. Кладка отопительно-варочной

Рисунок 59 (окончание). Кладка отопительно-варочной печи В. А. Потапова

Рисунок 60. Устройство отопительно-варочной печи "Шведка"

Рисунок 60 (продолжение). Устройство отопительно-варочной печи "Шведка"

Рисунок 60 (окончание). Устройство отопительно-варочной печи "Шведка"

Рисунок 61. Кладка отопительно-варочной печи "Шведка"