12-й ряд – сплошная кладка из стенок и пода с уложенными чугунными плитами с двумя конфорками и тремя каналами. В начале выкладывают стенки печи, затем на слой глины кладут плиты. К передней стенке крепят уголок, предохраняющий этот ряд кладки и уложенные плиты от разрушения. 
Рисунок 48 (окончание). Кладка русской печи
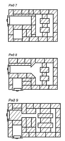
13-й ряд – кладут стенки варочной камеры толщиной в 3/4 кирпича, с наружной стороны кирпич кладут плашмя, с внутренней – на ребро. В этот ряд закладывают щиток и переднюю стенку варочной камеры с отверстием – устьем, через которое в камеру загружают топливо.
14-й ряд – кладут по порядовке, а затем ставят опалубку на закрытый бумагой под, опалубка нужна для выкладки свода варочной камеры с учетом подъема устья на 480 мм, у задней стенки на 510 мм.
15-й ряд – кладка свода из кирпича "на ребро" с завертыванием кирпича за счет утолщения наружного шва.
16-й – 17-й ряд – выкладывают по порядовкам, в 17-м ряду перекрывают устье, т. е. замыкают переднюю стенку.
18-й ряд – завершение кладки свода варочной камеры. Начинают выкладывать печурку шириной от 150 до 200 мм, высотой 210 мм. Печурку перекрывают последним рядом кладки и целым кирпичом. Перегородки, разделяющие печурки, должны быть не менее 1/2 кирпича.
19-й ряд – кладка по порядовке, с левой стороны печи в перетрубье стесывают кирпич под небольшое перекрытие, для канала самоварника. Кирпичи, примыкающие к своду, стесываются, чтобы они плотнее легли на него. Отверстие перетрубья постепенно укорачивается закладкой кирпича.
20-й – 21-й ряд – кладка с перекрытием для образования дна канала под самоварник.
22-й ряд – выравнивают верх печи под сводом (разрез Б-Б). С 13-го по 28-й ряд все 5 каналов сохраняют свои размеры.
23-й ряд – кладка по порядовке.
24-й ряд – удлиняют перетрубье до размера 19-го ряда, выкладка канала для самоварника.
25-й – 26-й ряд – кладка такая же, как в 24-м ряду.
27-й ряд – перекрытие перетрубья для образования горизонтального канала, установка задвижки в канале трубы, задвижка в канале щитка.
28-й ряд – установка дверки и вьюшки, закрывающих трубу после топки варочной камеры (разрезы А-А, Б-Б).
29-й ряд – перекрытие пяти вертикальных каналов, остаются 3 канала, 2 крайних – длинные, средний – без изменений.
30-й ряд – имеет два длинных канала.
31-й ряд – образует горизонтальный канал от самоварника, чтобы этот канал перекрыть, его сужают, укладывая с внутренней 1/4 кирпича.
32-й ряд – перекрывают все каналы, исключая канал трубы размером 25×38 см.
33-й ряд – сужают этот канал до размера 25×25 см.
34-й ряд – кладка дымовой трубы в "шестерик" с каналом размером 25×25 см.
Улучшенная русская печь "Экономка"
Печь имеет меньшие размеры в отличие от предыдущей печи, проста по устройству. Имеет два топливника: основной (большой) и дополнительный (малый).
Дымовые газы из большого топливника поступают в первую секцию подподовой камеры, затем через подвертки во вторую секцию, а оттуда через щель в поду в верхнюю варочную камеру.

Рисунок 49. Улучшенная русская печь "Экономка"
Пройдя над сводом и через отверстие в передней части свода, попадают в дымовую трубу. Дымовые газы, образующиеся в малом топливнике, вначале попадают в большой топливник, а затем проделывают тот же путь до дымовой трубы. Печь оборудована вентиляционной задвижкой и водогрейной коробкой. Правила эксплуатации такие же, как и у предыдущей печи. Для кладки потребуется 750 штук кирпича. Отопительно-варочная печь И. Ф. Волкова без камеры для выпечки хлеба
Размеры печи в плане 109×89 см, высота 244 см.
Для кладки потребуется 520 штук красного кирпича, в т. ч. 100 штук огнеупорного. Печь имеет варочную камеру, из которой сделан вытяжной шкаф, духовой шкаф, водогрейную коробку. Печь топится по-зимнему и по-летнему.

Рисунок 50. Улучшенная русская печь "Экономка"
При топке по-зимнему газы, дойдя до водогрейной коробки, попадают по очереди в 1-ю, а затем во 2-ю камеры, нагревают их и через задвижку выходят в дымовую трубу (разрез А-А, Б-Б). При топке по-летнему горячие газы проходят под плитой, духовым шкафом и водогрейной коробкой, а затем попадают в дымовую трубу. 
Рисунок 51. Устройство печи "Экономка"
Вначале выкладывают фундамент с гидроизоляцией, а затем приступают к кладке собственно печи.

Рисунок 51 (продолжение). Устройство печи "Экономка"

Рисунок 51 (продолжение). Устройство печи "Экономка"

Рисунок 51 (окончание). Устройство печи "Экономка"
1-й ряд – сплошной с углублением для зольника. Чтобы легче было удалять золу, кирпич стесывают в сторону зольника. 
Рисунок 52. Кладка печи "Экономка" без водогрейной коробки

Рисунок 52 (продолжение). Кладка печи "Экономка" без водогрейной коробки

Рисунок 52 (продолжение). Кладка печи "Экономка" без водогрейной коробки

Рисунок 52 (продолжение). Кладка печи "Экономка" без водогрейной коробки

Рисунок 52 (продолжение). Кладка печи "Экономка" без водогрейной коробки

Рисунок 52 (продолжение). Кладка печи "Экономка" без водогрейной коробки

Рисунок 52 (продолжение). Кладка печи "Экономка" без водогрейной коробки

Рисунок 52 (продолжение). Кладка печи "Экономка" без водогрейной коробки

Рисунок 52 (продолжение). Кладка печи "Экономка" без водогрейной коробки

Рисунок 52 (продолжение). Кладка печи "Экономка" без водогрейной коробки

Рисунок 52 (окончание). Кладка печи "Экономка" без водогрейной коробки
2-й ряд – кладут, как показано на рисунке, с установкой дверцы зольника. 
Рисунок 53. Кладка печи "Экономка" с водогрейной коробкой 
Рисунок 53 (продолжение). Кладка печи "Экономка" с водогрейной коробкой

Рисунок 53 (окончание). Кладка печи "Экономка" с водогрейной коробкой