
Рисунок 42 (продолжение). Кладка отопительной круглой печи в металлическом футляре Круглая печь в металлическом футляре с винтообразными дымооборотами
Высота печи 209 см, диаметр основания 100 см, диаметр теплоотдающей части 70 см. Теплоотдача начинается через 20 минут после растопки. Зольниковая камера находится в основании печи, поэтому печь прогревается больше в нижней части. Дымовые газы из топливника поступают в первый кольцевой канал.
Совершая кругообразный путь, тепло ударяет в стенки печи, разогревая их. Затем газы по центральному каналу переходят во 2-й кольцевой канал, затем в 3-й, из него в дымовую трубу.
Для кладки печи вам потребуется 480 штук кирпичей.
Особенности кладки: первые 4 ряда не окожухованы. Крайние по периметру кирпичи отесывают накругло. Тщательную притеску кирпичей делать не обязательно. Строительство печи начинают с определения ее центра на фундаменте. Вычерчивают круг радиусом 50 см, внутри него кладут 1-й ряд кирпичей.
При укладке следующих трех рядов основания ставят поддувальную дверку, выкладывают зольник.
На 4-м ряду кладут колосниковую решетку. Этот ряд выкладывают по уровню, потому что на него опирается первая царга кожуха.
На основание ставят первую царгу с топочной дверкой. Если центры царги и основания совпали, то выступающая из-под царги часть основания образует поясок шириной 5 см.
Царгу выверяют отвесом не менее чем с четырех позиций после укладки для устойчивости ряда кирпичей внутри царги.
Кирпичи имеют прямоугольную форму, а кладут их по кругу, в стыках между ними образуются пустоты. Заполняют их мелкой щебенкой в смеси с глиняным раствором.
Пространство между гранью кирпича и кожухом заливают глиняным раствором. Воздушные карманы между кожухом и кладкой снижают теплопроводность.

Рисунок 43. Круглая печь в металлическом футляре с винтообразными дымооборотами
Очередную царгу кожуха ставят тогда, когда нижняя царга выложена кирпичом. Кладка стенок центрального канала проводится из кирпичей, отесанных на клин. Ряды 14, 15, 17 не отличаются от 8, 9, 10-го, но смещены по отношению к ним на 135°.
Сечение канала дымовой трубы 15×13 см.
Отопительно-варочные печи
Отопительно-варочные печи кроме отопления предназначены для варки пищи, выпечки хлеба, нагревания воды.
К ним относятся: русская печь, кухонная плита, хлебопекарная печь, комбинированная отопительно-варочная печь.

Рисунок 44. Устройство круглой печи в металлическом футляре с винтообразными дымоходами
Обогревательные части отопительно-варочных печей бывают с разными системами дымооборотов.
Большое количество теплоты отдается в помещение через жарочную плиту и духовой шкаф, т. е. передняя часть печи имеет большую теплоотдачу, чем остальные.
Это следует учитывать при размещении таких печей.
Водогрейные коробки ставят так, чтобы нагрев происходил за счет теплоты, отходящих газов.
Духовые шкафы, чтобы они не перекалялись, покрывают слоем глины и обкладывают стенками из кирпичей "на ребро".
Русская печь
Обладает преимуществом перед обычной печью. Летом используют для приготовления пищи с выпуском дымовых газов прямо в трубу. Зимой дымовые газы пускают прямо в щиток, обогревая его.
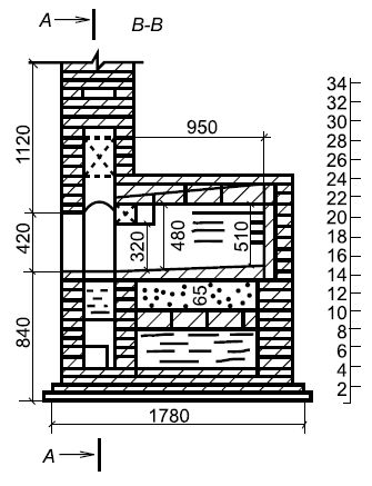
Размеры печи 153×165 см, высота 238 см.
Большая масса печи требует соответствующего фундамента из бутового камня и бетона.
Для удобства в работе кирпичи рекомендуется раскладывать в порядовках без раствора.
Каждый ряд проверяют на горизонтальность, прямоугольность, вертикальность.
Особое внимание обращают на перевязку швов, чистоту каналов и внутренней стороны и заполнению швов раствором. Основная часть русской печи – варочная камера.
Нижняя плоскость варочной камеры называется подом, перекрытие камеры – сводом, отверстие в передней стенке, через которое загружают дрова – устьем, участок перед устьем – шестком; в нижней части печи находится подпечек.
В русской печи нет колосниковой решетки, поэтому в ней не горит уголь. Низ печи до самого пода совершенно не прогревается, поэтому у пола бывает холодно и на полу около входной двери образуются даже наледи.

Рисунок 45. Кладка круглой печи в металлическом футляре с винтообразными дымоходами

Рисунок 45 (окончание). Кладка круглой печи в металлическом футляре с винтообразными дымоходами

Рисунок 46. Русская печь: 1, 13 – чистка; 2 – водогрейная коробка; 3 – шесток; 4 – чугунная плита; 5 – самоварник d=100 мм; 6 – перекрыша; 7 – труба; 8 – перекрыша щитка обогревательного; 9, 10 – задвижки; 11 – вьюшка, закрываемая дверкой; 12 – гидроизоляция (см. рисунок 47)
Для кладки печи требуется 2000 штук кирпича.

Рисунок 47. Устройство русской печи

Рисунок 47 (продолжение). Устройство русской печи
Особенности кладки.
1. Следить за чистотой каналов с внутренней стороны.
2. Полное заполнение швов раствором.
3. Тщательно проводить перевязку швов.

Рисунок 47 (продолжение). Устройство русской печи
4. Отобранные кирпичи раскладывать в порядовках вначале без раствора. 
Рисунок 47 (продолжение). Устройство русской печи
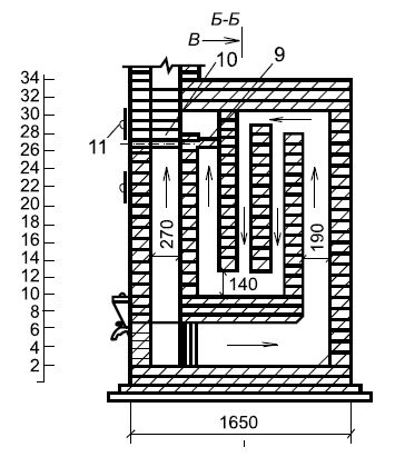
1-й ряд – размер 153×165, в порядовке наружные стороны ряда кладут из целого кирпича, а середину половинками и четвертками.
2-й ряд – кладут в виде стенок разной толщины с колодцем между ними.
3-й ряд – установка поддувальной дверцы, устройство зольника и канала для чистки. Острый угол канала скашивают или закрепляют.
4-й ряд – кладут так же, как 3-й ряд.

Рисунок 48. Кладка русской печи
5-й ряд – поддувальную дверку и чистку перекладывают кладкой. Уложенный на боковые стенки кирпич с внутренней стороны колодца стесывают, образуя пяты, нужные для закладки свода. 
Рисунок 48 (продолжение). Кладка русской печи
6-й ряд – выкладывают свод с небольшим подъемом, доходящим до 8-го ряда, с установкой с передней стороны печи водогрейной коробки. 
Рисунок 48 (продолжение). Кладка русской печи
7-й ряд – выкладывают стенки и перекрывают горизонтальный канал, оставляя три отверстия: одно – около водогрейной коробки; два – в обогревательном щитке для образования вертикальных каналов. 
Рисунок 48 (продолжение). Кладка русской печи
8-й ряд – стесывают кромки кирпичей, укладываемых над зольником. 
Рисунок 48 (продолжение). Кладка русской печи
9-й ряд – кладка как в порядовке, с левой стороны ставят топочную дверку, в результате образуется топливник плиты и щитка. 
Рисунок 48 (продолжение). Кладка русской печи
10-й ряд – водогрейную коробку перекрывают двумя кирпичами со стесанными сторонами (разрез В-В), делают чистку и оставляют 3 канала. 
Рисунок 48 (продолжение). Кладка русской печи
11-й ряд – устраивают горизонтальный канал, над которым будут расположены 3 вертикальных канала щитка. 
Рисунок 48 (продолжение). Кладка русской печи