
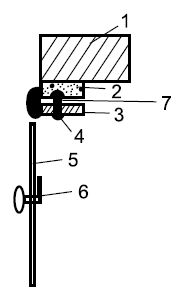
1 – кирпичная кладка на цементно-песчаном растворе; 2 – шамотная кладка на растворе из огнеупорной глины (мергель); 3 – арматура перекрытия портала камина; 4 – засыпка теплоизоляционными материалами; 5 – газовые пороги; 6 – хайло; 7 – верхний проем портала камина из шамотного кирпича; 8 – дымосборник камина; 9 – основание камина; 10 – шибер; 11 – наклонная задняя стенка топливника камина; 12 – наклонная передняя стенка дымосборника камина; 13 – приступок противопожарный (препятствует выпадению углей из топливника камина)
Наклон стенок топливника и дымосборника выполняются для того, чтобы обеспечить идеальные условия для движения дымовых газов и горячего воздуха. Неровные поверхности дымосборника и топливника создают препятствия для движения газов, а также ухудшают эстетический вид каминов. Способы кладки отдельных частей очагов
Нельзя применять для кладки перемычек, сводов, перекрытий металл.
Металл имеет больший коэффициент теплового линейного расширения, чем кирпич. При нагревании он деформирует и разрушает печную кладку, к тому же сильно коробится, вследствие чего уменьшает срок эксплуатации очагов в несколько раз. Печи с применением такой технологии служат не более 3–5 лет. Металл можно устанавливать только на наружные поверхности очагов, не подверженные сильному нагреву и прямому контакту с дымовыми газами.
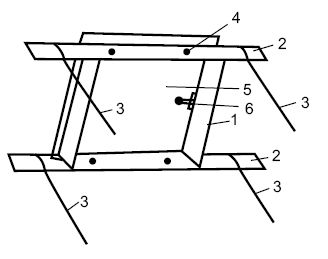
К примеру, банные печи-каменки выкладываются в каркасе из стальных уголков, также топливники отопительно-варочных печей, легкие каркасные печи. Печи-голландки выкладываются в кожухе из кровельной стали. Печи заключаются в каркас, чтобы создать наиболее прочную конструкцию, работающую в экстремальных условиях. К примеру, банные печи-каменки подвержены большим перепадам температуры, в результате чего сильно расширяются швы кладки.
Печи не выдерживают значительных перепадов температуры и деформируются. В результате чего кирпичи в кладке смещаются и печь может разрушиться.
Заключение таких печей в каркас из уголков значительно увеличивает срок эксплуатации печей. Без каркаса печи служат не более двух лет, а с каркасом до 8–10 лет.
Применение стальных уголков
Стальные уголки в конструкциях печей можно применять для кладки перемычек, не подверженных прямому контакту с огнем и горячими дымовыми газами.
Например, устройство полок над очажной плитой, кладка перемычек подпечья русской печи, кладка сушильных и вентиляционных шкафов с устройством в них полок; кладка наружных перемычек каминов, русских печей, уличных очагов; кладка горизонтальных боровов дымоходов в качестве опоры их на уголки.

Рисунок 12. Банная печь в стальном каркасе
Металл листовой применяется для изготовления переходных дымовых патрубков. 
Рисунок 13. Кладка перемычек
Этими способами можно перекрывать топливники и дымовые каналы с шириной от 120 мм до 500 мм. На перекрытиях шириной 380 и 500 мм необходимо срезать тычки под углом в 45°.
...
НА ЗАМЕТКУ
Перекрытия шириной свыше 500 мм рекомендуется перекрывать арочными сводами. Своды русских печей рекомендуется делать только арочными и с применением клинового кирпича и независимо от ширины топливника (горнила), так как такие своды подвержены чрезмерным термическим нагрузкам.
Боковые стены (опорные) арочных перекрытий рекомендуется выкладывать толщиной не менее чем в 1 кирпич – 250 мм.
Сам свод (арочное перекрытие) также рекомендуется выкладывать толщиной в 1 кирпич.
Способы перекрытия дымовых каналов
Дымовые каналы, дымоходы рекомендуется перекрывать следующим образом. Кирпичи тычковыми сторонами не должны выходить на наружные лицевые части очага и не перевязывать между собой лицевую и внутреннюю кладку очага.
На лицевые поверхности очага устанавливают неполномерные кирпичи, распиленные вдоль на две части, а перекрытия каналов шириной в 1 кирпич закрываются трех-четверками.
Перекрытия шириной в полкирпича закрываются полномерным кирпичом вдоль длины кладки дымохода.
Таким образом, на лицевых сторонах соблюдается перевязка швов в полкирпича.
Способы кладки топливников отопительных и отопительно-варочных печей
Топливники следует выкладывать из полнотелого печного кирпича и футеровать изнутри шамотным кирпичом с тепловым зазором между вертикальными рядами – 10 мм, заполняемых эластичной засыпкой, состоящей из мелкого сухого песка с молотой каолиновой ватой или асбестовым порошком, соблюдая перевязку швов кладки в полкирпича.

Рисунок 14. Арочный свод: 1 – пяточные кирпичи; 2 – клиновые кирпичи; 3 – подоснование печи; 4 – боковые стенки шириной 1 кирпич (250 мм)
Топливники отопительно-варочных печей необходимо обвязывать каркасом из стального уголка 65×65 мм для усиления прочности кладки топливника и практичности при пользовании очагом, так как верхние ряды кладки очень часто разрушаются из-за того, что по ним постоянно передвигают и ставят тяжелую посуду. 
Рисунок 15. Кладка топливника отопительно-варочных печей: 1 – кирпич шамот; 2 – засыпка; 3 – кирпич полнотелый; 4 – дверка топочная; 5 – дверка поддувальная
Также влияют большие перепады температуры.
На свободном пространстве между уголками и плитой устанавливают стальные пластины, так как глиняный раствор, на который устанавливается плита, выкрашивается.

Рисунок 16. Топливники печей в каркасе из стального уголка: 1 – стальной уголок; 2 – стальная пластина; 3 – чугунная плита; 4 – уплотнитель (асбестовый шнур либо шнур из стеклоткани с каолиновой ватой) Способы кладки перемычек топочных дверок, духовок чугунных либо стальных
Способ 1. Дверка перекрывается кирпичами – тычками с напуском на рамку дверки на полкирпича с каждой стороны.
Способ 2. Дверка перекрывается тремя кирпичами со спиленными тычками под 45°, с напуском боковых кирпичей на рамку дверки на четверть кирпича.
Способ 3. Дверка перекрывается ароч ной перемычкой с применением клиновых кирпичей, которые можно изготовить самостоятельно.
Установка печных приборов
Для печей применяются только чугунные печные приборы, так как они имеют минимальную разницу в коэффициентах теплового расширения по отношению к кирпичу.
Чугунные изделия не коробятся и не искривляются под воздействием высоких температур в отличие от стальных изделий.
Печные приборы необходимо устанавливать так, чтобы между ними и кирпичом оставался зазор шириной 5 мм.
Дверки топочные, поддувальные, прочистные крепятся при помощи кляммеров (стальных пластин) толщиной 2 мм и нихромовой проволоки диаметром до 2 мм.
Зазор между дверкой и кирпичом уплотняется асбестовым шнуром, либо шнуром из стеклоткани и каолиновой ваты.

Рисунок 17. Способы кладки перемычек топочных дверок, чугунных или стальных духовок: 1 – топочная дверка; 2 – боковые стенки; 3 – нижние опорные кирпичи; 4 – верхняя перемычка тычками; 5-верхняя перемычка клиновыми кирпичами; 6 – прочная перемычка; 7 – пяточные кирпичи

Рисунок 18. Установка печных приборов: 1 – плита очажная; 2 – уплотнитель; 3 – колосник; 4 – дверка топочная; 5 – дверка поддувальная; 6 – стальной уголок; 7 – стальная пластина; 8 – кирпичная кладка
Таким же способом уплотняют и остальные печные приборы – задвижки, колосники, очажные плиты, чугунные духовки.

Рис. 19. Установка печных приборов: 1 – кирпич; 2 – уплотнитель; 3 – рамка дверки; 4 – заклепка кляммера; 5 – дверка; 6 – ручка дверки; 7 – кляммер

Рисунок 20. Способы крепления дверок: 1 – рамка дверки; 2 – кляммер; 3 – проволока нихромовая; 4 – заклепки; 5 – дверка; 6 – защелки дверки

Рисунок 21. Способ установки задвижки: 1 – кирпич; 2 – уплотнитель; 3 – рамка задвижки; 4 – задвижка

Рисунок 22. Способ изготовления уплотнителя: 1 – стеклоткань; 2 – каолиновая вата; 3 – клеющая мастика (термостойкая)