...
СОВЕТ
Духовки в печь рекомендуется устанавливать только чугунные. Способы установки аналогичны для всех печных приборов.
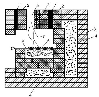
Кладка уличных очагов
Кладка аналогична кладке каминов. Для защиты от нагрева наружных поверхностей применяется вермикулит либо каолиновая вата с толщиной тепло изоляционного слоя от 100 до 150 мм в зависимости от назначения очага.
Толщина теплоизоляционного слоя может доходить до 250 мм.
Теплоизоляция на уличных очагах применяется также для максимального аккумулирования тепла внутренними поверхностями и создания наибольших температур внутри топливников мангалов, барбекю, азиатских конструкций очагов.
Способы кладки дымовых труб, распушек, оголовков труб, горизонтальных боровов
Кладку любой дымовой трубы следует выполнять со строгим соблюдением прямолинейности и вертикальности кладки. Не допускать разворачивания трубы вокруг своей оси, проверяя прямолинейность боковых граней.

Рисунок 23. Кладка уличных очагов: 1 – шов расширительный; 2 – кирпич шамот; 3 – кирпич печной; 4 – теплоизоляция термостойкая; 5 – горящие угли; 6 – шампур; 7 – дымовые газы; 8 – канал дымовой
...
ВНИМАНИЕ
Необходимо всегда помнить, что труба – это высокая не армированная колонна, выложенная на слабом глинопесчаном растворе. Любое несоблюдение технологии кладки (отклонение от вертикали и т. п.) может привести к ее разрушению – труба может упасть.
Способы кладки распушки
Кладка распушки начинается следующим образом. Трубу не доводят до потолка на расстояние 250 мм и начинают выкладывать расширение трубы. Каждый ряд распушки расширяется на 70 мм. В месте прохождения распушки через деревянное потолочное перекрытие толщина распушки должна быть от 250 до 500 мм в зависимости от вида очага и способов дополнительной защиты деревянного перекрытия от дымовой трубы.
Схемы порядовки
Распушку необходимо выкладывать с соблюдением перевязки швов кладки и не допускать перевязку внутренней части распушки с наружной.
Между двумя контурами кладки укладывается теплоизоляционный слой толщиной 10–15 мм, теплоизоляционным материалом может служить асбест, вермикулит, молотая каолиновая вата.

Рисунок 24. Способы кладки распушек: 1 – распушка; 2 – теплоизоляция; 3 – деревянные перекрытия; 4 – распушка над перекрытием
Материалы смешиваются в пропорции 1: 1 с глинопесчаным раствором. Не допускается совпадение вертикальных швов кладки внутреннего и наружного периметров кладки.
...
СОВЕТ
При прохождении дымовой трубы через потолочные деревянные перекрытия необходимо ряды кладки тщательно затирать снаружи глинопесчаным раствором. Все швы кладки необходимо особенно тщательно заполнять.
Распушка должна быть выложена над деревянными пере-крытиями не менее чем на 2 ряда кладки – 130 мм.
В чердачном помещении трубу штукатурят тонким слоем, не более 5 мм, белят известью.




Рисунок 25. Схема порядовой кладки распушки
Выполнение кладки дымовых труб в помещениях с бетонными перекрытиями (см. рисунок 26). 

Рисунок 26. Способ кладки дымовых труб

Рисунок 26. Способ кладки дымовых труб (продолжение): 1 – распушка надпотолочная; 2 – дымовая труба над перекрытием; 3 – дымовая труба под перекрытием; 4 – теплоизоляция термостойкая; 5 – пол деревянный; 6 – лага деревянная; 7 – бетонная плита; 8 – металлическая гильза; 9 – керамовермикулит; 10 – дюбель со стальной пробкой; 11 – пластина стальная с отверстием
Дымовая труба доводится до бетонного междуэтажного перекрытия. В заранее подготовленное отверстие в бетонной плите вставляется стальная гильза (переходник) с наружным сечением равным сечению канала дымовой трубы.
В промежуток между стальной гильзой и бетонной плитой шириной 70 мм заливается жидкий теплоизоляционный материал – глинопесчаный раствор, каолиновый порошок или вермикулит в пропорциях 1:1.
Вокруг трубы у потолка крепятся при помощи дюбелей и стальных пластин кирпичи из керамовермикулита толщиной 100 мм, шириной 110 мм. Так перекрываются возможные деформации трубы и бетонной плиты при усадке.
Кладка оголовка трубы, участка трубы над кровлей
Эту кладку рекомендуется вести на цементно-песчаном растворе, так как под воздействием осадков (дождя, снега) глинопесчаный раствор вымывается. Сразу над кровлей труба выкладывается с уширением (выдра) для защиты кровли от протечек.
В местах соприкосновения со сгораемыми конструкциями кровли трубу необходимо изолировать асбестовыми листами.
...
ВНИМАНИЕ
Над мягкой горючей кровлей труба выкладывается на расстояние не менее 2 м высоты для защиты кровли от возгорания. Верхняя часть трубы (оголовок) также выкладывается с уширением для защиты от ветрового подпора.
Способы кладки отопительных щитков для отопительных или отопительно-варочных печей
Кладка должна вестись строго по технологии: соблюдать перевязку швов в полкирпича, выдерживать толщину швов не более 5 мм. Внутренние поверхности дымовых каналов тщательно очищают от излишков раствора и вымывают.
Необходимо выдерживать одинаковые площади сечения каналов подверток перевалов. Наружные поверхности необходимо отмывать от излишков раствора, швы расшивать расшивкой толщиной 4–5 мм. Защищенные поверхности кирпича необходимо обращать внутрь дымовых каналов.


Рисунок 27. Способ кладки отопительных щитков: 1 – потолок; 2 – перекрыша; 3 – дымовой канал; 4 – кирпичная кладка; 5 – термостойкая негорючая теплоизоляция
Верхняя часть (перекрыша) отопительного щитка должна быть перекрыта тремя рядами кладки на расстоянии до сгораемого потолка 500 мм. Если расстояние менее 500 мм необходимо перекрывать четырьмя рядами кладки. При расстоянии менее 200 мм необходимо дополнительно укладывать теплоизоляцию. Способ кладки топливника (горнила)русской печи
Топливники русских печей рекомендуется выкладывать качественным печным (полнотелым) или шамотным (огнеупорным) кирпичом с минимальной толщиной швов кладки не более 3 мм.
Для кладки свода топливника изготавливаются деревянные кружала одноразового использования. После изготовления русской печи они выжигаются.
Под (основание) топливника рекомендуется теплоизолировать для исключения до минимума теплопотерь и повышения теплоаккумуляции. Кладка топливника начинается с выкладки основания.
Основание изготавливается из деревянных брусов сечением 100×100 мм, желательно из лиственницы. Применяемые материалы необходимо обрабатывать антисептиком.
Уложенные бруски скрепляются стальными скобами.
Далее на подготовленное основание выкладывается по периметру полнотелый кирпич высотой в два ряда, а внутрь периметра укладываются блоки из керамовермикулита.

Рисунок 28. Теплоизоляция топливника