Всего за 29 руб. Купить полную версию

Рис. 38. Врезка замка: 1 – паз для корпуса замка; 2 – углубление под планку замка; 3 – углубление под шурупы; 4 – массив двери; 5 – ригель; 6 – шурупы; 7 – защелка; 8 – замочная скважина
Механические замки
Сувальдные замки
Замки этого типа открываются ключами-"бабочками" и отличаются высокой надежностью (если снабжены минимум 6 сувальдами и имеют узкую скважину для ключа). Современные сувальдные замки могут быть перекодированы на другой ключ в случае потери исходного.
Цилиндровые замки
Они открываются так называемыми английскими ключами. В основе запорного механизма лежит комплект подпружиненных штифтов, пластин и шариков разных размеров. Для обеспечения достаточной надежности замок должен быть оснащен не менее чем 5 штифтами. Цилиндры замков имеют овальную или круглую форму. Профиль механизма может повториться лишь через несколько сотен тысяч экземпляров. Такой замок может быть снабжен обыкновенным ключом и боковым кодом, увеличивающим количество комбинаций цилиндров, что значительно повышает надежность замка. Полезно знать, что цилиндровые механизмы (личинки) являются взаимозаменяемыми. Это еще больше повышает секретность запорного устройства. Кроме того, в случае утери ключа можно поменять не весь замок, а только личинку. Как сувальдные, так и цилиндровые замки могут быть многозасовными. Так, цилиндр замка может совмещать механический и электрический код. В этом случае в него может быть заложена программа, позволяющая открывать дверь лишь в определенное время либо заблокировать замок при утере ключа.
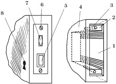
Электромагнитный и электромеханический замки
Они отличаются высокой секретностью и могут снабжаться различным числом ригелей. В случае необходимости возможна быстрая перекодировка механизма. Чаще всего такие замки устанавливаются в сочетании с системой видеонаблюдения. Могут также использоваться магнитные карты, кодовые замки и др. Магнитные замки обладают высокой износоустойчивостью. Специалисты рекомендуют отдавать предпочтение изделиям шведских производителей. В продаже также представлены так называемые дисковые модели (финские). Это цилиндровые замки с дисками вместо штифтов. Они врезаются в дверь на высоте 100 см от пола.
Дверные шпингалеты
Их устанавливают на одном из полотен двустворчатой двери сверху и снизу. Они прирезаются так же, как и врезной замок. Нужно выбрать пазы в вертикальном бруске дверной обвязки и врезать в них механизм шпингалета. Пластину с отверстием следует зафиксировать на брусках дверной коробки. Если у дверной коробки нет порога, то пластина прикрепляется к полу и верхнему бруску.
Предохранительная цепочка
Она продается в комплекте с фиксирующим пазом и планкой. Цепочку нужно закрепить на наличнике двери с помощью шурупов. Последние должны быть углублены в массив дверной коробки. Ответная планка закрепляется на бруске обвязки дверного полотна.
Место под планку следует выбирать таким образом, чтобы можно было вставить запорный крючок цепочки в фиксирующий паз или вынуть из него лишь при закрытой двери и натянутой цепочке. В этом случае при любом движении дверного полотна цепочка будет втягивать запорный крючок в паз. Таким образом, вынуть его оттуда можно будет только тогда, когда дверь закрыта.
Дверные ручки
Дверные ручки не обеспечивают дополнительную безопасность, но влияют на работу замка.
Ручки могут быть изготовлены из различных материалов и иметь любую форму. Они должны быть как на наружных, так и на внутренних дверях. При выборе этой детали следует обратить внимание на то, чтобы ее стержень был длинным. Кроме того, она должна выступать с каждой стороны дверного полотна не менее чем на 20 мм. Дверная ручка совмещается с корпусом замка.
В завершение разговора о запорных устройствах необходимо отметить, что один замок не обеспечивает в достаточной мере безопасность жилого помещения, поэтому желательно, чтобы дверь была оснащена двумя запорными устройствами разных типов.