Всего за 29 руб. Купить полную версию
Запорные устройства для дверей
Безусловно, солидная дверь от известного производителя украшает дом как снаружи, так и внутри. Однако одного внешнего вида недостаточно, ведь главным назначением входной двери все же является безопасность – защита жилища от проникновения посторонних людей. Для этого конструкция должна быть дополнена современными надежными запорными механизмами и дверной фурнитурой (шпингалеты, ручки, замки, задвижки и др.). Первое, на что стоит обратить внимание, – дверной замок. В специализированных магазинах представлен широкий ассортимент различных запорных устройств. Однако без надлежащих знаний разобраться в их качестве и надежности не представляется возможным.
Существует классификация замков, в основе которой лежат следующие качества:
– прочность;
– секретность;
– устойчивость к вскрытию.
Есть замки, которые можно легко вскрыть даже без специального инструмента. Но есть и другие, более сложные механизмы. Следует отметить, что среди специалистов существует мнение, что нет такого запора, который невозможно открыть. Ведь люди, которые этим занимаются, также "совершенствуют" свои навыки. На каждое действие есть противодействие, с этим, к сожалению, не поспоришь. Таким образом, при выборе замка нужно принимать во внимание следующее:
– какие именно инструменты могут понадобиться для его вскрытия;
– насколько шумным и продолжительным будет этот процесс.
Секретность – это качество определяет устойчивость запорного механизма к вскрытию и зависит от количества комбинаций, к каждой из которых может подходить только один ключ. Чем выше секретность, тем сложнее открыть замок с помощью слесарного инструмента или отмычки.
Надежность предполагает число циклов срабатывания (открываний и закрываний), которое заложено в данном механизме, а также способность препятствовать силовому воздействию.
В зависимости от типа установки все замки делятся на:
– навесные;
– накладные;
– врезные.
Навесные замки
Данный тип замков предназначен для дверей подсобных помещений, поэтому рассказывать о них подробно не имеет смысла. Специалисты не рекомендуют использовать их и для гаражей, так как взломать такое запорное устройство не составляет труда. Исключением являются секретные навесные замки. Их корпус выполнен из меди или стали, а толщина бугеля, изготовленного из закаленной стали, составляет не менее 8 мм. Для большей надежности накладка или ригель защелки также должны быть очень качественными и прочными.
Накладные замки
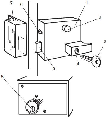
Накладной замок тоже является не самым надежным запорным устройством (рис. 36), однако многие предпочитают именно его из-за невысокой стоимости и простоты монтажа. Следует учитывать, что накладной замок довольно просто взломать. Способ взлома зависит от направления открывания входной двери.

Рис. 36. Устройство накладного замка: 1 – коробка замка; 2 – скользящая кнопка; 3 – ключ; 4 – внутренняя замочная скважина; 5 – язычок; 6 – вспомогательный язычок; 7 – принимающая накладка; 8 – наружная замочная скважина
Если дверь открывается внутрь, то требуется лишь приложить достаточное усилие при нажатии на нее, в результате чего сорвется ответная планка. При открывании двери наружу все зависит от того, насколько прочно закреплен замок. Помимо перечисленных недостатков, такие запорные устройства не эстетичны и портят внешний вид дорогостоящей двери.
Установка накладного замка
Установить накладной замок может и непрофессионал. Для этого достаточно придерживаться инструкции к изделию. Первое, что нужно сделать, – высверлить отверстие для ключевины. Устанавливать замок нужно так, чтобы его передняя планка располагалась заподлицо с торцом полотна двери. Кроме того, нужно обратить внимание на то, что лицевая поверхность запорной планки и поверхность фальца дверной коробки должны находиться в одной плоскости.
Замок фиксируется с помощью шурупов. Его исправность проверяется путем открывания и закрывания ключом. Затем прикрывается дверь и на бруске дверной коробки намечается место для ответной планки. С этой целью выбирается углубление небольшого размера и делается вырез в наличнике. В завершение работы устанавливаются дверные ручки и накладки замочной скважины.
Врезные замки
Они являются наиболее надежным запорным устройством. Такой замок располагается внутри гнезда, находящегося в массиве дверной обвязки. Кроме того, его установка никак не сказывается на внешнем виде двери (рис. 37).

Рис. 37. Устройство врезного замка: 1 – дверная ручка; 2 – накладка ручки; 3 – ключ; 4 – шпиндель; 5 – корпус замка; 6 – щеколда; 7 – язычок; 8 – лицевая накладка; 9 – принимающая накладка
Врезной замок должен быть дополнен корпусом, щеколдой и косячной накладкой. Более сложную конструкцию представляет собой запорное устройство, снабженное язычком и отверстием для шпинделя. Язычок работает при повороте дверной ручки и шпинделя, а щеколда – при движении ключа в замке. В пазу на дверном косяке устанавливается принимающая накладка. На наружных дверях с врезными замками монтируются приемные накладки ящичного типа, которые усиливают надежность конструкции. Защелка дополняется валиком, выполненным из твердых сортов стали, поэтому ее невозможно повредить обычной ножовкой. Ригели запорного устройства располагаются внутри стены. Защитные двери дополняются такими замками, так как их ригели отличаются высокой надежностью.
Замки делятся на механические, электромеханические и электромагнитные. Наиболее распространенными и надежными являются первые. По типу запорного устройства они бывают сувальдными и цилиндровыми.
Установка врезного замка
Такой замок установить сложнее, чем накладной. Сначала в боковом бруске обвязки дверного полотна с помощью стамески или долота выбирается паз, соответствующий размеру замка. При этом последний должен плотно входить в паз (без зазоров). Если не соблюсти это условие, возможны перекосы, что неблагоприятно скажется на работе замка. В дверном полотне сверлится отверстие, соответствующее размеру цилиндрового механизма или ключа. Оно должно быть на 1 мм больше размеров ключа. Чтобы не допустить ошибки, место для сверления нужно предварительно измерить. Отверстие под ключевину цилиндрового механизма сначала высверливается с одной стороны (не до конца), а затем – с другой. После установки замка проверяется его работа: ригель и защелка должны легко двигаться, а ключ должен поворачиваться без приложения особых усилий. После этого подвижные части обрабатываются солидолом (цилиндровый механизм не смазывается) и закрепляются с помощью шурупов через отверстия в планке. Если у вас недостаточно опыта в установке врезных замков, то могут возникнуть сложности с установкой запорной планки на дверной коробке. Дело в том, что она должна располагаться таким образом, чтобы ригель замка легко открывался и закрывался. Место монтажа прорези запорной планки следует предварительно разметить. Для этого в дверной коробке выбирают паз. Его размер должен быть таким, чтобы ригель входил в него с незначительным припуском. Паз заполняют пластилином и разравнивают поверхность. Как только ключ поворачивается, ригель должен выскочить и оставить след на пластине, с которым следует совместить отверстие запорной планки. Ее прикладывают, делают разметку и фиксируют, ориентируясь на следы на пластине. Если все сделано правильно, замок будет работать. Установка врезного замка показана на рис. 38.