Источник тока, управляемый током
Другим типом зависимых источников, который часто применяется в электронике, является источник тока, управляемый током (ИТУT) (Current-Controlled Current Source (CCCS) или Current-Dependent Current Source (CDCS)).
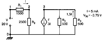
На рис. 1.25 показана базовая схема. Значение источника тока равно 3I, где I - ток через резистор R1. Как и в предыдущем примере, ток протекает от узла 1 к узлу 2, по часовой стрелке в левом контуре. Коэффициент 3I обычно задается как kI, где k - множитель для опорного тока, протекающего в одной из ветвей цепи. Нетрудно установить, что при I=2 А в левом контуре ток через F будет равен 3·2=6 А и проходит в направлении, указанном стрелкой внутри F.

Рис. 1.25. Схема с источником тока, управляемым током
В этом примере мы можем получить для I=20/(1500+2500)=5 мА, как и для тока в левом контуре. Ток в F при этом равен 3·5 мА=15 мА (направлен вниз по стрелке). Этот ток делится поровну между R3 и R4, по 7,5 мА через каждый резистор. Ток идет от узла 1 к узлу 3, обеспечивая узлу 3 отрицательный потенциал. Напряжение V(3)=-500·7,5 мА=–3,75 В.
В качестве прелюдии к исследованию более сложной схемы с зависимым источником, рассмотрим, как выглядит входной файл для схемы на рис. 1.25:
Current-Controlled Current Sources
V 1 0 20V
F 3 0 V -3
R1 1 2 1500
R2 2 0 2500
R3 3 0 500
R4 3 0 500
.OP
.OPT nopage
.TF V(3) V
.END
Ваш выходной файл должен показать что V(2)=12,5 В и V(3)=-3,75 В. Под заголовком Current-Controlled Current Sources расположена строка ввода тока источника F, дающая значение 15 мА. Поскольку он втрое больше тока в левом контуре, это значение правильное. Положительное значение показывает, что ток направлен от узла 3 к узлу 0 внутри F. Необходимо показать соответствующее значение для F в команде входного файла. На строке, описывающей F, заданы два значения для начального и конечного узла (по стрелке внутри F). Следующее значение V относится к источнику напряжения, который обеспечивает управляющий ток I. Этот ток I входит в выражение для выходного тока источника kI. Коэффициент k является множителем при I, он не имеет размерности. В этом примере к имеет значение -3, которое описывает ток через источник V так же, как в различных предыдущих примерах. Внимательно изучите этот простой пример, поскольку здесь часто возникают ошибки. Освоив этот простой пример, вы будете в состоянии моделировать и более сложные схемы.
В выходном файле для RINдано значение 4 кОм, которое, очевидно, верно. Обычно также интересно и выходное сопротивление ROUT=250 Ом. В самой правой части схемы на рис. 1.25 мы видим два параллельно соединенных сопротивления R3 и R4, которые и образуют выходное сопротивление при неактивном (разомкнутом) источнике тока.
Другие источники тока, управляемые током
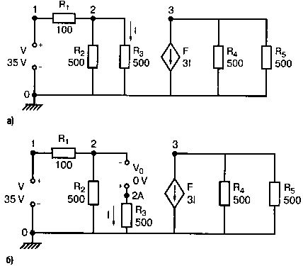
Несколько иная ситуация для более сложной схемы с ИТУТ часто возникает при анализе электронных цепей, когда управляющий ток проходит в ветви, не содержащей независимых источников напряжения V. На рис. 1.26, а представлена типовая схема. В ней управляющий ток проходит через резистор R3. Именно этот ток, умноженный на k, определяет ток источника F.
Напомним, что в строке описания источника F присутствует независимый источник напряжения типа V. Как же быть? Просто введите источник напряжения с нулевым значением в ветвь, в которой протекает управляющий ток, как показано на рис. 1.26, б. Обозначьте этот источник как R0, чтобы это напоминало вам о его нулевом значении. Входной файл будет иметь вид:
Another CDCS Example
V 1 0 35V
V0 2А 2 0V
F 3 0 V0 -3
R1 1 2 100
R2 2 0 500
R3 2A 0 500
R4 3 0 500
R5 3 0 500
.OP
.ОРТ nopage
.TF V(3) V
.END

Рис. 1.26. Введение источника нулевого напряжения:
а) другая схема с источником тока, управляемым током
б) схема с введенным источником нулевого напряжения
Рассмотрим строку, описывающую F. Она следует за описанием независимого источника V0, поскольку он находится в ветви, где протекает управляющий ток I. Сравним строки, описывающие F в этом и в предыдущем примерах, чтобы увидеть разницу. Отметим дополнительную строку, описывающую V0. В ней указаны два узла 2А и 2. Заметим, что положительный узел (всегда первый) показывает направление, приведенное на рисунке. Это соответствует соглашениям, использованным в предыдущих примерах, где ток также выходит из положительного узла источника.
Ранее мы не использовали буквы для обозначения узлов, но это успешно можно делать. На самом деле могут быть использованы комбинации из букв и цифр. Узлы могут быть, например, обозначены как a1, b12, 1с и так далее. Итак, в действительности нулевое значение напряжения означает, что оно не влияет на процессы в схеме. Строка, описывающая R3, изменена, чтобы показать наличие нового узла 24.
Запустите моделирование и проверьте результат. Значения равны: V(2)=25 В, V(3)=-37,5 В, и, как ожидалось, V(2A) также равно 25 В. Нетрудно проверить, что I=50 мА, обеспечивая 3I=150 мА, как показано в выходном файле; это и есть ток через F. Этот ток делится поровну между R4 и R5, давая ток 75 мА в каждом из них. Таким образом, потенциал V(3)=-75 В. Входное и выходное сопротивления уже проверены.
В качестве дополнительного упражнения посмотрите, что произойдет, если изменить две строки входного файла следующим образом:
V0 2А 2 0V
F 3 0 V0 3
Это просто другой способ описания отношения между управляющим током и ИТУТ (CDCS). Попытайтесь установить, что оба способа равноценны, и применяйте тот, который удобен для вас.
Источник тока, управляемый напряжением
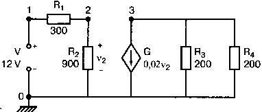
Строка описания источника тока, управляемого напряжением в Spice, начинается буквой G. На рис. 1.27 показан пример такой схемы. Эта цепь легко анализируется с помощью ручного расчета. Напряжение n2 получается на выходе делителя напряжения и равно 9 В. Ток через зависимый источник равен, таким образом: 0,02·9=180 мА. Коэффициент к имеет размерность проводимости 1/Ом. Этот ток делится поровну между R3 и R4, обеспечивая ток 90 мА через каждый резистор. Это дает напряжение
V30 = -0,09·200 = -18 В.

Рис. 1.27. Схема с источником тока, управляемым напряжением
Входной файл для этого случая:
Voltage-Dependent Current Source
V 1 0 12V
G 3 0 2 0 0.02
R1 1 2 200
R2 2 0 900
R3 3 0 200
R4 3 0 200
.OP
.ОРТ nopage
.TF V(3) V
.END
В строке описания источника тока G приведены сначала два узла: 3 и 0. Они соответствуют началу и концу стрелки в обозначении источника. Следующие два узла (2 и 0) соответствуют плюсу и минусу управляющего напряжения n2.
Запустите моделирование на PSpice и проверьте полученные значения величин: V(2)=9 В, V(3)=-18 В, V(2)=25 В, RIN=1200 Ом и ROUT=100 Ом.
Отношение V(3)/V=-1,5 представляет собой коэффициент усиления схемы. В дальнейшем вы увидите, как эта величина может использоваться для анализа различных транзисторных и интегральных схем.