Всего за 104.9 руб. Купить полную версию

Рис. 10.18. Диалоговое окно определения параметров размерного стиля, вкладка управления линиями
Данное окно содержит семь вкладок:
□ вкладка Lines позволяет осуществлять управление внешним видом размерных линий;
□ вкладка Symbols and Arrows позволяет настроить параметры символов и стрелок;
□ вкладка Text обеспечивает управление размерным текстом: его стилем, высотой, местоположением относительно размерной линии, зазором между текстом и размерной линией и пр.;
□ вкладка Fit позволяет установить правила взаимного расположения размерных, выносных линий и текста;
□ вкладка Primary Units позволяет определить формат и точность основных линейных и угловых единиц, вид измеренных значений размеров;
□ вкладка Alternate Units позволяет определить формат и точность альтернативных единиц, которые используются для обозначения величин размеров в дополнительной системе единиц;
□ вкладка Tolerances управляет параметрами формата и точности простановки допусков, показывающих пределы, в которых может варьироваться размер.
Глава 11
Редактирование чертежей
Выбор объектов
Большинство команд редактирования AutoCAD требует предварительного указания объектов для работы с ними. Выбранные объекты – один или несколько – называются набором. Такой набор можно создать как до, так и после вызова команды редактирования.
После того как вызвана одна из команд редактирования, AutoCAD предлагает выбрать объекты. В командной строке появляется запрос:
Select objects: – выбрать объекты
При этом перекрестье указателя мыши заменяется прицелом выбора. Выбор отдельных объектов производится с помощью мыши или одним из способов. Несколько из них описаны ниже:
□ Add – включает режим добавления для пополнения существующего набора. Это начальный режим, устанавливаемый для выбора объектов;
□ ALL – позволяет выбрать все примитивы, в том числе те, которые расположены на отключенных, заблокированных и замороженных слоях;
□ Crossing – секущая рамка выделяет все объекты, которые находятся внутри или пересекают контур рамки. По умолчанию в ответ на запрос Select objects: можно указать первый угол рамки, а затем второй в направлении справа налево;
□ Last – выбирает последний нарисованный объект, видимый на экране;
□ Window – выбирает объекты, которые целиком попадают в рамку. По умолчанию в ответ на запрос Select objects: можно указать первый угол рамки, а затем второй угол по диагонали от первого в направлении слева направо.
Редактирование с помощью ручек
Выбранными объектами можно манипулировать с помощью ручек – маленьких квадратиков, которые высвечиваются в определяющих точках выбранных объектов (рис. 11.1).

Рис. 11.1. Примеры примитивов с ручками
При включенном режиме работы с ручками выбор объектов производится до редактирования, а манипуляции с ними выполняются с помощью указателя мыши или ключевых слов. Таким образом, использование ручек позволяет минимизировать обращения к меню.
Удаление и восстановление объектов
![]()
Команда ERASE осуществляет удаление (стирание) объектов. Она вызывается из падающего меню Modify ► Erase или щелчком на пиктограмме Erase на панели инструментов Modify.
Запросы команды ERASE:
Select objects: – выбрать объекты
Select objects: – выбрать объекты
Select objects: – нажать клавишу Enter для завершения работы команды
Выбор объектов, которые следует стереть, может производиться любым из доступных способов.
Для восстановления удаленных последней командой Е RAS Е объектов используется команда OOPS. Ее название – "ОЙ" – весьма удачно отражает эмоции пользователя, испытываемые в момент применения этой команды.
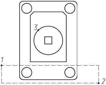
Пример. Удаление объектов
Удалить из рисунка две нижние окружности и окружность в центре (рис. 11.2).

Рис. 11.2. Удаление объектов
Запустите команду ЕRASE, вызвав ее из падающего меню Modify ► Erase или щелчком на пиктограмме Erase на панели инструментов Modify.
Ответьте на запросы:
_ERASE
Select objects: W – переход в режим выбора объектов рамкой
Specify first corner: – укажите точку 1
Specify opposite corner: – укажите точку 2
Select objects: – укажите точку 3 для выбора окружности в центре
Select objects: – нажмите клавишу Enter для завершения работы команды
Копирование объектов
![]()
Команда COPY осуществляет копирование объектов. Она вызывается из падающего меню Modify ► Сору или щелчком на пиктограмме Сору на панели инструментов Modify.
Запросы команды COPY:
Select objects: – выбрать объекты
Select objects: – нажать клавишу Enter для завершения выбора объектов
Specify base point or [Displacement/mOde] <Displacement>: – указать базовую точку или перемещение
Specify second point or <use first point as displacement>: – указать вторую точку размещения копии объекта или считать перемещением первую точку
Specify second point or [Exit/Undo] <Exit>: – указать вторую точку размещения копии объекта или нажать Enter для завершения команды
Specify second point or [Exit/Undo] <Exit>:
Запрос, требующий указания точки смещения копии объекта, делается многократно. Каждое смещение определяется относительно исходной базовой точки. После получения нужного количества копий в ответ на запрос необходимо нажать клавишу Enter.
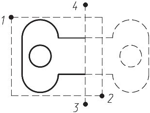
Пример. Копирование объектов
Получить две копии детали (рис. 11.3).

Рис. 11.3. Копирование объектов
Запустите команду COPY, вызвав ее из падающего меню Modify ► Сору или щелчком на пиктограмме Сору на панели инструментов Modify. Ответьте на запросы:
_COPY
Select objects: – укажите точку 1
Select objects: – нажмите клавишу Enter для завершения выбора объектов
Specify base point or [Displacement/mOde] <Displacement>: – укажите точку 2
Specify second point or <use first point as displacement>: – укажите точку 3
Specify second point or [Exit/Undo] <Exit>: – укажите точку 4
Specify second point or [Exit/Undo] <Exit>: – нажмите клавишу Enter для завершения работы команды
Зеркальное отображение объектов
![]()
Команда MIRROR осуществляет зеркальное отображение объектов. Она вызывается из падающего меню Modify ► Mirror или щелчком на пиктограмме Mirror на панели инструментов Modify.
Запросы команды MIRROR:
Select objects: – выбрать объекты
Select objects: – нажать клавишу Enter для завершения выбора объектов
Specify first point of mirror line: – указать первую точку оси отражения
Specify second point of mirror line: – указать вторую точку оси отражения
Delete source objects? [Yes/No] <N>: – удалить или оставить исходные объекты
Пример. Зеркальное отображение объектов
Зеркально отобразить деталь относительно вертикальной оси, не удаляя старый объект (рис. 11.4).

Рис. 11.4. Зеркальное отображение объектов
Запустите команду MIRROR, вызвав ее из падающего меню Modify ► Mirror или щелчком на пиктограмме Mirror на панели инструментов Modify. Ответьте на запросы:
_MIRR0R
Select objects: W – переход в режим выбора объектов рамкой
Specify first corner: – укажите точку 1
Specify opposite corner: – укажите точку 2
Select objects: – нажмите клавишу Enter для завершения выбора объектов
Specify first point of mirror line: END – укажите точ ку 3 с динамической объектной привязкой к конечной точке отрезка
Specify second point of mirror line: END – укажите точ ку 4 с динамической объектной привязкой к конечной точке отрезка
Delete source objects? [Yes/No] <N>: – нажмите клавишу Enter для отказа от удаления старого объекта