Всего за 104.9 руб. Купить полную версию
Создание подобных объектов
![]()
Команда OFFSET осуществляет создание подобных объектов (эквидистант) с заданным смещением. Она вызывается из падающего меню Modify ► Offset или щелчком на пиктограмме Offset на панели инструментов Modify.
Можно строить подобные отрезки, дуги, окружности, двумерные полилинии, эллипсы, эллиптические дуги, прямые, лучи и плоские сплайны. Подобные окружности имеют диаметр больший или меньший, чем исходный, в зависимости от того, как задано смещение. Если оно указано точкой вне окружности, то новая окружность имеет больший диаметр, а если внутри окружности – меньший.
Запросы команды OFFSET:
Specify point on side to offset or [Exit/Multiple/Undo] <Exit>:
Current settings: Erase source=No Layer=Source OFFSETGAPTYPE=0 – текущие установки команды
Specify offset distance or [Through/Erase/Layer] <Through>: – указать величину смещения
Select object to offset or [Exit/Undo] <Exit>: – выбрать объект для создания подобных
Specify point on side to offset or [Exit/Multiple/Undo] <Exit>: – указать точку, определяющую сторону смещения
Select object to offset or [Exit/Undo] <Exit>: – выбрать объект для создания подобных
Specify point on side to offset or [Exit/Multiple/Undo] <Exit>: – указать точку, определяющую сторону смещения
Select object to offset or [Exit/Undo] <Exit>: – нажать клавишу Enter для завершения команды
Ключи команды OFFSET:
□ Through – позволяет задать смещение через точку;
□ Erase – позволяет удалить исходный объект после смещения;
□ Layer – позволяет ввести параметр слоя для смещаемых объектов: текущий или источник;
□ Multiple – осуществляет создание нескольких подобных объектов (эквидистант) с заданным смещением.
Пример. Построение эквидистанты
Построить несколько вариантов эквидистанты заданной полилинии (рис. 11.5).

Рис. 11.5. Построение эквидистанты
Запустите команду OFFSET, вызвав ее из падающего меню Modify ► Offset или щелчком на пиктограмме Offset на панели инструментов Modify. Ответьте на запросы:
_OFFSET
Specify offset distance or [Through/Erase/Layer] <Through>: 15 – смещение
Select object to offset or [Exit/Undo] <Exit>: – укажите точку 1
Specify point on side to offset or [Exit/Multiple/Undo] <Exit>: – укажите точку 2
Select object to offset or [Exit/Undo] <Exit>: – укажите точку 3
Specify point on side to offset or [Exit/Multiple/Undo] <Exit>: – укажите точку 4
Select object to offset or <exit>: – нажмите клавишу Enter для завершения работы команды
Размножение объектов массивом
![]()
Команда ARRAY осуществляет размножение объектов массивом. Она вызывается из падающего меню Modify ► Array... или щелчком на пиктограмме Array... на панели инструментов Modify. При этом открывается диалоговое окно Array (рис. 11.6).

Рис. 11.6. Диалоговое окно формирования прямоугольного массива
В данном окне присутствуют параметры двух режимов:
□ Rectangular Array – режим установки значений прямоугольного массива;
□ Polar Array – режим установки значений кругового массива.
Перемещение объектов
![]()
Команда MOVE осуществляет перемещение объектов. Она вызывается из падающего меню Modify ► Move или щелчком на пиктограмме Move на панели инструментов Modify.
Запросы команды MOVE:
Select objects: – выбрать объекты
Select objects: – нажать клавишу Enter для завершения выбора объектов
Specify base point or [Displacement] <Displacement>: – указать базовую точку или перемещение
Specify second point or <use first point as displacement>: – указать вторую точку перемещения или считать перемещением первую точку
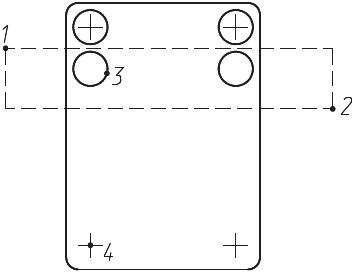
Пример. Перемещение объектов
Переместите две нижние окружности так, чтобы их центры совпали с маркерами центров, обозначенными в нижней части рисунка (рис. 11.7).

Рис. 11.7. Перемещение объектов
Запустите команду MOVE, вызвав ее из падающего меню Modify ► Move или щелчком на пиктограмме Move на панели инструментов Modify.
Ответьте на запросы:
_MOVE
Select objects: W – переход в режим выбора объектов рамкой Specify first corner: – укажите точку 1
Specify opposite corner: – укажите точку 2
Select objects: – нажмите клавишу Enter для завершения выбора объектов
Specify base point or [Displacement] <Displacement>: CEN – укажите точку 3 с динамической объектной привязкой к центру левой окружности
Specify second point or <use first point as displacement : INT – укажите точку 4 с динамической объектной привязкой к пересечению отрезков маркера
Поворот объектов
![]()
Команда ROTATE осуществляет поворот объектов. Она вызывается из падающего меню Modify ► Rotate или щелчком на пиктограмме Rotate на панели инструментов Modify.
Запросы команды ROTATE:
Current positive angle in UCS: ANGDIR=counterclockwise ANGBASE=0 – текущие установки отсчета углов в ПСК
Select objects: – выбрать объекты
Select objects: – нажать клавишу Enter для завершения выбора объектов
Specify base point: – указать базовую точку
Specify rotation angle or [Copy/Reference] <0>: – указать угол поворота
Ключи команды ROTATE:
□ Copy – копировать поворачиваемый объект;
□ Reference – используется для поворота относительно существующего угла.
Пример. Поворот объектов
Поверните деталь на 45° (рис. 11.8).
Запустите команду ROTATE, вызвав ее из падающего меню Modify ► Rotate или щелчком на пиктограмме Rotate на панели инструментов Modify. Ответьте на запросы:
_ROTATE
Current positive angle in UCS: ANGDIR=counterclockwise ANGBASE=0
Select objects: – укажите точку 1
Select objects: – нажмите клавишу Enter для завершения выбора объектов
Specify base point: CEN – укажите точку 2 с динамической объектной привязкой к центру дуги
Specify rotation angle or [Copy/Reference] <0>: 45 – угол поворота

Рис. 11.8. Поворот объектов
Масштабирование объектов
![]()
Команда SCALE осуществляет масштабирование объектов. Она вызывается из падающего меню Modify ► Scale или щелчком на пиктограмме Scale на панели инструментов Modify.
Запросы команды SCALE:
Select objects: – выбрать объекты
Select objects: – нажать клавишу Enter для завершения выбора объектов
Specify base point: – указать базовую точку
Specify scale factor or [Copy/Reference] <default>: – указать коэффициент масштабирования
Ключи команды SCALE:
□ Copy – теперь в новой версии программы у команды SCALE имеется возможность копировать масштабируемый объект;
□ Reference – применяется для определения коэффициента масштабирования с использованием размеров существующих объектов в качестве ссылок.
Пример. Масштабирование объектов
Увеличить изображение детали в 2,5 раза (рис. 11.9).
Запустите команду SCALE, вызвав ее из падающего меню Modify ► Scale или щелчком на пиктограмме Scale на панели инструментов Modify.
Ответьте на запросы:
_SCALE
Select objects: W – переход в режим выбора объектов рамкой
Specify first corner: – укажите точку 1
Specify opposite corner: – укажите точку 2
Select objects: – нажмите клавишу Enter для завершения выбора объектов
Specify base point: – укажите точку 3
Specify scale factor or [Copy/Reference] <1.0000>: 2.5 – коэффициент масштабирования

Рис. 11.9. Масштабирование объектов