Министерство обороны СССР - 120-мм миномет обр. 1938 г. Руководство службы стр 7.

Шрифт
Фон

Точное горизонтирование осуществляется посредством вращения корпуса 2 (см. рис. 13) вокруг винта 3. При вращении корпуса винт перемещается вдоль оси, отклоняя корпус подъемного механизма. При работе механизмом горизонтирования зажим должен быть зажат.

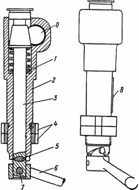
Рис. 15. Механизм горизонтирования первых выпусков:

1 заклепка; 2 корпус; 3 винт; 4 втулка; 5 резьбовая втулка; 6 проушина; 7 установочный винт; 8 установочный винт; 9 проушина

Точное горизонтирование при помощи механизма горизонтирования старого образца ничем не отличается от точного горизонтирования при помощи механизма нового образца.

Разборка и сборка механизма горизонтирования

Разборка

Разобрать механизм горизонтирования в следующем порядке:

отделить механизм горизонтирования, для чего вывинтить установочные винты 14 (см. рис. 10) из проушин, выбить оси 16 механизма горизонтирования и отделить механизм 4;

снять пружинное кольцо 4 (см. рис. 13);

вывинтить гайку 1 ключом для фрезерованных гаек из корпуса 2;

вывинтить винт 3 и вынуть проушину 15;

выбить бородком штифт 3 (см. рис. 12);

свинтить рукоятку с гайкой с пальца 1 и вынуть палец.

Сборка

Сборку механизма горизонтирования производить в следующем порядке:

вставить палец 1 (см. рис. 12) в зажимную втулку 2 и навинтить на палец перекидную рукоятку 4 с гайкой;

забить штифт 3 в перекидную рукоятку 4;

ввинтить в корпус 2 (см. рис. 15) винт 3 и вставить до упора проушину 9;

ввинтить гайку 1 (см. рис. 13) ключом для фрезерованных гаек в корпус 2 до совпадения отверстий под конец пружинного кольца 4 в гайке и корпусе;

поставить пружинное кольцо 4, вставив загнутый конец кольца в совмещенные отверстия гайки и корпуса;

вставить механизм горизонтирования винтом 3 в паз зажима до совмещения отверстий под ось 16 механизма горизонтирования (см. рис. 10); вставить ось механизма горизонтирования и, повернув ее до совмещения отверстий под установочный винт 14 в винте 3 (см. рис. 13), ввинтить установочный винт 14 (см. рис. 10) и закрепить его;

вставить проушину 15 (см. рис. 13) в паз на выступе корпуса подъемного механизма до совмещения отверстий под ось 16 механизма горизонтирования (см. рис. 10). Вставить ось механизма горизонтирования и, повернув ее до совмещения отверстий под установочный винт 14, ввинтить установочный винт.

Примечание. Разбирать механизм горизонтирования старого образца в следующем порядке: вывинтить установочный винт 7 и ключом 51-1 вывинтить резьбовую втулку 5 (см. рис. 15), затем вынуть проушину 6 с втулкой 4, вывинтив установочный винт 8; вывинтить проушину 6 из втулки 4; вывинтить из корпуса 2 винт 3, вращая проушину 9.

Для сборки механизма горизонтирования необходимо:

ввинтить в корпус 2 винт 3, вращая проушину 9;

навинтить втулку 4 на проушину 6 и, закрепив ее установочным винтом 8, вставить проушину 6 с втулкой 4 в корпус 2;

ввинтить ключом 51-1 в корпус 2 резьбовую втулку 5 до совмещения отверстий под винт, ввинтить установочный винт 7.

Устройство вертлюга

Корпус вертлюга 7 (рис. 16) представляет собой сплошную фигурную деталь, в верхней части которой имеются два цилиндрических отверстия а для крепления штоков амортизатора и в нижней части, по краям, две проушины б для винта поворотного механизма.

Рис. 16. Вертлюг с поворотным механизмом:

1 пробка (3-32); 2 шайба (3-68); 3 масленка с шариком (Сб2-2); 4 конус (3-31); 5 штифт (3-35); 6 уровень (Сб3-2); 7 корпус вертлюга (3-30); 8 рукоятка (Сб3-7); 9 винт (3-29); 10 регулирующие гайки (3-27); 11 контргайки (3-28); 12 корпус матки (3-26); 13 защитная втулка (34); 14 установочный винт (35); а отверстия для крепления штоков амортизатора; б проушины для винта поворотного механизма; в отверстие под переходный кронштейн прицела

В верхней части справа (если смотреть сзади) находится прилив, в котором имеется отверстие в со шпоночной канавкой для закрепления переходного кронштейна прицела, В верхней части справа на вертлюге крепится уровень 6, который в нерабочем положении закрывается защитной втулкой

13.

Переходный кронштейн для установки прицела состоит из корпуса 2 (рис. 17), на который навинчены две гайки 4 и вставлена шпонка 8. Внутри корпуса помещены ось 3 с конусной головкой и пружина 1. На конце оси помещена рукоятка 6, закрепленная штифтом 7. При повороте рукоятки 6 штифт 5 скользит по фигурному вырезу корпуса, перемещая ось 3 вдоль корпуса кронштейна. Прицел осью вставляют в отверстие о так, чтобы штифт оси прицела вошел в прорезь головки корпуса 2 кронштейна, после чего рукоятку поворачивают вправо. При этом конус под действием пружины входит в вырез оси прицела и удерживает прицел.

Рис. 17. Переходный кронштейн для установки прицела на миномет:

1 пружина (3); 2 корпус кронштейна (1); 3 ось (2); 4 гайки (6); 5 и 7 штифты (5); 6 рукоятка (7); 8 шпонка (4); О отверстие

Для установки кронштейна необходимо:

выбить штифт 7 рукоятки и снять рукоятку 6 с оси 3;

свинтить гайки 4 с корпуса;

вставить кронштейн хвостовой частью в отверстие в вертлюга (см. рис. 16) так, чтобы головка кронштейна была вверху и впереди; кронштейн должен входить в отверстие туго; разрешается слегка ударять молотком по головке кронштейна;

Ваша оценка очень важна

0
Шрифт
Фон

Помогите Вашим друзьям узнать о библиотеке