Министерство обороны СССР - 120-мм миномет обр. 1938 г. Руководство службы стр 3.

Шрифт
Фон

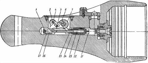
Обтюрация пороховых газов в соединении трубы с казенником осуществляется посредством обтюрационного кольца, плотно зажимаемого между коническими скатами с кольцевыми уступами трубы и казенника.

Хомут 4 с опорами надевается на трубу между кольцевыми выступами и закрепляется болтом 10, который служит одновременно осью для зажима, состоящего из специального болта 7, прижимной планки 8 и барашка 9, навинченного на нарезную часть специального болта 7. Барашек от свинчивания удерживается шайбой, надетой на конец специального болта и закрепленной на нем; конец болта расклепан. При вращении барашка планка прижимается к опорам, чем обеспечивается поджатие ног двуноги к опорам хомута.

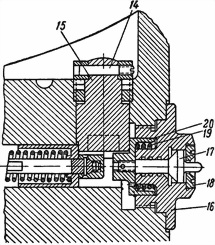
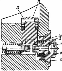
Казенник состоит из корпуса казенника 1 (рис. 3) и стреляющего приспособления, смонтированного в нем.

Корпус казенника делится на три части: переднюю, среднюю и хвостовую.

Передняя часть снаружи представляет собой цилиндр с коническим скатом. Внутри передней части корпуса казенника имеется резьба для соединения с трубой. Дальше расположена цилиндрическая часть с тремя канавками б (рис. 4), переходящая в конический скат с двумя кольцевыми уступами в, на которые накладывается обтюрационное кольцо. Канавки б предназначаются для улавливания пороховых газов, которые могут прорваться по зазорам между коническими скалами казенника и трубы при недостаточном зажиме обтюрационного кольца.

В средней части корпуса казенника, на площадке г (см. рис. 3), имеется отверстие д для переключателя и продолговатое окно е для крючка и рычага стреляющего приспособления.

Кроме того, на площадке г имеются две шаровые выемки, которые с помощью шарика, вставленного в ручку переключателя, фиксируют переключатель при переводе бойка в «Жесткое» «Ж» или «Свободное» «С» положение.

В выемке з корпуса казенника имеются отверстия для оси крючка и оси ручки рычага.

Хвостовая часть корпуса казенника переходит в шаровую пяту с плоскими гранями и сквозным отверстием к для ломика.

В центре дна казенника имеется канал л (см. рис. 4), в котором помещается ударный механизм и ударник.

Стреляющее приспособление состоит из ударника, ударного механизма, спускового механизма и переключателя.

Ударный механизм состоит из корпуса бойка 16, бойка 17, упора 18, пружины бойка 19 и основания бойка 20, закрепленного штифтом от свинчивания.

Ударник состоит из ползуна 23 с надетыми на него упорной втулкой 25, пружиной 24, ударной втулкой 22 и наконечником 21, который навинчен на ползун и закреплен штифтом. На другом конце ползуна укреплена на оси собачка 26, которая снизу поднимается пластинчатой пружиной 27; пружина к ползуну прикреплена винтом 28. Для надежности крепления пружины 27 под винт 28 подложена планка 1.

Рис. 4. Собранный казенник в разрезе (боек в «Свободном» положении):

1 планка (17); 2 ось крючка (1-33); 3 крышка (1-38);

4 крючок (1-32); 5 палец рычага (1-35); 6 установочный винт (1-37); 7 рычаг (1-34); 8 шарик (1-21); 9 винт (1-39); 10 пружина ручки (1-22); 11 специальный винт (1-23); 12 ручка переключателя (1-20); 13 резьбовое кольцо (1-19); 14 винт (1-82); 15 переключатель (1-81); 16 корпус бойка (1-27); 17 боек (1-28); 18 упор (1-31); 19 пружина бойка (1-29); 20 основание бойка (1-88); 21 наконечник ударника (1-12); 22 ударная втулка (1-11); 23 ползун (13); 24 пружина ударника (1-10); 25 упорная втулка (19); 26 собачка (14); 27 пружина (16); 28 винт (18); б канавки; в уступы; л канал

Рис. 5. Собранный казенник в разрезе (боек в «Свободном» положении, момент спуска):

1 планка (17); 2 ось крючка (1-33); 4 крючок (1-32); 5 палец рычага (1-35); 6 установочный винт (1-37); 7 рычаг (1-34); 21 наконечник ударника (1-12); 22 ударная втулка (1-11); 23 ползун (13); 24 пружина ударника (1-10); 25 упорная втулка (19); 26 собачка (14); 27 пружина (16)

Спусковой механизм состоит из рычага 7 (см. рис. 4) с пальцем 5, ручки рычага 8 (см. рис. 3), крючка 4 и оси 2 крючка.

Рычаг стопорится на ручке установочным винтом 6.

Переключатель (см. рис. 4) состоит из собственно переключателя 15, ручки 12, шарика 8, пружины 10, винта 11 и резьбового кольца 13, которое удерживает переключатель от выпадения.

Действие стреляющего приспособления

При оттягивании спусковым шнуром ручки рычага поворачивается рычаг, который закреплен на оси ручки. Рычаг, поворачиваясь, рожками нажимает на упорную втулку 25 (рис. 5) и подает ее вперед, сжимая пружину ударника 24. Одновременно рычаг пальцем поворачивает крючок 4. Крючок, вращаясь на оси, концом упирается в собачку 26 и оттягивает ползун назад, сжимая пружину ударника 24.

Рис. 6. Жесткое положение бойка:

14 винт (1-82); 15 переключатель (1-81); 16 корпус бойка (1-27); 17 боек (1-28); 18 упор (1-28); 19 пружина бойка (1-29); 20 основание бойка (1-88)

Рис. 7. Казенник с переключателем первых выпусков (боек в «Жестком» положении):

2 квадратная втулка (1-16); 3 втулка (1-15); 4 стопор (1-18); 6 выключатель (1-14)

Положение деталей стреляющего приспособления в момент спуска показано на рис. 5.

Когда крючок соскакивает с собачки, ползун под действием разжимающейся пружины 24 перемещается вперед и наконечником 21 ударяет по основанию бойка 20 (см. рис. 4). Боек 17 движется вперед и ударяет по капсюлю хвостового патрона.

Ваша оценка очень важна

0
Шрифт
Фон

Помогите Вашим друзьям узнать о библиотеке