Олег Дерябин - Средства преодоления водных преград. Книга 2. Советская Армия стр 3.

Книгу можно купить на ЛитРес.
Всего за 239.9 руб. Купить полную версию
Шрифт
Фон

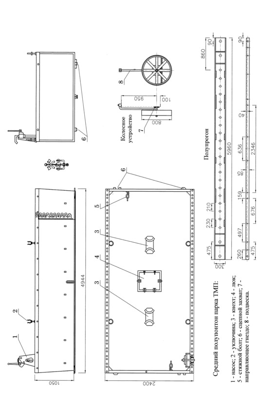
Обшивка изготавливалась из стали и имела такую же толщину, что и в парке Н2П  1,5 мм, толщина палубы была 1 мм.

На палубе полупонтона имелся люк с водонепроницаемой крышкой, сварной кнехт для закрепления якорного и буксирного каната, фундамент под съемный брашпиль.

Для смыкания полупонтонов на кормовой переборке имелось два сцепных захвата внизу и два отверстия вверху с втулками, в которые вставлялись стяжные болты.






Средний полупонтон был без носового обвода и имел квадратное сечение и отличался количеством отверстий на стрингерах.

Брашпиль использовался для выбирания якорных канатов, притягивания паромов к пристани и удержания парома при погрузке и выгрузке.

Для перекатывания полупонтонов использовалось 36 колесных устройств состоящих из колес и подвесок. Колесное устройство крепилось к полупонтону с помощью ползуна, который вводился в специальное гнездо полупонтона. Также в комплекте парка имелось 12 тележек для перевозки элементов парка.

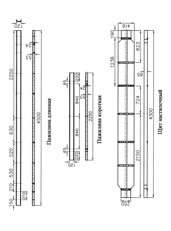
Прогоны входили в верхнее строение и служили для перекрытия пролетов в мостах, паромах и пристанях. Между собой прогоны соединялись зажимными болтами, к понтонам, рамным ригелям, береговым лежням и связным щитам прогоны крепились стрингерными болтами. Связные щиты служили поперечной связью и предохраняли прогоны от скручивания. Настилочные щиты образовывали проезжую часть. Пажилины предназначались для закрепления настила и являлись колесоотбоями.

Для устройства пристаней использовалась рамная (козловая) опора, которая состояла из ригеля, двух стоек и двух подъемников с кронштейнами и предназначалась для устройства береговых пролетов на мелководье а также пристаней. Барабанная опора в основном использовалась для устройства пристаней. Береговой лежень предназначался для устройства береговой опоры.

Аппарельное устройство предназначалось для погрузки и выгрузки паромов без использования пристаней, оно имело грузоподъемность 60 тонн. Аппарельное устройство состояло из аппарели, ноги, кронштейна, трубы и съемного рычага. В парках ТМП поздних выпусков аппарельное устройство отсутствовало, но было включено 4 барабанные опоры.


ПЕРЕВОЗКА ПАРКА ТМП


Перевозка парка осуществлялась на 108 автомобилями (102 трехтонных и 6 пятитонных). Для перевозки парка требовалось переоборудование силами войск 72 трехтонных автомобилей, остальным переоборудование не требовалось. При оборудовании автомобиля кузов снимался, вместо него устанавливалась рама. Часть имущества укладывалась в полупонтоны.

Также парк перевозился на трехтонных прицепах с использованием тракторов. Прицепы оборудовались как в заводских условиях, так и силами войск. Прицепы изготовленные на заводах имели металлическую раму и крепления для понтонного имущества парка. Для перевозки на прицепах оборудованных в заводских условиях требовалось 36 тракторов и 98 прицепов, при перевозке на прицепах оборудованных в войсках количество тракторов увеличивалось до сорока тракторов и до 108 прицепов. Из прицепов формировалось 36поездов по 3 прицепа, из них 24 понтонных поездов, 6 поездов для перевозки прогонного и паромного имущества с разведывательными катерами НКЛ-27, 2 поезда с береговым имуществом и буксирно-моторными катерами и 4 поезда по два прицепа с дополнительным имуществом, цистернами и катерами.

После войны парк перевозился 100 автомобилями ЗиС-151 (ЗиС-150). Для перевозки полупонтонов, прогонов и настила предназначалось 72 понтонных автомобиля. Перевозка рамных и береговых опор для устройства береговых опор осуществлялась на 4 автомобилях. Для барабанных и береговых опор также выделялось 4 автомобиля. Настилочные щиты и пажилины перевозило 12 автомобилей. Для перевозки катеров и навесных моторов выделялось 8 автомобилей. Все автомобили так же оборудовались силами войск. На понтонном автомобиле снимались борта и вдоль платформы прибивалось две ограничительные рейки, для предотвращения смещения полупонтона. Для крепления полупонтона изготавливались подкладочные и прижимные брусья, и тяги состоящие из запажильного болта и крюка.

Материальная часть была распределена с расчетом, чтобы из элементов перевозимых на четырех понтонных автомобилях, можно было собрать один 50-т мостовой паром.


Количество элементов перевозимое на понтонном автомобиле

(72 понтонных автомобиля)

 полупонтон носовой (средний)  1;

 болты стяжные Н2П  4;

 ломики понтонные  1;

 весла Н2П  5;

 уключины ТМП  5;

 уключины Н2П  1;

 багры Н2П  1;

 якоря 100 кг  1 (на носовом);

 канаты якорные окружностью 76 мм и длиной 85 м  1;





 круги спасательные  1;

 веревки бросательные  1;

 кронштейны якорные  1 (на носовом);

 браншпили в сборе  1 (на носовом);

 насосы с кронштейнами  1 (на носовом);

 черпаки Н2П  1;

 пробки прострельные Н2П  5;

 кранцы Н2П  1.

 полупрогоны с зажимными болтами  6 на носовом и 5 на среднем;

 болты зажимные (отдельно)  4;

 болты стрингерные  11;

 щиты настилочные  5 (на среднем);

 стойки перильные  4;

 распорки длинные  2;

 распорки короткие  1;

 ведра  1 (на среднем);

 канаты вспомогательные окружностью 38 мм и длиной 20 м  2;

 нагрудники спасательные  1;

 скобы для стыкования прогонов  1;

 сумки для уключин и болтов  1;

 фонари аккумуляторные  1 (на носовом);

 фонари сигнальные КСФ  2;

 штропы длинные 4.5 м  4;

 штропы короткие 2.5 м  4


Количество элементов перевозимое на настилочном автомобиле

(12 настилочных автомобилей)

 щиты настилочные  20;

 щиты связные  3;

 доски настилочные  1;

 пажилины  6;

 канаты вспомогательные окр. 38 мм и длиной 20 м  2;

 колеса с подвеской в сборе  3;

 колотушки деревянные  8;

 наплечники  10;

 тележки ТМП без колес  1;

 фонари сигнальные КСФ  2;

 швабры  2;

Количество элементов перевозимое на козловом автомобиле

(8 козловых автомобилей)

 болты зажимные (отдельно)  22;

 болты стрингерные  30;

 щиты настилочные  10;

 щиты связные  2;

 стойки перильные  4;

 распорки длинные  4;

 ригели  1;

 трубы верхние  2;

 трубы нижние  2;

 шпоры  2;

 пальцы запорные  8;

 стойки подъемные  2;

 талрепы с кронштейнами  2;

 пальцы кронштейнов  2;

 пальцы установочные  2.

 канаты вспомогательные окр. 38 мм и длиной 20 м  3;

 канаты разводные окружностью 76 мм и длиной 130 м  1;

 наплечники  12;

 сумки для уключин и болтов  2;

 фонари сигнальные КСФ  2;

 штропы длинные 4.5 м  2;

 штропы короткие 2.5 м  2.

Количество элементов перевозимое на прогонном автомобиле

(6 прогонных автомобилей)

 полупрогоны с зажимными болтами  11;

 пажилины  3;

 болты пажильные  12;

 распорки длинные  45;

 распорки короткие  8;

 канаты вспомогательные окр. 38 мм и длиной 20 м  3;

 наплечники  12;

 фонари сигнальные КСФ  2.

Количество элементов перевозимое на паромном автомобиле

(2 паромных автомобиля)

 болты зажимные (отдельно)  18;

 стойки перильные  20;

 аппарели  4;

 ноги апарельные  4;

 кронштейны апарельные  8;

 трубы соединительные  4;

 рычаги съемные  4;

 кронштейны пристани  12.

 блоки бегущие двойные  3;

 канаты вспомогательные окр. 38 мм и длиной 20 м  3;

 крюки для вытаскивания понтонов  3;

 кошки пятилапные  1;

 наплечники  12;

 рупоры  4;

 свайки  3;

 тросы диаметром 1215 мм и длиной 85 м  1;

 фонари сигнальные КСФ  4;

 чехлы для длинных флагов  4;

 чехлы для коротких флагов  2;

 штропы длинные 4.5 м  3;

 штропы короткие 2.5 м  3.


Количество элементов перевозимое на береговом автомобиле

(4 береговых автомобиля)

 болты стрингерные  30;

 щиты связные  34;

 доски настилочные  2;

 болты пажильные  72;

 лежни береговые  2;

 анкеры  8;

 болты анкерные  8;

 тросы анкерные  8;

 талрепы анкерные  4;

 серьги анкерные  8;

 крюки анкерные  4;

 пальцы анкерные  16;

 балочки трамплинные  6;

 пажилины укороченные  2;

Ваша оценка очень важна

0
Шрифт
Фон

Помогите Вашим друзьям узнать о библиотеке

Скачать книгу

Если нет возможности читать онлайн, скачайте книгу файлом для электронной книжки и читайте офлайн.

fb2.zip txt txt.zip rtf.zip a4.pdf a6.pdf mobi.prc epub ios.epub fb3