Ковалёв В. К. - Балансировка роторов

Книгу можно купить на ЛитРес.
Всего за 10 руб. Купить полную версию
Шрифт
Фон

Балансировка роторов

Методическое пособие

В. К. Ковалёв

© В. К. Ковалёв, 2016


Создано в интеллектуальной издательской системе Ridero


1. Основные понятия

Главным источником вибрации агрегатов является неуравновешенность роторов1, которая всегда имеет место. Неуравновешенность роторов подразделяют на следующие три вида.

Статическая неуравновешенность – это неуравновешенность, при которой ось ротора и его главная центральная ось инерции параллельны (см. рис.1).


Рис.1


Моментная неуравновешенность – это неуравновешенность, при которой ось ротора и его главная центральная ось инерции пересекаются в центре масс ротора (см. рис.2).


Рис.2


Динамическая неуравновешенность – это неуравновешенность, при которой ось ротора и его главная центральная ось инерции пересекаются не в центре масс или перекрещиваются (см. рис.3). Она состоит из статической и моментной неуравновешенности.


Рис.3


Частным случаем динамической неуравновешенности является квазистатическая неуравновешенность, при которой ось ротора и его главная центральная ось пересекаются не в центре масс ротора.

Вызываемая неуравновешенностью центробежная сила определяется по формуле:

F

цн

2

2

где w = 2πf = πn/30— угловая скорость,

f – частота вращения ротора в секунду,

n – частота вращения в минуту,

P – вес ротора, q = 9,81м/сек

2

r – радиус неуравновешенной массы или модуль эксцентриситета.

На высоких оборотах неуравновешенные массы могут развить центробежные силы до недопустимых значений, которые приведут к разрушению машины. Для большинства машин достижение неуравновешенной центробежной силой значения ок. 30% веса ротора является предельно допустимой величиной.

Произведение неуравновешенной массы на её эксцентриситет называют дисбалансом. Дисбаланс – величина векторная. Чаще используется термин «значение дисбаланса», которое равно произведению неуравновешенной массы m на модуль её эксцентриситета е

ст

D = m е

ст

Дисбалансы роторов в процессе эксплуатации могут быть вызваны износом рабочих частей, изменением посадки дисков, ослаблением крепления элементов входящих в состав роторов, деформацией и другими факторами, приводящими к смещению масс относительно оси вращения.

Значение дисбаланса обычно указывается в гмм, гсм. 1гсм = 10гмм.

В технике допуск на все физические параметры обычно задают в зависимости от величины. Понятно всем, что если взвешивается масса 1кг, то взвесить с точностью до10г несложно. Взвесить массу 1т с точностью до10г сложнее, да и обычно этого не требуется. Поэтому допуск на вес часто задают в относительных единицах. Такая же аналогия характерна для выбора допусков на балансировку роторов. Для задания допуска часто используют отношение значения дисбаланса к массе ротора, называемое удельным дисбалансом. Удельный дисбаланс соответствует эксцентриситету центра массы ротора.

е

ст

Дисбалансы устраняются балансировкой. Балансировка – это процесс определения значений и углов дисбалансов ротора, и уменьшения их корректировкой масс. На практике получили распространение два вида балансировки: статическая и динамическая.

2. Статическая балансировка

Статическая балансировка, как правило, проводится в одной плоскости коррекции и применяется, главным образом, к дисковым роторам. Её можно использовать, если отношение длины ротора к его диаметру не превышает 0,25. Плоскостью коррекции называют плоскость, перпендикулярную оси ротора, в которой расположен центр корректирующей массы (массы, используемой для уменьшения дисбалансов ротора).

При статической балансировке определяется и уменьшается главный вектор дисбалансов ротора, характеризующий его статическую неуравновешенность. Главный вектор дисбалансов равен сумме всех векторов дисбалансов, расположенных в различных плоскостях, перпендикулярных оси ротора (см. рис. 4).


Рис.4


Для роторов, у которых их длины соизмеримы с диаметрами или превосходят их, статическая балансировка неэффективна, а в некоторых случаях может оказаться вредной. Например, если плоскость коррекции окажется на значительном расстоянии от главного вектора дисбалансов, то, уменьшив статическую неуравновешенность, можно увеличить моментную неуравновешенность.

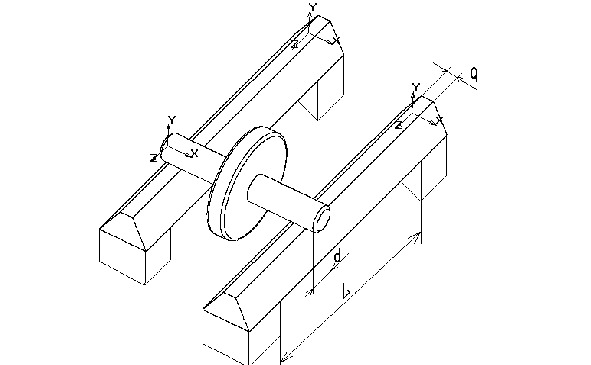
При статической балансировке используется свойство центра масс ротора занимать при устойчивом равновесии низшее положение. Наиболее простым устройством для статической балансировки являются параллельные горизонтальные призмы или ножи, на которые устанавливается ротор или оправа с балансируемым диском (см. рис.5). Такие устройства полезны для устранения больших статических дисбалансов и широко используются для балансировки шлифовальных кругов. Ниже приведены соотношения геометрических параметров, рекомендуемых при изготовлении таких устройств.


Рис.5


Отклонение рабочих поверхностей призмы от горизонтальной плоскости не должно превышать 0,1мм на метр длины призмы. Ширина рабочей части призмы и её сечение выбираются таким образом, чтобы выполнялись следующие соотношения:

а ≤ m/2d, J ≥ Pl

3

где А – ширина рабочей части призмы,

m – масса ротора в кг,

d – диаметр опорных шеек ротора,

J – момент инерции поперечного сечения призм,

Р = mg – вес ротора,

l – расстояние между опорами призм,

Е – модуль упругости материала призмы,

y = 0,02—0,03мм – допустимый прогиб в середине призм.

Если дать ротору свободу для перекатывания, то при наличии дисбаланса он после остановки примет такую позицию, при которой его центр масс займёт низшее положение. При статической балансировке, многократно перекатывая ротор, отмечают низшую точку. Если ротор останавливается в одной и той же позиции, то это свидетельствует о наличии дисбаланса. Ротор считается сбалансированным, если при многократном его повороте он останавливается в произвольном положении. Реально на практике призмы и валы изготавливаются из стали. Коэффициент трения качения для стали к

т

ст,

ст

тк

Исходя из этого, используя соотношение (2), можно оценить значение дисбаланса, которого можно добиться при статической балансировке.

D

ст.

Если подставить в формулу (1) значения:

F

ц

r = е

ст

то можно подсчитать частоту вращения, до которой можно применять статическую балансировку n

ст.


Следует отметить, что известно множество устройств для статической балансировки [4], позволяющих увеличить её точность. Однако в настоящий момент эти устройства мало распространены, так как широко стала использоваться динамическая балансировка, которая вытеснила устройства для статической балансировки в силу их ограниченных возможностей.


Иногда при статической балансировке корректирующие массы распределяются на две плоскости коррекции. В этом случае при распределении масс используются соотношения (4), приведённые ниже на рис.6.

Примечания

1

Здесь и далее выделены курсивом термины и определения, установленные ГОСТом 19534 – 74. Балансировка вращающихся тел. Термины [1].

Ваша оценка очень важна

0

Дальше читают

Шрифт
Фон

Помогите Вашим друзьям узнать о библиотеке

Скачать книгу

Если нет возможности читать онлайн, скачайте книгу файлом для электронной книжки и читайте офлайн.

fb2.zip txt txt.zip rtf.zip a4.pdf a6.pdf mobi.prc epub ios.epub fb3