Олег Дерябин - Деревянные мостовые парки ДМП, ДМП-42, ДДП стр 2.

Книгу можно купить на ЛитРес.
Всего за 134.9 руб. Купить полную версию
Шрифт
Фон

Характеристика парка ДМП

Из имущества парка ДМП собирались наплавные мосты неразрезной системы грузоподъемностью 16 и 30 т и перевозные паромы под грузы 9, 16 и 30 т. Сборка мостов производилась попаромно, мостовые паромы использовались как перевозные.


Понтон:

 водоизмещение  7.5 т;

 вес  1100 кг;

 длина  5.5 м;

 ширина  1.8 м;

 высота  1.1 м.

Обтекатель:

 вес  86 кг;

 длина  1.42 м;

 ширина  1.8 м;

 высота  1.19 м.


Характеристика паромов собираемых из комплекта парка ДМП

Паром 9 тонный:

 грузоподъемность  9 т;

 допустимое давление на ось  5 т;

 количество паромов из парка  20 шт.;

 ширина проезжей части  3.45 м.

Паром 16 тонный:

 грузоподъемность  16 т;

 допустимое давление на ось  8 т;

 количество паромов из парка  10 шт.;

 ширина проезжей части  3.45 м.

Паром 30 тонный:

 грузоподъемность  30 т;

 допустимое давление на ось  8 т;

 количество паромов из парка  5 шт.;

 ширина проезжей части  3.45×2 м.


Характеристика мостов собираемых из комплекта парка ДМП

Мост 16 тонный:

 грузоподъемность  16 т;

 допустимое давление на ось  8 т;

 длина моста  128.5 м;

 ширина проезжей части  3.45×2 м.

Мост 30 тонный:

 грузоподъемность  30 т;

 допустимое давление на ось  8 т;

 длина моста  64 м;

 ширина проезжей части  3.45×2 м.

Материальная часть парка ДМП

В отличие от табельных парков, имущество ДМП делилось только на три группы: понтона, верхнего строения и вспомогательных принадлежностей.

Понтон изготавливался из сосны или ели и представлял собой открытую прямоугольную коробку, состоящую из двух бортов, двух транцев, двух шпангоутных рам и сцепного устройства. Все элементы соединялись болтами и разбирались только во время ремонта.



Борт состоял из нижней обвязки, стрингера, двух торцовых стоек, шпангоутов и досок обшивки. Днище включало две боковые и две торцовые обвязки, одиннадцать флор, восемь упорных брусков, 1112 досок обвязки, пять сланей и два полозка. Транцы придавали понтону поперечную жесткость и вместе со шпангоутными рамами, флорами и шпангоутами образовывали поперечный набор понтона. Шпангоутная рама состояла из нижней и верхней распорки, двух стоек и двух парных подкосов. С помощью сцепного устройства производилась стыковка понтонов между собой кормовыми транцами.





На стрингере понтона, при помощи отверстий, крепилось верхнее строение. С помощью вертикальных отверстий устанавливались прогоны и ригели, горизонтальные служили для крепления пажильных, стыковых и промежуточных хомутов. Отверстия на стрингере нумеровались, нумерация шла от концов понтона к середине.

Для увеличения продольной жесткости понтона с наружной части каждого борта устанавливались стальные наклонные струны. Они же являются основным внешним отличительным признаком от парка при идентификации.

В носовой части понтона сверху устанавливалась поперечина к которой крепился якорный и причальный канаты.

Носовой обтекатель служил для уменьшения сопротивления течению воды со стороны носового транца. На реках со слабым течением допускалось не устанавливать носовой обтекатель.

Носовой обтекатель служил для уменьшения сопротивления течению воды со стороны носового транца. На реках со слабым течением допускалось не устанавливать носовой обтекатель.

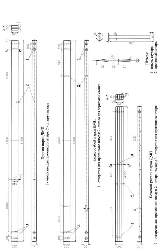
Прогоны изготавливались из бруса изготовленного из сосны или ели, снизу прогона устанавливались два штыря для крепления к стрингеру понтона. Колесоотбои были аналогичны брусам и отличались наличием отверстий для перильных стоек. Настилочные доски по концам имели стесанные кромки для пажильных хомутов.

Для смыкания смежных прогонов и образования жесткого стыка использовались боковые ригели. Промежуточные ригели были дополнением к стыковым и служили для жесткого стыка между паромами. Для их крепления применялись стыковые хомуты, пажильные и промежуточные хомуты

Для опирания на берег переходной или береговой части использовался береговой лежень, крепившийся береговым колом.




Вес элементов парка ДМП:

 понтон  1100 кг;

 носовой обтекатель понтона  86 кг;

 весло  7 кг;

 уключина  1 кг;

 якорь легкий  4050 кг;

 якорь тяжелый  80100 кг;

 канат якорный  45 кг;

 багор  4.7 кг;

 штырь запорный  2.5 кг;

 черпак  0.5 кг;

 буй (круг) спасательный  8 кг;

 болт стяжной  0.7 кг;

 прогон  117 кг;

 колесоотбой  116 кг;

 ригель боковой  87 кг;

 ригель промежуточный  76 кг;

 доска настилочная  20 кг;

 штырь прогонный  0.5 кг;

 штырь ригельный  0.3 кг;

 хомут пажильный  2.5 кг;

 хомут стыковой  2.6 кг;

 хомут промежуточный  1.4 кг;

 болт пажильного хомута  0.8 кг;

 болт промежуточного хомута  0.4 кг;

 подкладка  1.8 кг;

 клин  1.3 кг;

 стойка перильная  1.2 кг;

 канат вспомогательный  4.0 кг;

 лежень береговой  60 кг;

 кол берегового лежня  5 кг;

 штроп длинный  0.4 кг;

 колотушка деревянная  10 кг.


Изготовление имущества парка ДМП

Главным достоинством парка была возможность его изготовления силами инженерных частей, что в начальном периоде войны было особо необходимо. К этому же, но в конце войны, пришла немецкая армия, при изготовлении различного военного имущества при помощи кустарных мастерских. Еще одним достоинством как ДМП так и ДМП-42 является возможность его изготовления силами дорожно-мостостроительных подразделений инженерных войск в использования в современных условиях.

Ваша оценка очень важна

0

Дальше читают

Шрифт
Фон

Помогите Вашим друзьям узнать о библиотеке

Скачать книгу

Если нет возможности читать онлайн, скачайте книгу файлом для электронной книжки и читайте офлайн.

fb2.zip txt txt.zip rtf.zip a4.pdf a6.pdf mobi.prc epub ios.epub fb3

Похожие книги