Александра Олеговна Максимова - Как вырастить бройлеров и пекинских уток на даче за лето. Для работающих дачников стр 3.

Книгу можно купить на ЛитРес.
Всего за 109 руб. Купить полную версию
Шрифт
Фон

Рис 4. Изготовление петли



Правая задняя вертикальная боковая пластина.

Крепим пластину к сетке не загнутым краем с помощью петель. Рис 5. Крепление задней боковой пластины к задней стенке (сетке).



Передняя стенка клетки для птиц

Передняя стенка должна быть такого же размера как задняя стенка. В нашем случае это 1010 мм на 500 мм.

В первую очередь изготавливаем передние боковые уголки.

Передние боковые уголки изготавливаем из жести. Длина 500 мм и ширина пластины 60-100 мм. Края по длине нужно загнуть на 5-10 мм на 180 градусов, для того чтобы птицы не поранились. Изгибаем посередине на 90 градусов по всей длине. Рис 7



Изготавливаем верхнюю и нижнюю передние пластины.

Они почти одинаковы. С одной стороны по длине загибаем край на 1 см под углом 180 градусов, и еще раз загибаем этот край, но на 90 градусов. В отогнутых под 90 градусов краях размечаем и сверлим отверстия сверлом 5 мм под стойки из проволоки. Рис 8. Размечаем центры отверстий через 50 мм. Сверлим отверстия в верхней пластине и нижней так чтобы они совпадали.



К передним боковым уголкам крепим винтами верхнюю и нижнюю передние пластины. Эти пластины по длине меньше чем 1000 мм. Рис 6.


Изготавливаем стойки ограждения из проволоки.

Выправляем и очищаем проволоку диаметром 5 мм. Режим проволоку нужной длины болгаркой или ножовкой по металлу. Зажав в тиски, ударом молотка загибаем конец проволоки длиной 10-20 мм на угол 90 градусов. Длина стойки должна быть такой, чтобы нижний её конец был больше расстояния между верхней пластиной и нижней пластиной. Выправляем стойки по всей длине и зачищаем концы. Рис 9.



Изготавливаем боковые верхнюю и нижнюю пластины так же как передние верхние и нижние пластины. Длина боковых верхних и нижних пластин зависит от ширины сетки для пола и верха клетки. Их длина меньше 500 мм.


Стойки бокового ограждения такие же, как передние.

Длина передней стенки 1010 мм. Когда передняя стенка собрана, крепим боковые верхние и нижние пластины к передней стенке и задней стенке. Не забываем о ширине сетки для пола и верха клетки.

Теперь можно приступить к установке сетчатого пола клетки. Надеваем петли на сетку у задней стенки, сверлим отверстия и крепим сетку к задней стенке винтами М 4. Сетка пола крепится к нижним боковым пластинам и к передней пластине так же.

Петлю одеваем на проволоку, из которой изготовлена сетка. Затем закрепляем петлю струбциной к пластине. Сверлим отверстие в пластине. Петлю крепим винтами к пластине. Рис 10.




Верхняя и нижняя сетки крепятся к пластинам.

Верхняя сетка крепится к верхним пластинам с помощью петель.

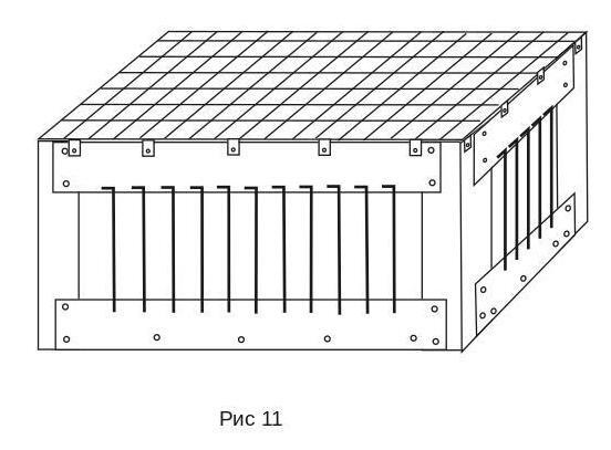
Когда верхняя и нижняя сетки закреплены, вставляем в отверстия проволочные стойки ограждения. Рис 11.





Рис 12. Стойки ограждения вставлены. Боковая правая стенка.


Для того чтобы стойки не вышли из отверстий сверху закрепляем уголок или деревянный брусок. Рис 13.



Для доступа внутрь клетки несколько стоек сверху крепятся коротким уголком, который можно легко снять.

Ваша оценка очень важна

0

Дальше читают

Шрифт
Фон

Помогите Вашим друзьям узнать о библиотеке

Скачать книгу

Если нет возможности читать онлайн, скачайте книгу файлом для электронной книжки и читайте офлайн.

fb2.zip txt txt.zip rtf.zip a4.pdf a6.pdf mobi.prc epub ios.epub fb3