Олег Дерябин - Средства преодоления водных преград. Книга 1. Красная Армия стр 5.

Книгу можно купить на ЛитРес.
Всего за 480 руб. Купить полную версию
Шрифт
Фон

 длина  3,49 м;

 ширина  1,89 м;

 высота (без полозьев)  0,73 м;

 вес  445 кг.







Якорная лодка:

 грузоподъемность  2.46 т;

 длина  6,17 м;

 ширина  1,65 м;

 вес  445 кг.


Мосты из ВПП

Нормальный:

 грузоподъемность  3.5 т;

 длина моста  200 м;

 длина пролета  6.7 м;

 время сборки  3 ч. 20 мин.;

 расчет  рота.

Усиленный:

 грузоподъемность  7 т;

 длина моста  95 м;

 длина пролета  3.85 м;

 время сборки  1 ч. 35 мин.;

 расчет  рота.


Перевозные паромы ВПП

Паром из 2 обыкновенных понтонов без помоста:

 грузоподъемность  7 т;

 количество паромов  14;

 время сборки  510 мин.;

 расчет на сборку  взвод.

Паром из 2 обыкновенных понтонов с помостом:

 грузоподъемность  5.8 т;

 давление на ось  1.5 т;

 количество паромов  14;

 площадь парома  21.5 м. кв.;

 время сборки  510 мин.;

 расчет на сборку  взвод.

Паром из 2 полуторных понтонов:

 грузоподъемность  8.2 т;

 давление на ось  1.5 т;

 количество паромов  9;

 площадь парома  44 м. кв.;

 время сборки  1520 мин.;

 расчет на сборку  взвод.





Паром из 2 двойных понтонов:

 грузоподъемность  10 т;

 давление на ось  1.5 т;

 количество паромов  3;

 площадь парома  65 м. кв.;

 время сборки  2030 мин.;

 расчет на сборку  взвод.

Тяжелый паром из 2 полуторных понтонов:

 грузоподъемность  8 т;

 давление на ось  2.8 т;

 количество паромов  9;

 площадь парома  20.5 м. кв.;

 время сборки  1520 мин.;

 расчет на сборку  взвод.


Перевозимые грузы на паромах:

Паром из 2 обыкновенных понтонов без помоста:

 40 человек;

 2 парные повозки;

 4 двуколки.

Паром из 2 обыкновенных понтонов с помостом:

 50 человек;

 8 лошадей;

 1 пушка и 4 лошади;

 2 танкетки;

 2 бронеавтомобиля.

Паром из 2 полуторных понтонов:

 70 человек;

 16 лошадей;

 1 пушка с передком и 8 лошадей;

 3 пароконных повозок;

 6 двуколок.

Паром из 2 двойных понтонов:

 90 человек;

 24 лошадей;

 2 пушки с передками и 12 лошадей;

 5 пароконных повозок;

 10 двуколок.

Тяжелый паром из 2 полуторных понтонов:

 70 человек;

 8 лошадей;

 1 автомобиль 3-т;

 1 гаубица с передком;

 1 трактор.


Состав материальной части ВПП


Полупонтон носовой  44

Полупонтон средний  12

Якорная лодка  2

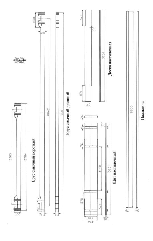
Брус смычный длинный  224

Брус смычный короткий  12

Щит настилочный  488

Доска настилочная  368

Доска лобовая  12

Полудоска  20

Пажилина  80

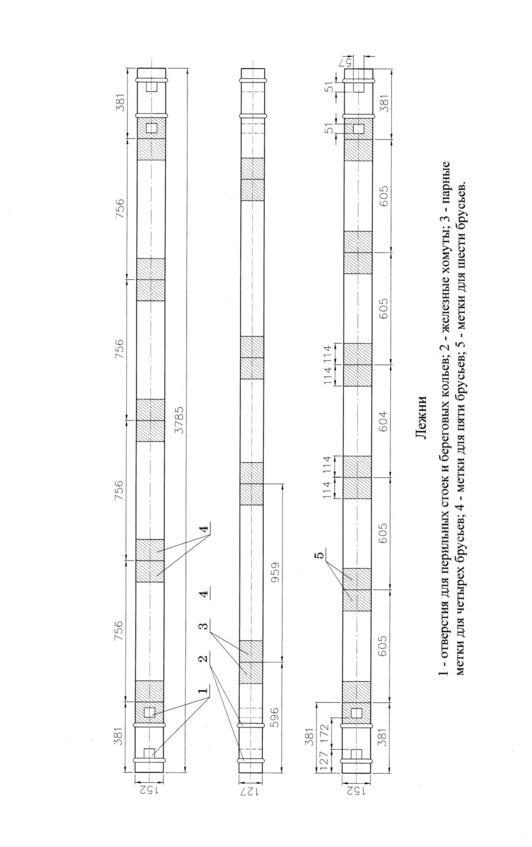
Лежень  40

Перекладина козловая  12

Нога козловая длинная  36

Нога козловая короткая  36

Шпора  36

Клин  72

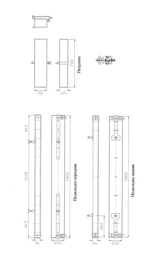
Подушка  42

Подкладка передняя  60

Подкладка задняя  30

Закрутень пажильный  320

Закрутень якорный  64

Перильная стойка  56

Цепь козловая  24

Домкрат притяжной  6

Черпак  58

Остов к брезенту  28

Уключина понтонная  224

Уключина якорной лебедки  16

Весло  168

Повозка понтонная  56

Повозка настилочная  36

Повозка козловая  6

Повозка добавочная  4

Повозка лодочная  2


Материальная часть парка ВПП


Полупонтоны изготавливались из листового железа и имелись двух видов: носовые, с приподнятой суженной передней частью, и средние, со всеми отвесными стенками.

Смычные брусья были длинные (7.06 м) и короткие (3.78 м), на них укладывался мостовой настил. На концах смычных брусьев были замки для укладки на лежни или мостовые опоры. Для удобства переноски на концах брусьев имелись кольца. Расстояние между осями замков  6,65 м, что составляет длину пролета моста. У коротких смычных брусьев расстояние между замками  3,36 м.

Щиты и настилочные доски укладывались на смычные брусья. Крепился настил пажилинами.

Ваша оценка очень важна

0
Шрифт
Фон

Помогите Вашим друзьям узнать о библиотеке

Скачать книгу

Если нет возможности читать онлайн, скачайте книгу файлом для электронной книжки и читайте офлайн.

fb2.zip txt txt.zip rtf.zip a4.pdf a6.pdf mobi.prc epub ios.epub fb3