Олег Дерябин - Средства преодоления водных преград. Книга 1. Красная Армия стр 4.

Книгу можно купить на ЛитРес.
Всего за 480 руб. Купить полную версию
Шрифт
Фон

Перевозка понтонного имущества осуществлялась на специально оборудованных в заводских условиях автомобилях, прицепах и конно-транспортных повозках, которые входили в табель парка. Во время войны использовали и необорудованные автомобили, прицепы и гужевые повозки. А в парках-дублерах (ДМП, ДМП-42, ДДП) использовался только необорудованный транспорт.

ВПП весельно-понтонный парк

Весельно-понтонный парк достался Красной Армии от распавшейся армии Российской империи, который был принят на вооружение в 1868 году. Первое боевое применение парка было во время Русско-Турецкой войны, при форсировании 15 июня 1877 года русскими войсками Дуная у Зимницы, для чего было выделено четыре понтонных батальона. Парк широко применялся в годы Первой мировой войны, а затем в Гражданскую войну. Четыре парка состояли на вооружении Красной Армии до начала 1932 года, затем они были переведены в резерв. Во время нахождения парков на вооружении РККА они были модернизированы с целью увеличения грузоподъемности. Были уменьшены в два раза мостовые пролеты и введены дополнительные опоры, в результате чего с 3,5 до 7 т была увеличена грузоподъемность мостов.

Парк был создан в 1864 году генерал-майором Петром Петровичем Томиловским (18281878), военным инженером, участником обороны Севастополя и Русско-Турецкой войны 18771878 годов. В литературе встречается «полковником Томиловским», да он был полковником до генерала, но у него еще был младший брат полковник Петр Петрович Томиловский (младший) 1868 г.р., военный инженер и воздухоплаватель, участник Русско-Японской и Первой мировой войн. Сыновья изобретателя понтонного парка, тоже были генерал-майорами  Евгений Петрович (1860 г.р.), командир Гренадерского саперного Его Императорского Высочества батальона и Павел Петрович (1874 г.р.), артиллерист участник Русско-Турецкой (18771878), Русско-Японской (19041905) и первой мировой войн.

Основой для создания парка послужил, стоявший на вооружении Русской армии, австро-венгерский парк барона Карла фон Бираго, который с 1839 года состоял на вооружении практически всех армий, и определил конструкцию парков на целое столетие. Сейчас таким парком, на который опираются другие страны при создании наплавных мостов, является понтонно-мостовой парк ПМП Юрия Николаевича Глазунова.

В отличие от австрийского, да и остальных парков, полупонтоны ВПП имели вертикальные стенки и измененные очертания, конструкцией соединения полупонтонов между собой, в добавок ко всему он изготавливался из листового железа. В целом это была новая конструкция полупонтона при сохранении общей концепции парка Бираго. В 1875 году было издано «Наставление по понтонной службе», которое определило штат и табель нового парка, по нему в парк входило 56 полупонтонов, 8 козловых опор Бираго и пролетное строение.

Опыт войны 18771878 годов показал высокое качество нового парка, однако обоз был слишком тяжел, как и нецелесообразной оказалась укладка имущества. Поэтому после войны начались работы по устранению этих недостатков. В 1884 году полковником Доморадским Моисеем Яковлевичем (впоследствии генерал-лейтенант и составитель понтонного устава) сконструированы новые облегченные понтонные фуры с четверочными упряжками. В таком виде парк с небольшими изменениями просуществовал до 1932 года.

Производился парк на Охтинских верфях (завод « Петрозавод») в Санкт-Петербурге, на этом же заводе в 2030 годы прошлого столетия изготавливалось понтонное имущество для других парков.


Назначение и организация ВПП


Весельно-понтонный парк предназначен для оборудования десантных, паромных и мостовых переправ.

Понтонный парк состоял из мостового имущества и понтонного обоза. Содержал парк полубатальон двухротного состава, а с 1867 года понтонный батальон того же состава. Рота содержала полупарк и делилась на 2 парковых отделения.


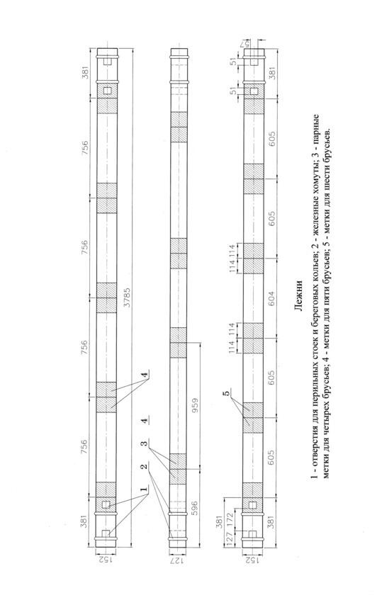
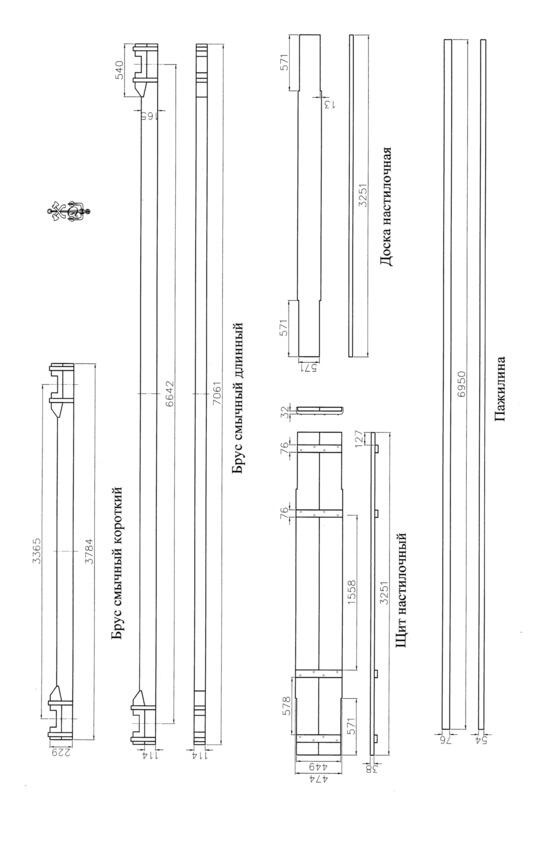
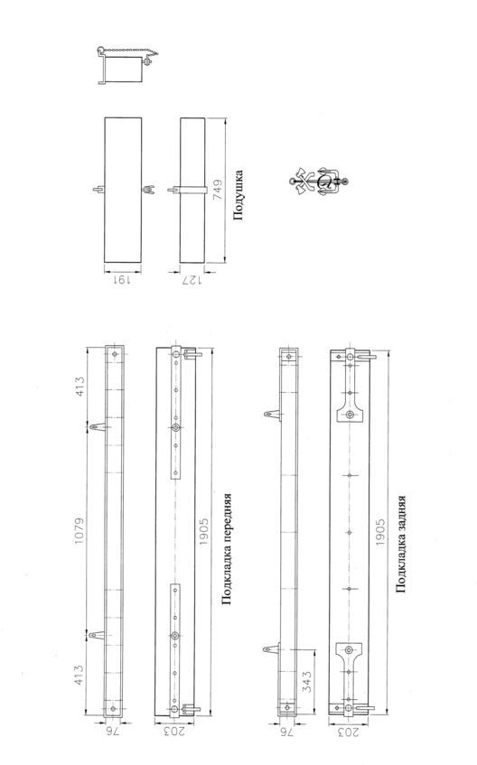
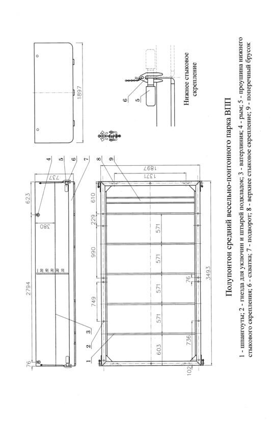
Характеристика ВПП


Носовой полупонтон:

 грузоподъемность  1,98 т;

 длина  4,29 м;

 ширина  1,89 м;

 высота (без полозьев)  0,73 м;

 вес  460 кг.

Средний полупонтон:

 грузоподъемность  1,80 т;

 длина  3,49 м;

 ширина  1,89 м;

 высота (без полозьев)  0,73 м;

 вес  445 кг.







Якорная лодка:

Ваша оценка очень важна

0
Шрифт
Фон

Помогите Вашим друзьям узнать о библиотеке

Скачать книгу

Если нет возможности читать онлайн, скачайте книгу файлом для электронной книжки и читайте офлайн.

fb2.zip txt txt.zip rtf.zip a4.pdf a6.pdf mobi.prc epub ios.epub fb3