
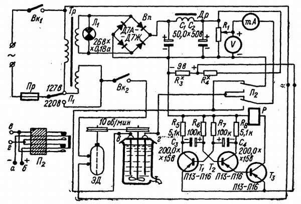
Рис. 49.Принципиальная схема прибора для получения серебряной воды
Со вторичной (понижающей) обмотки снимается ток напряжением 20–25 в, который подводится к выпрямителю. Выпрямитель Вп собирается по мостиковой схеме или двухполупериодной схеме по средней точкой.
Переменный резистор R1установлен на выходе фильтра и позволяет регулировать величину тока (согласно таблице, о которой будет рассказано позже). Контроль за изменением тока и напряжением ведется по показания измерительных приборов. Далее ток подводится к переключателю полярности Яг и к серебряным пластинкам, опущенным в сосуд с водой. Лампа Л1 служит индикатором включения прибора, а выключатель Вк2 - для включения электродвигателя.
Силовой трансформатор Тр можно взять готовый от малогабаритных радиоприемников, например типа "Рекорд". Причем повышающая обмотка не используется, а накальная доматывается до получения нужного напряжения. Однако можно применить и любой самодельный трансформатор со вторичной обмоткой, дающей напряжение 20–25 в. Замена силового трансформатора автотрансформатором по ряду технических причин нежелательна.
Выпрямитель собирается по мостиковой схеме на четырех диодах, например типа Д7А. Можно выпрямитель собрать и по двухполупериодной схеме, тогда понадобятся только два диода. Конденсаторы C1 и С2 - электролитические, емкостью 50 мкф на рабочее напряжение 50 в. Дроссель фильтра Др можно поставить любой от радиоприемника или заменить дроссель сопротивлением 1500 ом.
Регулируемый резистор R1 - проволочный, сопротивлением 150–200 ом. Выключатели Вк1 и Вк2 - однополюсные типа тумблер. Измерительные приборы подберите так, чтобы вольтметр имел предел измерений 20–25 в, а миллиамперметр 20–25 ма. Оба прибора должны быть предназначены для измерений постоянного тока и рассчитаны на вертикальную установку при монтаже.
Серебряные пластины - электроды, изготовляются из серебра марок Ср 999,9 или Ср 875,0. Электроды, опускаемые в раствор, не должны иметь паек.
Электромеханическая схема. Электромеханическая часть состоит из трех элементов: переключателя П2 (рис. 49), крыльчатки и электродвигателя.
Переключатель П2предназначен для измерения полярности тока, подводимого к серебряным пластинам. Он собран на электронном реле по схеме симметричного мультивибратора, на двух низкочастотных транзисторах Т1, Т2 с усилителем на Т3 в коллектор, по цепи которого установлено электромагнитное реле Р1 (рис. 49). Частота колебаний мультивибратора определяется сопротивлением резисторов R6 и R7 и емкостью электролитических конденсаторов С3 и С4.
Частота колебаний подбирается около 1 гц, за счет изменения емкости конденсаторов. Данные резисторов изменять не следует, так как это может привести к нарушению режима работы транзисторов по постоянному току. Реле с сопротивлением 200 ом можно использовать готовое с двумя группами контактных пластин, работающих на переключение. При настройке прибора обратите внимание на регулировку пластин контактных групп - неодновременное переключение пластин может привести к короткому замыканию и повреждению выпрямителя. Питается генератор от общего выпрямителя через делитель на резисторах R3*, R4*, с которого снимается напряжение 10–15 в (величина сопротивлений резистора подбирается при настройке прибора).
Для ускорения и равномерности процесса ионизации воду перемешивают крыльчаткой, укрепляемой на оси в крышке сосуда. Ось шкива крыльчатки, сама крыльчатка и крышка выполняются из стекла, органического стекла или из пластмассы. Она приводится в движение электродвигателем СД-2 (моторчик Уоррена) через шкивы.
Соотношение между шкивами подберите такое, чтобы крыльчатка вращалась со скоростью 10–15 об/мин.
Конструктивное оформление и монтаж. Все части прибора, кроме сосуда с серебряными пластинками, собираются в небольшом металлическом или деревянном кожухе (рис. 48).
На лицевой панели монтируются измерительные приборы (вольтметр и миллиампер метр). В левой части панели располагаются гнезда для предохранителя и переключателя напряжения. В центре устанавливается регулируемый резистор, в правой части монтируются тумблеры включения прибора и двигателя; немножко выше их - индикаторная лампа. На боковой стенке кожуха устанавливаются две клеммы для подключения проводов, идущих к серебряным пластинам.
Трансформатор, выпрямитель с фильтром, электродвигатель и мультивибратор с переключателем полярности монтируются внутри кожуха на металлическом или пластмассовом шасси. Причем электродвигатель располагается вертикально. Ось крыльчатки и серебряные пластинки устанавливаются в сосуде вертикально и закрепляются в крышке. Расстояние между серебряными пластинами выбирается примерно 10 мм.
Шкив, предназначенный для вращения крыльчатки внутри сосуда, выводится через отверстие, прорезанное в боковой стенке кожуха.
Возьмите сосуд для получения серебряной воды емкостью 1–1,5 л. Лучше всего для этой цели подойдет стеклянный химический сосуд с отводной трубкой, расположенной на высоте 10–15 мм от дна сосуда. Можно также взять фарфоровый сосуд или сделать сосуд из пластмассы (например, органического стекла). Воду можно наливать и выливать, снимая крышку с укрепленными на ней деталями.
Работа прибора. Если прибор собран правильно, то он не требует никакой дополнительной настройки. Наиболее эффективные условия получения серебряной воды таковы: расстояние между серебряными пластинами 5-15 мм, плотность тока 5-10 ма, напряжение, снимаемое с фильтра выпрямителя, 5-15 в. При выборе режима получения серебряной воды пользуйтесь табл. 3.

Как пользоваться таблицей? Например, необходимо ввести в литр воды 20 мГ серебра. Для этого устанавливаем силу тока 15 ма. По таблице при 15 ма в воду переходит 1 мГ/мин серебра - время электролиза 20 мин. То же количество серебра можно ввести и в другом режиме: сила тока 5 ма, время электролиза 1 ч. Полученную серебряную воду можно хранить в темном прохладном помещении в стеклянном закрытом сосуде с притёртой стеклянной пробкой. Пользоваться серебряной водой можно соответственно с табл. 4.

Рекомендуем изготовленную вами установку перед применением обязательно показать участковому врачу.
Карманный ионатор
Мы рассказали вам об установке для получения серебряной воды в лагере или в домашних условиях, а как быть в походе? Оказывается, для ионизации воды серебром в походных условиях или в экспедиции, когда нужно продезинфицировать наибольшее количество воды, можно воспользоваться ионатором.
Устройство его очень простое. В небольшом корпусе размещаются батарейка, миллиамперметр и переключатель. Внешний вид и электрическая схема ионатора показаны на рис. 50.

Рис. 50.Карманный ионатор
Верхняя панель корпуса разрезная. На одной ее части монтируется двойной переключатель типа тумблер, миллиамперметр и гнездо для подключения штырьков проводов, идущих к электродам. Вторая часть - съемная, через нее осуществляется доступ к батарее, которая подключается к схеме при помощи двух зажимов, смонтированных внутри корпуса. Величина тока ионизации определяется при помощи миллиамперметра, а время переключения - по часам. Причем переключение и перемешивание воды производится не автоматически, а вручную через каждые 3–5 мин.
Электроды такого ионатора представляют собой две пластинки, которые во время работы вкладываются в круглый диск, являющийся крышкой стакана или кружки, служащей для ионизирующейся воды. В этом же диске можно сделать отверстие, через которое пропускается ось для вращения крыльчатки.
В карманном ионаторе крыльчатку можно и не делать, а перемешивать воду легким покачиванием стакана. Во внерабочем состоянии диск-крышка, электроды с проводами и крыльчатка могут укладываться в корпусе прибора (через съемную часть верхней панели).
Желающим более подробно познакомиться со свойствами серебряной воды и ее применением рекомендуем прочитать книгу профессора Л. А. Кульского "Серебряная вода", издательство АН УССР, серия научно-популярной литературы (4 издание-1963 г.).