Электронная часть (все детали прибора вместе с источником питания) монтируется в небольшом металлическом корпусе. В корпусе делается отверстие для соединительных проводов, идущих к катушкам L1, L2, L3, и для подстроечного сердечника катушек L5, L6. На корпусе монтируются два гнезда для головных телефонов Тлф и выключатель питания Вк1типа тумблер. Корпус укрепляется в средней или верхней частях рукоятки рамки.
При поисках "клада" рамку нужно вести на небольшом расстоянии от пола или от земли. Прибор хорошо реагирует на предметы, находящиеся от рамки на расстоянии 100–150 мм.

ПРИБОРЫ СРОЧНОЙ ИНФОРМАЦИИ ДЛЯ СПОРТСМЕНОВ
Различная правильно переданная спортсмену информация позволяет быстрее освоить и правильно выполнить то или иное упражнение. Звуковой генератор может быть применен во многих случаях, когда спортсмену нужно дать информацию о ритмичности движения или движений, выполнении определенного элемента или фазы упражнения, нарушении темпа, задержке на старте и др.
Такая информация может поступать в виде периодически повторяющихся или одиночных звуковых сигналов. Активно осмысливая, самостоятельно или под руководством тренера, свое движение при этих сигналах, спортсмен устраняет ошибки или убеждается в правильности выполняемых движений. Подобные приборы могут использоваться и при судействе соревнований.
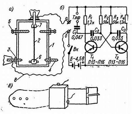
Инерционный контактный сигнализатор
Такие сигнализаторы могут быть применены для получения срочной информации о силе, амплитуде, ритмичности движений, а также об ошибках в схеме движений бегуна, во время разбега, при прыжках в высоту и длину или движений лыжника-гонщика, или гребца.
Прибор состоит из звукового генератора, собранного, например, по схеме мультивибратора, и инерционного датчика. Последний работает по принципу инерционного замыкателя (см. рис. 36, б).
Датчик собирается в небольшом пластмассовом или скленном из органического стекла корпусе размером 45x30x10 мм (рис. 36).

Рис. 36.Инерционный контактный сигнализатор
Внутри корпуса 1 монтируются плоская стальная пружина 2 (см. рис. 36, а), контакты 3 и 4 и регулирующие винты 5. На нижнем конце пружины 2, взятой, например, от старых часов, припаивается грузик 6, а верхний припаивается или прочно зажимается в пропиле винта 7, закрепленного на резьбе в верхней стенке корпуса. Снаружи на этот винт навертываются две гайки, верхняя - фигурная, получится клемма для подключения одного из проводов 8, идущих к звуковому генератору (к точкам а и б).
В нижней части корпуса закрепляются два контакта - передний 3 и задний 4. Они выполняются так же, как и верхний, только головки винтов срезаются и вместо них припаиваются серебряные контакты (например, от пластин старого реле). Такие же контакты нужно припаять и к грузику.
Регулирующие винты 5 устанавливаются на резьбе и после регулировки упругости пружины зажимаются контргайками. Одна из боковых стенок корпуса делается съемной для удобства доступа к деталям датчика. Готовый датчик при помощи четырех винтов с гайками прикрепляется к ремешку. Таким образом, датчик может или прикрепляться при помощи ремешка с пряжкой к телу спортсмена, или при помощи пружинных зажимов пристегиваться к его одежде (рис. 36, в).
Второй провод, идущий к звуковому генератору, находящемуся в кармане одежды спортсмена или прикрепленному к его поясу, подключается к контакту 3 или 4. При положительном или отрицательном ускорении пружина с припаянным на нижнем конце грузиком изгибается. Контактные площадки грузика соединяются с контактами 3 или 4, и цепь включения генератора (или головного телефона) замыкается. Причем можно сделать и так, что цепь будет замыкаться и при отрицательном, и при положительном ускорении. Для этого контакты 3 и 4 нужно соединить кусочками проводника. Можно дифференцировать движения, тогда в разрыв цепи одного из контактов включается добавочный резистор. Падение напряжения на этом резисторе приведет к изменению частоты сигнала генератора.
Если есть необходимость в плавном изменении частоты сигнала генератора, то схему и конструкцию датчика нужно несколько изменить (см. рис. 37, а, б). В этом случае винт 7 укрепляется не в верхней стенке корпуса, а горизонтально - между боковыми стенками.

Рис. 37.Сигнализатор с резистором
Пружина 2 укрепляется на нем, как на оси. К грузику 6 снизу припаивается вторая, более мягкая пружинка 9 (массу грузика в этом случае следует увеличить). Эта пружинка выполняет роль скользящего контакта регулируемого резистора 10. Контактная пластина 10 может быть взята от проволочного резистора или изготовлена самостоятельно. Для этого на пластинку пластмассы или картона наматывается тонкая высокоомная проволока. Конец проволоки закрепляется под гайку контакта 3. Регулируемый резистор готов.
Где устанавливать датчик? Это зависит от характера разучиваемого движения. Например, для совершенствования бега датчики укрепляются на голени спортсмена так, чтобы направление сгибания пружины совпадало с направлением движения голени. Упругость пружины регулируется таким образом, чтобы замыкание контактов происходило при достаточно энергичном маховом движении. Укрепление датчика на плече гребца заострит внимание спортсмена на движении плечевого пояса и таза. Кроме того, с помощью таких периодических сигналов бегун, лыжник или гребец может следить за ритмичностью своих движений на протяжении всей дистанции.
Потенциометрический сигнализатор-гониометр
Наибольшее распространение в ряде видов спорта, где необходимо проследить за движением конечностей (рук или ног), - в гимнастике, фехтовании, боксе - получили применение углометрические сигнализаторы, или, как их еще называют, гониометры. Они часто используются и педагогами-тренерами, и исследователями.
Основные элементы такого сигнализатора: регулируемый резистор, включаемый по схеме потенциометра или реостата, и звуковой генератор, в котором при помощи этого регулируемого резистора изменяется частота или громкость звукового сигнала (см. рис. 37, б).
Регулируемый резистор R* (рис. 38, а) укрепляется в месте сочленения двух подвижных планок, причем очень часто скрепляющим их элементом является сам резистор. Для этой цели удобнее всего применять плоские регулируемые резисторы, выпускаемые чешской фирмой "Тесла" (они имеются в продаже). В этом случае на одной из планок закрепляется корпус сопротивления при помощи винта, пропущенного через центральное отверстие, а во второй планке вырезается отверстие, в котором закрепляется подвижное кольцо. Если таких резисторов под рукой не окажется, можно использовать регулируемые резисторы типа СП или других типов.
Для закрепления датчика на руке или ноге в планках, которые делаются или из тонких металлических полосок, или из пластмассы, нужно сделать по четыре прорези (попарно). В эти прорези продергиваются ремешки или широкие ленты, при помощи которых все подвижное устройство прикрепляется на суставах руки или ноги (впрочем, не исключается возможность укрепления в тазобедренном и плечевом суставах). На рис. 38, в показано прикрепление датчика для сигнализации о движениях в локтевом суставе.
Обычно сигнализатор укрепляется на суставах конечностей, поэтому величина планок рычагов может изменяться в зависимости от видов упражнений или целей исследований.
Иногда при проведении анализа сложных движений подвижную систему делают не однозвенной, как рассказывалось выше, а двухзвенной или даже трехзвенной. В этих случаях соответственно увеличивается число потенциометрических узлов, причем сигнал может подаваться или с одного, или с нескольких звуковых генераторов.
Провода, идущие от регулируемого резистора, пропускаются под ремешки одной из планок, как показано на рис. 38, а, и далее пропускаются под спортивной одеждой или прикрепляются к телу спортсмена медицинским лейкопластырем. Звуковой генератор помещается или в грудном кармане спортивного костюма, или укрепляется на поясе спортсмена в специальном карманчике.

Рис. 38.Сигнализатор-гониометр