
Электромагнит 2 установлен в паз пластмассового основания 1. Основание взято из старого бобинного магнитофона. Электромагнит закреплён там клеем. К нему винтом закреплена первая пластина 12, к ней приклеена вторая пластина 11, к которой, в свою очередь, приклеен держатель 9 скобы 10.
Держатели крыльев 6 и 8 надевают на скобу 10, после чего её концы загибают. На концы держателей 6 и 8 (которые затем также загибают) надевают тягу 7, которая вторым концом закреплена на петле 3. размещённой на торце (шейке) якоря электромагнита 2. Возвратная пружина 4, изъятая из кинематики автомобильного проигрывателя CD, надета на петлю 3 и крючок 5, закреплённый в отверстиях первой пластины. Скоба 10 и крючок 5 изготовлены из жесткой стальной проволоки. Проволока взята от канцелярской скрепки.
Для держателей крыльев 6 и 8, тяги 7 и петли 3 применена мягкая стальная проволока диаметром 0,5…0,7 мм. Пластины 11 и 12, а также держатель 9 изготовлены из пластмассы толщиной 1,5 мм - 2 мм.
Более подробно элементы и способ их соединения поясняет рис. 7.

Элементы 3 и 6 - держатели крыльев, 5 - держатель скобы 4. Тяга состоит из трёх элементов -1 и 2.
Крылья и тело "бабочки" изготовлены из цветной бумаги или картона, их крепят к держателям с помощью клея. "Усы" сделаны из медной проволоки толщиной 0,5–0,8 мм, они играют роль ограничителей при взмахах крыльев.
Применены резисторы МЛТ, С2-23, конденсатор - импортный, транзистор КТ361В заменим любым серии КТ3107, фототранзистор - от привода гибких дисков компьютера "РОБОТРОН".
Электромагнит извлечён из видеомагнитофона, сопротивление его обмотки 15…20 Ом, ток втягивания якоря - 100… 150 мА, его ход - 4…5 мм. Питается игрушка от двух гальванических элементов типоразмера ААА. Выключатель может быть любого типа.
Игрушка "Жук - брызгалка"
Среди множества фонтанов Петергофа особое место занимают знаменитые петровские фонтаны-шутихи, сделанные по рисункам самого царя. Идея их состоит в том, что предметы, непосредственно не связанные с водой - деревья, дорожки, скамейки неожиданно начинают бить струями воды по незадачливым прохожим, приводя их в некоторое замешательство. По аналогичному сценарию работает игрушка, описание которой приводится в данной статье.
"Жук" спокойно сидит у воды (рис. 8), но стоит поднести к нему ладонь, и он начинает брызгать водой, мигать глазами и громко жужжать. Даже убрав руку, можно наблюдать эту картину еще несколько секунд.

Схема электронной устройства этой игрушки показана на рис. 9.

По сути, это фотореле. Работает оно следующим образом. После подачи питающего напряжения, если внешнее освещение достаточно велико, сопротивление перехода эмиттер-коллектор фототранзистора VT1 будет небольшим. Поскольку это сопротивление совместно с резистором R1 образуют делитель напряжения, то на коллекторе фототранзистора VT1 напряжения будет недостаточно для открывания диода VD1 и транзисторов VT2 и VT3. Поэтому электродвигатель М1, а также светодиоды HL1 и HL2 обесточены - игрушка находится в состоянии покоя. В таком режиме потребляемый ток мал и не превышает 0,2 мА.
Если поднести ладонь к голове "насекомого", световой поток, падающий на фототранзистор VT1 ослабнет, сопротивление участка коллектор-эмиттер и напряжение на коллекторе возрастут. Начнется зарядка конденсатора С1 и если напряжение на нем достигнет 1,2… 1,4 В транзисторы VT2 и VT3 откроются. На светодиоды и двигатель поступит напряжение питания. В результате "жук" начнет брызгать водой на руку, мигать глазами и жужжать. Если ладонь убрать, то несколько секунд, пока конденсатор С1 разряжается через резистор R2 и эмиттерные переходы транзисторов VT2, VT3 "жук" будет "недоволен" и ничего не изменится, но затем он успокоится. Глаза жука - светодиоды, мигают благодаря тому, что один из них (HL1) - мигающий. Подборкой резистора R3 можно изменять яркость свечения светодиодов.
Далее о конструкции подвижной части игрушки (рис. 10).

Двигатель 2 крепят с помощью уголка 3 к основанию 1 размерами примерно 140x80 мм. На вал двигателя 4 надевают гибкий вал 5 в качестве которого применена тонкая трубка из мягкого пластика длиной 60…70 мм, для этих целей хорошо подходит внешняя изоляционная трубка диаметром 3,5–4 мм от провода компьютерной мыши. На другом конце трубки 5 делают продольный разрез 11 длиной 18…25 мм. Это будут "усики" 10 "жука", которые при быстром вращении разворачиваются и, касаясь поверхности воды, будут ее разбрызгивать.
Валопроводом служит отрезок трубочки 6 для коктейля, который вклеен в крепежные уголки 3 и 7 с отверстием. Уголки 3, 7 и основание 1 - пластмассовые толщиной 2…3 мм. На гибкий вал 5 с небольшим усилием надевают металлическую шайбу 8, которая уменьшает биения и царапание гибкого вала о край трубки. В гибкий вал 5 со стороны разреза 11 вкручивают винт М2 12, чтобы "усы" 10 для правдоподобия в состоянии покоя были разведены в стороны 9.
В конструкции применены резисторы МЛТ, С2-23, конденсатор - К.53-1. Транзистор КТ315Б можно заменить на КТ315 и КТ3107, а КТ815Б - на транзисторы серии КТ815 с любыми буквенными индексами. Был применен фототранзистор от принтера "Роботрон", но возможно применение фототранзистора ФТ-2к. Заменой диода Д220 могут быть диоды серий Д223, КД521, КД522. Мигающий светодиод можно применить любого цвета свечения с рабочим напряжением не более 4…5 В. Второй светодиод может быть любого типа, но по цвету свечения и диаметру корпуса он должен соответствовать мигающему. Двигатель - от видеомагнитофона с рабочим напряжением 6…9 В.
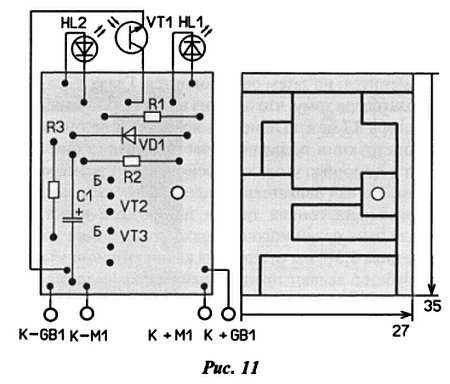
Большинство элементов монтируют на печатной плате из одностороннее фольгированного стеклотекстолита, чертеж которой показан на рис. 11.

Она изготовлена методом прорезания изолирующих "канавок". Вид собранного устройства показан на рис. 12.

Плату крепят над валопроводом к основанию с помощью стойки, для этого в плате предусмотрено отверстие. Все соединения проводят гибкими монтажными проводами. По углам основания крепят стойки (на рис. 12 видны гайки), на которых "жук" стоит в воде. За двигателем приклеен еще один пластмассовый уголок, к которому крепят контактную колодку для подключения питающей. Корпус "жука" - это верхняя часть корпуса от компьютерной мыши, раскрашенная водостойкими маркерами. В ней делают отверстия под глаза (светодиоды), усики (валопровод) и "третий глаз" (фототранзистор). Вся конструкция помещается в фотованночку или другую емкость, и заливают водой до уровня, при котором "усы" в развернутом состоянии касаются ее поверхности.
Питается устройство от батареи "Крона", 6F22, максимальный потребляемый ток составляет 40–50 мА. Налаживание сводится к установке уровня освещенности, при которой "жук" активизируется. Делают это подборкой резистора R1. Продолжительность "недовольства жука" изменяют подборкой емкости конденсатора С1. Чтобы после каждого игрового цикла не отсоединять батарею питания в схему можно дополнительно ввести выключатель питания.
Игрушка-сувенир "Привет! - Пока!"
Если вы смотрели мультфильм "Мадагаскар" то, наверное, помните реплику короля Джулиана в финальной сцене прощания лемуров с Алексом и его друзьями: "Морис! У меня рука устала! Помаши за меня!". Предлагаемая игрушка-сувенир прекрасно справляется с этой задачей: легкое нажатие на кнопку - и она тут же помашет вам "ручкой". Здесь же описан вариант, который реагирует непосредственно на помахивание рукой перед ним.
Схема основного варианта игрушки изображена на рис. 13.