
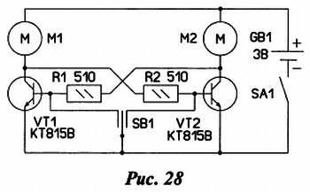
На транзисторах VT1, VT2 реализован триггер, управляющий работой двигателей M1, М2. "Перекидная кнопка" SB1, в свою очередь, управляет его работой.
Триггер действует, практически, как импульсное устройство. Его основу составляет пара транзисторов, работающих в ключевом режиме. Переход в новое состояние продолжается в течение очень короткого времени. Все триггеры отличаются особым свойством, заключающимся в способности запоминать двоичную информацию. На этом принципе и основано функционирование данных приборов. Сама память триггера заключается в возможности сохранять каждое состояние после того, как прекратит свое действие переключающий сигнал. Если одно состояние принять за единицу, а другое - за ноль, то, по сути, получается запоминание одного числового разряда, из которого состоит двоичный код. В данной конструкции это свойство заключается в том, что переключение моторов происходит при кратковременном касании датчика - уса о препятствие. Следующее переключение моторов произойдёт только при новом касании уса о преграду.
Рассмотрим работу схемы. После замыкания контактов выключателя SA1 (магнитная шайба) произвольно первым откроется любой транзистор, например VT1. Тогда база транзистора VT2 через резистор R2 и коллектор - эмиттерный переход транзистора VT1 окажется соединённой с "минусом батареи питания". В итоге будет работать двигатель М1, а М2 не будет. Робот начнёт разворачиваться на месте. Проволочный ус столкнётся с пальцем - произойдёт кратковременное замыкание центрального контакта датчика с левым контактом (по рисунку).
Транзистор VT1 закрывается и база транзистора VT2 через токоограничительный резистор и обмотку мотора М1 подключается к "плюсу батареи питания". Включается мотор М2. Ротор двигателя M1 останавливается. Робот разворачивается в обратном направлении до следующего касания уса датчика. Далее цикл повторяется, робот следует за подвижной (палец) преградой "след в след".
Конструктивно шасси робота мало чем отличается от исходной версии. V-образная проволочная скоба-усы 2 (рис. 29) изготовлена из отрезка стальной проволоки диаметром 1–2 мм. Посредством отрезка резиновой трубки 3 она крепится на движок переключателя 4 (SB1). На концах усов закреплены два пластмассовых шарика 1. Они придают выразительности игрушке и не несут никакой функциональной нагрузки. Как и в исходной конструкции, монтаж элементов навесной.

На рисунке 30 показан один из приёмов управления роботом. Жук всё время смотрит на палец и стремится его догнать.

Глава 2
КОНСТРУКЦИИ МИНУВШИХ ЛЕТ
В этой главе даны описания конструкций ранее публиковавшиеся в журнале РАДИО. Их объединяет простота схемных решений, доступность повторения, возможность интерпретаций при повторении. Каждая из конструкций по-своему интересна, открывает широкое поле для фантазий.
Электронные весы - игрушка
В основу конструкции весов представленных на рисунке 1 положено явление зависимости сопротивления угольного порошка от силы его сжатия. В предлагаемой конструкции оно происходит за счёт веса взвешиваемого предмета. Датчиком давления являются таблетки активированного угля. Более подробно об их необычной роли можно прочитать в статье "Угольный тензодатчик" - автор Л.Королёв "Радио" 2008 № 3 стр. 31, 32.

На рис. 2 представлен один из вариантов принципиальной схемы весов.

Резисторы R2, R1 образуют ограничители тока. Датчик давления F имеет собственное сопротивление R3. По мере нарастания сжатия его значение уменьшается, меняя тем самым ток, проходящий через резисторы и соответственно напряжение на них. В итоге стрелка микроамперметра, плавно замедляясь, отклоняется вправо. В исходном состоянии - без предмета на чашке весов, сопротивление датчика максимально, поэтому стрелка прибора отклоняется на максимальный угол или деление шкалы. Эта отметка будет нулём весов.
При взвешивании предметов давление на датчик растёт, его сопротивление уменьшается. Поэтому убывает и ток через микроамперметр РА1 - его стрелка движется влево. Получается, что чем больше вес предмета, тем меньше отклоняется стрелка. Шкала весов обратная - ноль справа, метка максимального веса слева.
Далее о конструкции весов и деталях. Основным элементом является датчик рис. 3.

Он состоит из двух дисков 3 с контактными поверхностями, между которыми зажаты три таблетки угля 6. Собирают датчик так: ко дну футляра 1 приклеивают опорную контактную пластину 7 из фольгированного гетинакса фольгой вверх, припаивают к ней вывод 3, саму её поверхность тщательно до блеска зачищают мелкозернистой наждачной бумагой. Затем укладывают и приклеивают к фольге диск 2 с отверстиями для таблеток. Его толщина должна быть меньше толщины таблеток. Потом укладывают в отверстия таблетки. Затем полируют фольгу верхнего диска 5, припаивают вывод 3 и приклеивают диск к дну чаши 4 (фольгой вниз). Накладывают чашу на основание и выводят контактные провода. При нажатии с переменным усилием на дно чаши сопротивление датчика должно меняться приблизительно от 100 до 20 ом.
Датчик вместе с остальными элементами схемы монтируют внутри коробки, подходящего размера, предварительно сделав в лицевой панели круглые отверстия под чашу и головку микроамперметра.
Градуировку прибора производят с использованием разновесов. После включения питания стрелку прибора устанавливают на "начало последней трети шкалы" выбирая этим ноль отсчёта. Затем используя разновес 0,5 кг, производят несколько измерений - после каждый раз проверяя и если нужно выставляя ноль отсчёта. Полученные данные усредняют и фиксируют. Аналогично проводят измерения с разновесами в 1 и 2 кг. Потом шкалу прибора плотно закрывают фальшшкалой из тонкой полупрозрачной бумаги и выставляют на ней контрольные метки в 0 кг, 0,5 кг, 1 кг, 2 кг. Остальные нужные метки расставляют равномерно между контрольными метками.
В схеме опробованы и использованы микроамперметры типа М24, М906 с током полного отклонения стрелки 100 мкА и сопротивлением рамки 640 и 760 ом соответственно, таблетки угля активированного типа УБФ, резисторы - МЛТ, СП5, СПЗ. Питается устройство от элемента типа АА на 1,5 В.
Измерение массы можно считать достоверным, если стрелка прибора до и после взвешивания находилась на отметке "0". В противном случае её положение корректируют переменными резисторами или аккуратным надавливанием на дно чашки весов, а взвешивание повторяют. По мере разрядки элемента и окисления контактов датчика также нужна коррекция положения стрелки.
"Бабочка"
На одном из отечественных технических форумов по робототехнике (roboforum.ru) есть одна весьма объёмная тема, посвящённая созданию шагающих моделей насекомых на основе шарнирных соединений из стальной проволоки.
Взяв на вооружение эту идею, предлагаю вниманию читателей описание простой конструкции выходного дня - игрушки "бабочка" (рис. 4).

Сюжет игры простой - "бабочка" сидит неподвижно на траве или цветке. При приближении руки бабочка начинает взмахивать крыльями, чем ближе рука, тем чаще и сильнее взмахи.
Схема электронной части игрушки приведена на рис. 5.

На транзисторах VT1 и VT3 по схеме несимметричного мультивибратора собран генератор, которым управляет фототранзистор VT2. Нагрузка мультивибратора - электромагнит YA1 с втягивающимся якорем, приводящим в движение крылья "бабочки". При достаточном внешнем освещении сопротивление фототранзистора VT2 мало, поэтому напряжения на базе транзистора VT1 (относительно плюсовой линии питания) мало для его открывания, транзисторы VT1 и VT3 закрыты и мультивибратор не работает - "бабочка" неподвижна. При затемнении фототранзистора сопротивление его перехода увеличивается, начинает работать генератор импульсов, на электромагнит поступает питающее напряжение и "бабочка" взмахивает крыльями. Чем меньше освещён фототранзистор, тем больше и чаще взмахи.
Конструкцию механической части игрушки поясняет рис. 6.