
В конструкции применены постоянные резисторы MЛT, С2-23, переменный резистор с выключателем - СП3-3в. Транзисторы можно применить любые серий КТ315, КТ3102. Батарея питания - "Крона", "Корунд", для её подключения применена контактная колодка от отслужившей "Кроны". Колодку соединяют с контактными дорожками платы с помощью отрезков стальной проволоки от скрепок. Светодиоды могут быть любого цвета свечения повышенной яркости. Чтобы быстро сменить цвет "кисти" их устанавливают в гнёзда, которые можно изготовить из панели для установки микросхем в корпусе DIP.
Ночник "Ассорти"
В отличии от предыдущего варианта (статья-конструкция "Ночник Три цвета" из моей книги "Роботы своими руками. Игрушечная электроника", Солон-пресс, 2015), в данной конструкции светорассеиватель изготовлен из обломка трубки тонкой люминесцентной лампы, а в схеме существенно уменьшено число элементов. Динамика свечения лампы представлена на рисунке 13.

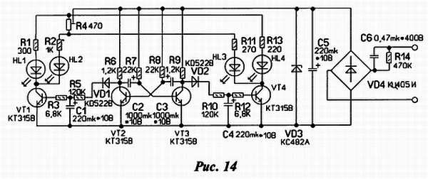
Схема светильника изображена на рис. 14.

В её основе - мультивибратор на транзисторах VT2,VT3. Цепочки R8, C3; R7, C2 - времязадающие поочерёдное открывание и закрывание транзисторов. При закрытом транзисторе VT3 конденсатор С4 начинает заряжаться через цепь R9, VD2, R10. С определённого момента транзистор VT4 плавно открывается, увеличивая ток через светодиоды HL3,HL4. При открытом транзисторе VT3 конденсатор разряжается через R12 и открытый переход база - эмиттер VT4, плавно закрывая его. Аналогично работает и левая часть схемы. Таким образом, создаётся плавное переключение цветов свечения ночника. Резистор R4 регулирует баланс свечения пар цветов. Кроме этого, каждый светодиод имеет индивидуальную зависимость "яркость свечения - сила тока", поэтому в сумме динамика свечения получается своеобразная.
Питается схема от сети переменного тока (можно и от батареи "КРОНА" на 9 В). Конденсатор С6 - балластный, ограничивает ток в обшей цепи до 20–25 мА. Пульсации "выпрямленного тока" сглаживает конденсатор С5 и, благодаря стабилитрону VD3 на мультивибратор подаётся около 8,2В.
О конструкции. Её изготовление следует начать с изготовления светодиодной лампы светильника (рис. 15).

При помощи стеклореза от обломка лампы отделяем отрезок трубки длиной 15–17 см. Торцы (они, как правило, неровные) заматываем изолентой. Согласно рисунку 16 изготавливаем плату-стержень и монтируем на ней светодиоды.

Из пробок от пластиковых бутылок делаем торцевые заглушки для лампы с прорезями под плату. Собираем лампу. Из отрезков корпуса старого фломастера делаем стойки, соединяющие лампу с вертикальным основанием. Соединяем выводы лампы при помощи проводов с основной платой, расположенной в подвале - подставке (рис. 17).

Эскиз платы и её внешний вид представлен на рисунке 18.

В конструкции применены разноцветные яркие светодиоды диаметром 5 мм в прозрачных корпусах красного, салатового, оранжевого и синего свечения (судя по цене - китайского производства). Транзисторы можно использовать любые серии КТ315, диоды серии КД522, КД521, импортные конденсаторы, резисторы МЛТ. Налаживание работы схемы светильника безопаснее производить от лабораторного источника напряжением 9В, монтируя элементы блока питания в последний момент. Вначале парно подбирают резисторы R5, R10, регулируя длительность перехода от одной пары цветов к другой (на фото 2 - центральная картинка) и обратно (6 фаза - такая же, не изображена на фото). Затем выставляют ползунок резистора R4, подбирая пропорции сине-красного и зелёно-оранжевого цветов в крайних фазах. Можно, изменяя соотношение номиналов пар R1, R11 и R2, R13 добиться преобладания в переходных фазах от красновато-оранжевого к синевато-зелёному цвету.
При отсутствии стеклянной трубки в качестве корпуса лампы можно использовать "сантехническую гофру" белого цвета. Это гофрированная тонкостенная пластмассовая труба диаметром около 45–50 мм. Линейные размеры основных элементов конструкции, конечно в этом варианте, придётся пересмотреть.
Кораблик-катамаран, управляемый светом
Эта игрушка предназначена для малых водоёмов со спокойной водой и естественным солнечным освещением. Конструктивно кораблик состоит из двух корпусов-поплавков, соединённых проволочными перемычками с закреплёнными на них печатными платами.
В кормовой части каждого корпуса установлен двигатель (электромотор от виброзвонка сотового телефона) снабжённый винтом. Движением кораблика можно управлять, заставляя его двигаться вперёд, назад или разворачиваться на месте, затеняя для этого соответствующие фототранзисторы. Питание осуществляется от батареи, составленной из двух литиевых дисковых элементов.
Схема управления двигателями показана на рис. 19.

Светочувствительными элементами, реагирующими на интенсивность падающего света, служат фототранзисторы VT1-VT3. Микросхемами таймеров DA1 и DA2 управляют фототранзисторы VT1 и VT2, a VT3 - транзистором VT4. Питание на элементы поступает через геркон SF1. Когда фототранзисторы освещены, их сопротивление мало. Поэтому на управляющем входе Е (вывод 4) таймеров DA1 и DA2 присутствует низкий уровень. Такой же уровень будет и на их выходах таймеров (вывод 3). Транзистор VT3 закрыт. В этом случае питание на двигатели не поступает и кораблик неподвижен.
При затенении фототранзистора VT1 его сопротивление резко увеличивается - на входе Е и выходе таймера DA1 установится высокий уровень и на последовательно включенные двигатели поступит питающее напряжение. Кораблик начнёт движение вперёд. При затенении фототранзистора VT2 состояние таймеров изменится на противоположное и роторы двигателей станут вращаться в другом направлении - кораблик поплывёт назад.
Если свет не попадает на фототранзистор VT3, открытым будет транзистор VT4 и на двигатели поступит питающее напряжение, но разной полярности. Поэтому винты станут вращаться в разные стороны и кораблик разворачивается. Резистор R3 - токоограничивающий.
Применены постоянные резисторы МЛТ, С2-23, конденсаторы - К10-17 В. Транзистор 2SA1267 можно заменить любым из серии КТ3107, фототранзисторы взяты от привода принтера "Роботрон", но подойдут и КТФ102А. Геркон - любой малогабаритный, его включают с помощью малогабаритного магнита от лазерной головки DVD-проигрывателя. Изготовление устройства удобнее начать с изготовления двигателей (рис. 20).

Для них надо применить два одинаковых виброзвонка. Технологии снятия эксцентрика с вала виброзвонка и изготовления гребного винта подробно рассмотрены в указанной выше статье. Из листовой пластмассы толщиной 2 мм изготавливают прямоугольные опоры 1, у каждой их которых есть отверстие для крепления к корпусу корабля и прорезь для приклеивания к U-образной скобе 5 (изготовлена из такой же пластмассы). К скобе приклеивают виброзвонок 2, а на его вал надевают отрезок 3 (ПВХ изоляция тонкого провода), в котором закреплён вал 4 (отрезок тонкой стальной проволоки от скрепки). С другой стороны вала 4 с помощью ещё одного отрезка 6 закреплён винт 7. Готовые двигатели испытывают. При напряжении 1,5…2,5 В на воздухе винты должны быстро вращаться, а каждый двигатель - потреблять ток не более 20…35 мА. Если винты вращаются с разной скоростью - для дальнейшей реализации конструкции это допустимо.
Следующий этап - изготовление плат с перемычками. Большинство элементов монтируют на односторонней монтажной печатной плате (рис. 21) из фольгированного стеклостекстолита толщиной 1,5 мм.

Применены таймеры в корпусах для поверхностного монтажа, их выводы вставляют в пазы и приклеивают к плате. Монтаж проводят с помощью тонкого (0,15…0,3 мм) лужёного провода. На шесть фольгированных площадок с отверстиями выводят питание, выходы и входы Е таймеров. Сверху (рис. 22) навесным монтажом крепят резисторы, конденсаторы, транзистор, фототранзистор VT3 и геркон.