
Отдельные части схемы соединяют между собой с помощью гибких проводов 1. На общем основании 5 находится батарейный отсек 3. Он содержит три элемента типа АА. Кроме этого рядом с ним расположен выключатель SA1 (он виден на рис. 4 - вставлен в корпус шприца).
"Мозг" крепится к основанию 5 посредством двух вертикальных стоек 2. Их торцы жёстко фиксируются секундным клеем к основанию 5 и прозрачному основанию полигона. Стойки удобнее делать из прозрачного оргстекла толщиной 4 мм.
"Глаза" крепятся к части "нос - рот" с помощью пластмассового уголка 4. А затем, получившийся блок приклеивается к основанию 5 и одной из стоек 2 так же с помощью секундного клея. На заключительном этапе производят недостающие электрические соединения с помощью гибких проводов. Затем их фиксируют к элементам конструкции с помощью полосок скотча или изоленты.
Домочадцы, оценив игрушку в действии, задались вопросом: "Кто это?" Одни настаивали, что получился старый- старый дедушка, другие - что пират, и очень нетрезвый. Лично мне он показался неким потерявшимся созданием. Каждый видит по-своему.
Если верить Википедии, то реакция людей на внешний вид "умных машин" весьма неоднозначна. Так в 1978 году японский ученый Масахиро Мори провел опрос, исследуя эмоциональную реакцию человека на внешний вид роботов. Поначалу результаты были ожидаемыми: чем больше робот похож на человека, тем симпатичнее он кажется - но лишь до определённого предела. Наиболее человекоподобные роботы неожиданно оказались неприятны людям. Мелкие несоответствия реальности, вызывали чувство дискомфорта и страха. Неожиданный спад на графике (рис. 11) "симпатии" и был назван "Зловещей долиной". Масахиро Мори обнаружил так же, что анимация или динамичное поведение усиливает и позитивное, и негативное восприятие. К счастью, наша поделка находится далеко слева от "зловещей пропасти".

В заключение описания конструкции хочу предложить ещё один полезный концепт изделия. Дети обычно играют с виброходами на полигонах, например, самодельных (рис. 12).

Эти изделия являются пассивными, т. е. никак не реагируют на движение виброхода, кроме как в образе преграды. Однако, используя магнит и герконы, можно сконструировать "активные полигоны" - такие, где среда будет реагировать на присутствие виброхода. Ну, об этом в следующий раз…
Глава 6
ОПИСАНИЕ ПРАКТИЧЕСКИХ КОНСТРУКЦИЙ
Светодиодная лампада
Конструкцию, о которой пойдёт речь в описании, можно собрать за несколько часов, имея под руками всё необходимое. Устройство имитирует биение пламени лампады или свечи, и может стать "эксклюзивным" подарочным сувениром.
Принцип работы устройства следующий. Два светодиода, заключённые в отрезки полупрозрачных пластиковых трубок, сравнительно быстро вращаются по окружности, образуя в пространстве светящийся усечённый конус. Этот свет падает на экран, на котором формируется вытянутое овальное световое пятно, меняющее форму и ориентацию на экране. В итоге в затемнённом помещении появляется свечение, похожее на пламя горящей лампады.
Устройство содержит собственно светодиодный светильник, а также экран, изготовленный из картона или пластмассы. Схема светильника показана на рис. 1.

Резистором R1 устанавливают частоту вращения вала электродвигателя M1, а резисторами R2 и R3 - яркость свечения светодиодов. Питается устройство от двух гальванических элементов (типа: LR 44, AG13, 357). Подача питающего напряжения осуществляется установкой этих элементов в самодельный держатель, образованный контактами ХТ1 и ХТ2.
Конструкция светильника показана на рис. 2.

Его основа - электродвигатель 2 с номинальным напряжением питания около 6 В (от компьютерного DVD-привода). На валу двигателя закреплен диск подставка 1 диаметром 27 мм, (также от DVD-привода). К нижней масти подставки приклеены несколько резиновых амортизаторов 9, изготовленных из пассика от магнитофона. Остальные детали смонтированы на печатной плате 8. На светодиоды 4 надеты отрезки 3 пластиковой трубки. Из металлических канцелярских скрепок изготовлены держатели 5 (ХТ1) и 6 (ХТ2) гальванических элементов, а также контакты 7, которые припаивают к плате и выводам двигателя.
Чтобы повысить удобство установки элементов питания в держатель, между элементами 10 предварительно размещают дисковый магнит-шайба диаметром 10 мм и толщиной 1 мм (из двигателя вращения дисков компьютерного DVD-привода), который соединяет их в "одно целое".
Чертёж односторонней печатной платы из стеклотекстолита толщиной 1,5 мм показан на рис. 3.

Экран может быть как отдельно стоящий (рис. 4), так и в виде подставки (рис. 5), изготавливают его из тонкого белого пластика или картона.


Светодиоды могут быть разного или одного цвета свечения, здесь есть возможность поэкспериментировать. Вариант свечения показан на рис. 6.

Можно применить светодиоды разного цвета свечения или подключить один из них в другой полярности. В первом варианте пламя лампады может быть двухцветным, а во втором - переключением полярности батареи можно менять цвет пламени на другой.
Налаживание сводится к подборке резисторов R1-R3. Первым устанавливают такой ток через двигатель, чтобы он плавно разгонялся сам или с помощью легкого толчка. Резисторами R2 и R3 устанавливают яркость свечения и цветовой баланс для светодиодов разного цвета свечения.
Светодиодная "кисть" для фризлайта
В продолжение темы фризлайта хочу предложить тебе, читатель, описание ещё одного инструмента для рисования - светодиодной "кисти". С её помощью "изображение" создаётся следующим образом. При открытом затворе фотоаппарата в затемнённом помещение знакомый тебе художник "рисует" в воздухе кистью за предметом или трафаретом (картон или другой непрозрачный материал). В результате на фотографии на тёмном фоне остаётся светлое поле трафарета (рис. 7), или его тень на фоне "закрашенного поля" (рис. 8). "Кистью" можно рисовать и как "карандашом", но только широкими "мазками".


Внешний вид "кисти" показан на рис. 9, а способ фиксации в руке на рис. 10.


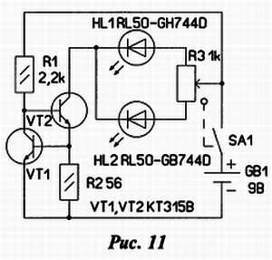
"Кисть" содержит источник света, составленный из двух ярких светодиодов, например зелёного и синего цвета свечения. Они вставлены в отрезок пластиковой матовой трубки для коктейля. Между трубкой и платой установлен светоотражающий пластиковый экран. Он защищает от засветки пальцы при съёмке. Меняя ток через светодиоды, можно менять цвета свечения трубки во время рисования. Схема устройства представлена на рис. 11.

На транзисторах VT1, VT2 собран ограничитель тока. При указанном на схеме номинале резистора R2 суммарный ток через светодиоды не превысит 12… 15 мА. С помощью резистора R3 перераспределяют этот ток между светодиодами, изменяя тем самым цвет "кисти".
Все элементы монтируются на односторонней печатной плате из стеклотекстолита, её чертёж показан на рисунке 12.